Fuel Pump (Magnum 6X6 W968744 and Magnum 6X6 Swedish S968744) Diagram Polaris SWEDISH MAGNUM 425 6X6

Model code
S968744
Year
1996
Sales region
General

Difficulties in parts search?

Parts list
Fuel Pump

Difficulties in parts search?

Fuel Pump
Description OEM Part # Price
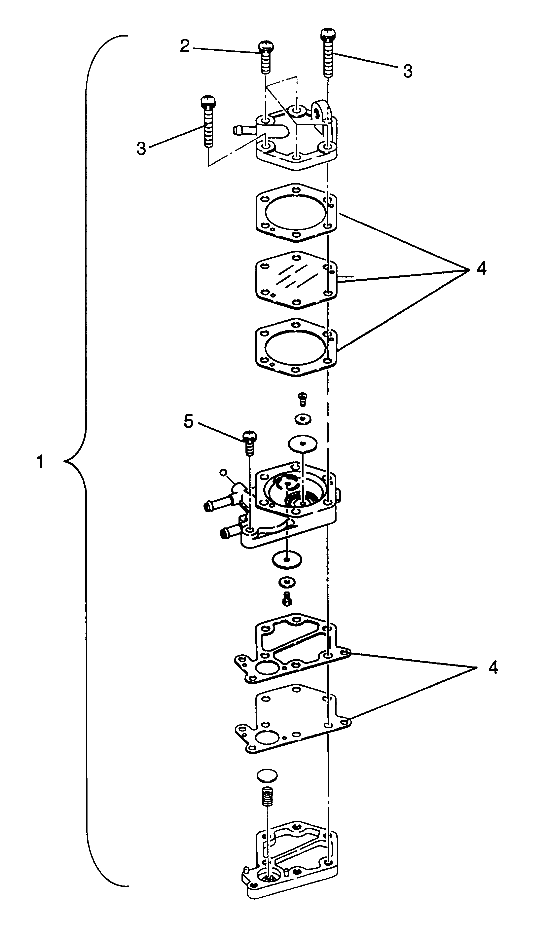
1
1
3085275
Asm., fuel pump

Incl. 2-5;

3085275

2
2

3084591

Asm,,screw & washer

10;

3084591

US $1.89

3
3

3085356

Asm,,screw & washer

3085356

US $3.26

4
4
3084998
Diaphragm, gasket set

3084998

5
5

3084999

Screw&washer asm,

3084999

US $2.98

Fuel Pump (Magnum 6X6 W968744 and Magnum 6X6 Swedish S968744) Diagram Polaris SWEDISH MAGNUM 425 6X6 General 1559231-151495