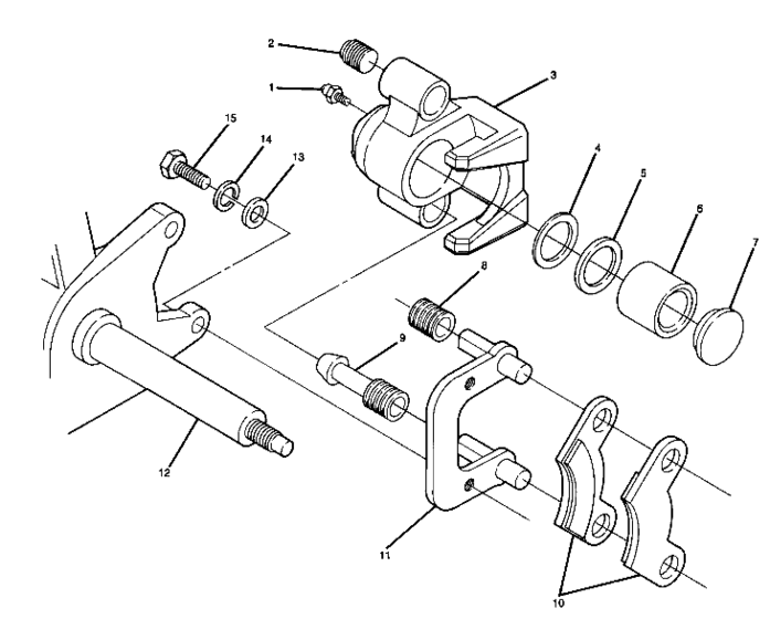
Front brake assembly Diagram Polaris TRAIL BOSS
- Model code
- W898527
- Year
- 1989
- Sales region
- General
Difficulties in parts search?
Parts list
Difficulties in parts search?
| Description | OEM Part # | Price | |||
|---|---|---|---|---|---|
|
1
|
1
7080352 Screw,bleeder (10) |
7080352 |
US $65.60 |
||
|
2
|
2
7515489 Scr-3/8-24x5/16 soc set-y10; |
7515489 |
US $3.75 |
||
|
3
|
3
1930641
Kit,seals,piston&insul.
Incl. 4-7; |
1930641 |
— | ||
| replacement | |||||
|
3
|
3
1930665 Piston & seal,kitIncl. 4-7; |
1930665 |
US $54.15 |
||
|
3
|
3
5130657
Caliper,brake
|
5130657 |
— | ||
| replacement | |||||
|
3
|
3
5131261
Caliper,brake,lh.mach
|
5131261 |
— | ||
|
3
|
3
5130659
Caliper,brake,rh
|
5130659 |
— | ||
| replacement | |||||
|
3
|
3
5131262 Caliper, brake,rh,mach |
5131262 |
US $60.03 |
||
|
7
|
7
1930642 Kit,boot,front brake |
1930642 |
US $11.81 |
||
|
11
|
11
1910037
Mount,caliper asm,
|
1910037 |
— | ||
|
12
|
12
5130655
Support,lh strut&spindle
|
5130655 |
— | ||
| replacement | |||||
|
12
|
12
5130803
Support,lh strut
|
5130803 |
— | ||
|
12
|
12
5130656
Support,rh strut&spindle
|
5130656 |
— | ||
| replacement | |||||
|
12
|
12
5130804
Support,rh strut
|
5130804 |
— | ||
|
13
|
13
7558402 Washer,flat(10)10; |
7558402 |
US $18.70 |
||
|
14
|
14
7552901 Washer,spring lock(10)10; |
7552901 |
US $39.40 |
||
|
15
|
15
7512365 Screw, cap(10)10; |
7512365 |
US $1.49 |
||