Front Master Cylinder Diagram Suzuki LT-F400 KingQuad 400 2WD

Model code
LT-F400K8(P17) K8
Engine Capacity
376
Year
2008
Sales region
Sweden (P17)
Frame
5SAAK48A*87100001~
Power
25 hp
Model
KingQuad 400 2WD

Difficulties in parts search?

Parts list
Front Master Cylinder

Difficulties in parts search?

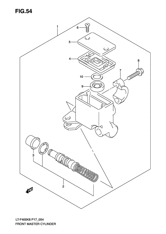
Front Master Cylinder
Description OEM Part # Price
1
1

59600-12D10-000

CYLINDER ASSY,FR MASTER

59600-12D10-000

from US $193.20

2
2

59600-45850-000

PISTON & CUP SET

Piston / cup set

Piston/cup set;

59600-45850-000

from US $40.48

3
3

59666-44300-000

BOOT

59666-44300-000

from US $1.82

4
4

59667-44B00-000

DIAPHRAGM

Diaphragm

59667-44B00-000

from US $8.27

5
5

69669-24A01-000

CAP

69669-24A01-000

from US $8.98

6
6

69689-49300-000

SCREW

Screw, cap

Screw, cap;

69689-49300-000

from US $1.51

7
7

59671-36500-000

HOLDER

59671-36500-000

from US $6.86

8
8

59675-02FA0-000

BOLT(6X22)

59675-02FA0-000

US $6.10

9
9

59748-15400-000

SEPERATOR

59748-15400-000

from US $5.59

10
10

59749-15400-000

PLATE

59749-15400-000

from US $1.62

Front Master Cylinder Diagram Suzuki LT-F400 KingQuad 400 2WD Sweden (P17) 11613620-724383