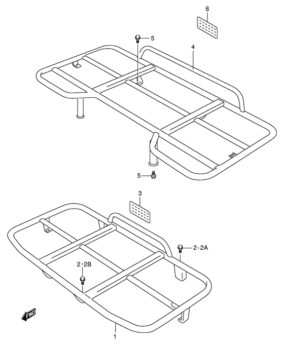
Carrier Diagram Suzuki LT-F500F QuadRunner 500 4WD
- Model code
- LT-F500FW
- Year
- 1998
- Sales region
- US/Canada (E3/E28)
- Frame
- JSAAM41A*W2100001~
- 2WD/4WD/AWD
- 4WD
- Model
- QuadRunner 500 4WD
Difficulties in parts search?
Difficulties in parts search?
| Description | OEM Part # | Price | |||
|---|---|---|---|---|---|
|
1
|
1
46410-09F00-019 CARRIER,FRCarrier, front (black) Carrier, front (black); Model w/x/y |
46410-09F00-019 |
from US $386.40 |
||
|
1
|
1
46410-09F10-019
Carrier, front (black)
Carrier, front (black); Model w/x/y e28 |
46410-09F10-019 |
— | ||
| replacement | |||||
|
1
|
1
46410-09F40-019
CARRIER,FR
Carrier, front (black); Model w/x/y e28 |
46410-09F40-019 |
— | ||
|
1
|
1
46410-09F30-019
CARRIER,FR
Carrier, front (black); Model k1/k2 |
46410-09F30-019 |
— | ||
|
1
|
1
46410-09F40-019
CARRIER,FR
Carrier, front (black); Model k1/k2 e28 |
46410-09F40-019 |
— | ||
|
2
|
2
01550-08203-000
Bolt
Model w/x/y |
01550-08203-000 |
— | ||
| replacements | |||||
|
2
|
2
01550-0820B-000 BoltModel w/x/y |
01550-0820B-000 |
from US $0.91 |
||
|
2
|
2
01550-0820A-000 BOLTBolt, funnel bracket Model w/x/y |
01550-0820A-000 |
from US $0.96 |
||
|
2A
|
2A
09103-08266-000 BOLT(8X20)Bolt, lower Bolt, rear; Model k1/k2 |
09103-08266-000 |
from US $0.91 |
||
|
2B
|
2B
01550-08203-000
Bolt
Bolt, front; Model k1/k2 |
01550-08203-000 |
— | ||
| replacements | |||||
|
2B
|
2B
01550-0820B-000 BoltBolt, front; Model k1/k2 |
01550-0820B-000 |
from US $0.91 |
||
|
2B
|
2B
01550-0820A-000 BOLTBolt, funnel bracket Bolt, front; Model k1/k2 |
01550-0820A-000 |
from US $0.96 |
||
|
3
|
3
68381-19B00-000
LABEL,FR CARRIER WARNING
Label, front carrier; |
68381-19B00-000 |
— | ||
| replacement | |||||
|
3
|
3
68381-19B01-000 Label,front CarrierLabel, front carrier; |
68381-19B01-000 |
from US $3.90 |
||
|
3
|
3
68381-19B20-000 LABEL,WARNING FR CARRIERLabel, front carrier (french); E28 |
68381-19B20-000 |
from US $5.08 |
||
|
4
|
4
46310-09F00-019
Carrier, rear (black)
Carrier, rear (black); Model w/x/y |
46310-09F00-019 |
— | ||
| replacement | |||||
|
4
|
4
46310-09F01-019
CARRIER,RR
Carrier, rear (black); Model w/x/y |
46310-09F01-019 |
— | ||
|
4
|
4
46310-09F01-019
CARRIER,RR
Carrier, rear (black); Model k1/k2 |
46310-09F01-019 |
— | ||
|
4
|
4
46310-09F10-019
Carrier, rear (black)
Carrier, rear (black); Model w/x/y e28 |
46310-09F10-019 |
— | ||
| replacement | |||||
|
4
|
4
46310-09F11-019
CARRIER,RR
Carrier, rear (black); Model w/x/y e28 |
46310-09F11-019 |
— | ||
|
4
|
4
46310-09F11-019
CARRIER,RR
Carrier, rear (black); Model k1/k2 e28 |
46310-09F11-019 |
— | ||
|
5
|
5
01550-08203-000
Bolt
Bolt, rear; |
01550-08203-000 |
— | ||
| replacements | |||||
|
5
|
5
01550-0820B-000 BoltBolt, rear; |
01550-0820B-000 |
from US $0.91 |
||
|
5
|
5
01550-0820A-000 BOLTBolt, funnel bracket Bolt, rear; |
01550-0820A-000 |
from US $0.96 |
||
|
6
|
6
68391-19B00-000
LABEL,RR CARRIER WARNING
Label, rear carrier; |
68391-19B00-000 |
— | ||
| replacement | |||||
|
6
|
6
68391-19B01-000 Label,rear CarrierLabel, rear carrier; |
68391-19B01-000 |
from US $3.90 |
||
|
6
|
6
68391-19B20-000 LABEL,WARNING RR CARRIERLabel, rear carrier (french); E28 |
68391-19B20-000 |
from US $6.11 |
||