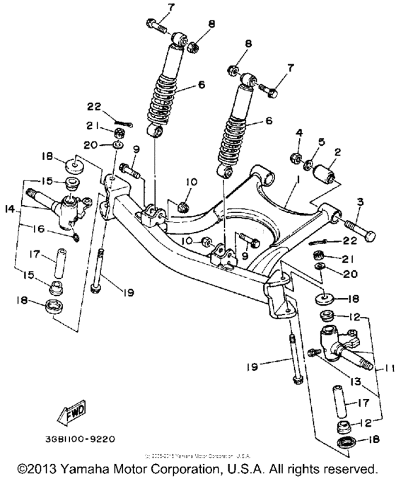
Front suspension-wheel Diagram Yamaha BADGER
- Model code
- YFM80D
- Engine Capacity
- 79
- Year
- 1992
- Sales region
- USA
- 2WD/4WD/AWD
- 2WD
- Model
- Badger
Difficulties in parts search?
Difficulties in parts search?
| Description | OEM Part # | Price | |||
|---|---|---|---|---|---|
|
1
|
1
3GB-23570-00-33 Front Lower Arm Comp. (Left) |
3GB-23570-00-33 |
from US $290.14 |
||
|
2
|
2
307-22123-00-00 Bush 1 |
307-22123-00-00 |
from US $18.42 |
||
|
3
|
3
90101-12498-00 Bolt |
90101-12498-00 |
from US $6.80 |
||
|
4
|
4
90185-12046-00 Nut, Self-Locking |
90185-12046-00 |
from US $6.38 |
||
| replacement | |||||
|
4
|
4
90185-12134-00 Nut, Self-Locking |
90185-12134-00 |
from US $6.30 |
||
|
5
|
5
90201-124E4-00 Washer, Plate |
90201-124E4-00 |
from US $2.41 |
||
|
6
|
6
2HX-23350-00-00 Shock Absorber Assembly |
2HX-23350-00-00 |
from US $164.41 |
||
|
7
|
7
90105-10561-00 Bolt, Flange |
90105-10561-00 |
from US $4.39 |
||
| replacement | |||||
|
7
|
7
90105-10669-00 Bolt, Washer Based(3Yr) |
90105-10669-00 |
from US $4.39 |
||
|
8
|
8
90185-10060-00 Nut, Self-Locking |
90185-10060-00 |
from US $5.24 |
||
|
9
|
9
90105-12460-00 Bolt, Washer Based |
90105-12460-00 |
from US $5.10 |
||
|
10
|
10
90185-12046-00 Nut, Self-Locking |
90185-12046-00 |
from US $6.38 |
||
| replacement | |||||
|
10
|
10
90185-12134-00 Nut, Self-Locking |
90185-12134-00 |
from US $6.30 |
||
|
11
|
11
3GB-23501-10-00 Steering Knuckle Assy (Left) |
3GB-23501-10-00 |
from US $135.68 |
||
|
12
|
12
90381-17067-00 Bush, Solid |
90381-17067-00 |
from US $6.96 |
||
|
13
|
13
93700-06M03-00 Nipple, Grease |
93700-06M03-00 |
from US $2.66 |
||
|
14
|
14
3GB-23502-10-00 Steering Knuckle Assy (Right) |
3GB-23502-10-00 |
from US $135.68 |
||
|
15
|
15
90381-17067-00 Bush, Solid |
90381-17067-00 |
from US $6.96 |
||
|
16
|
16
93700-06M03-00 Nipple, Grease |
93700-06M03-00 |
from US $2.66 |
||
|
17
|
17
3GB-23448-00-00 Spacer |
3GB-23448-00-00 |
from US $16.54 |
||
|
18
|
18
3JN-23517-00-00 Cover, Thrust 1 |
3JN-23517-00-00 |
from US $11.92 |
||
|
19
|
19
90109-104A8-00 Bolt |
90109-104A8-00 |
from US $7.65 |
||
|
20
|
20
90201-08759-00 Washer, Plate |
90201-08759-00 |
from US $1.70 |
||
|
21
|
21
90171-10004-00 Nut, Castle |
90171-10004-00 |
from US $2.41 |
||
| replacement | |||||
|
21
|
21
901-71100-01-00 Nut, Castle |
901-71100-01-00 |
from US $1.66 |
||
|
22
|
22
91490-20020-00 Ybs74-220 Pin,cotter |
91490-20020-00 |
from US $1.56 |
||
| replacement | |||||
|
22
|
22
914-90200-25-00 Pin. Cotter |
914-90200-25-00 |
from US $1.56 |
||