Carburetor Diagram Yamaha BEAR TRACKER
- Model code
- YFM250XN
- Engine Capacity
- 229
- Year
- 2001
- Sales region
- USA
- 2WD/4WD/AWD
- 2WD
- Model
- Bear Tracker
Difficulties in parts search?
Difficulties in parts search?
| Description | OEM Part # | Price | |||
|---|---|---|---|---|---|
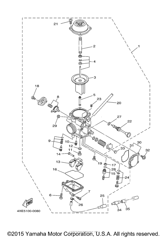
|
1
|
1
4XE-14140-12-00 Carb. Sub Assy |
4XE-14140-12-00 |
US $797 |
||
| replacement | |||||
|
1
|
1
4XE-14140-13-00 Carb. Sub Assy |
4XE-14140-13-00 |
US $1,050.82 |
||
|
2
|
2
4XE-14933-00-00 Spring, Diaphragm |
4XE-14933-00-00 |
from US $7.37 |
||
|
3
|
3
4WU-14940-00-00 Diaphragm Assy |
4WU-14940-00-00 |
from US $204.48 |
||
|
4
|
4
4XE-1490J-00-00 Needle Set |
4XE-1490J-00-00 |
from US $30.87 |
||
|
5
|
5
4WU-14141-42-00 Nozzle, Main |
4WU-14141-42-00 |
US $57.47 |
||
|
6
|
6
98507-04012-00 Screw, Pan Head |
98507-04012-00 |
from US $1.07 |
||
| replacement | |||||
|
6
|
6
98517-04012-00 Screw, Pan Head |
98517-04012-00 |
from US $1.07 |
||
|
7
|
7
12R-14191-00-00 Plug, Drain |
12R-14191-00-00 |
from US $8.64 |
||
|
8
|
8
26H-1490H-00-00 Diaphragm Set 5USA |
26H-1490H-00-00 |
from US $67.01 |
||
|
9
|
9
4RF-14105-00-00 Pilot Screw Set |
4RF-14105-00-00 |
from US $36.40 |
||
|
10
|
10
4G0-14142-42-00 Jet, Pilot ( 42.5) |
4G0-14142-42-00 |
from US $13.83 |
||
| replacement | |||||
|
10
|
10
4G0-14142-42-A0 Jet, Pilot ( 42.5) |
4G0-14142-42-A0 |
from US $13.90 |
||
|
11
|
11
620-14231-19-00 Jet, Main# 95 USA |
620-14231-19-00 |
from US $12.92 |
||
|
12
|
12
137-14153-00-00 Washer,main Jet |
137-14153-00-00 |
from US $2.98 |
||
|
13
|
13
2VA-14185-00-00 Float |
2VA-14185-00-00 |
from US $78.61 |
||
|
14
|
14
537-14186-00-00 Pin, Float |
537-14186-00-00 |
from US $2.13 |
||
|
15
|
15
1UY-14107-20-00 Needle Valve Set |
1UY-14107-20-00 |
from US $47.41 |
||
|
16
|
16
2LN-14147-00-00 O-Ring |
2LN-14147-00-00 |
from US $1.66 |
||
|
17
|
17
1J7-14994-00-00 Net, Filter |
1J7-14994-00-00 |
from US $19.69 |
||
|
18
|
18
1UY-14565-00-00 Screw, Pan Head |
1UY-14565-00-00 |
from US $1.07 |
||
| replacement | |||||
|
18
|
18
98517-04012-00 Screw, Pan Head |
98517-04012-00 |
from US $1.07 |
||
|
19
|
19
2LN-14565-00-00 Screw |
2LN-14565-00-00 |
from US $3.12 |
||
|
20
|
20
2J2-14197-00-00 Hose |
2J2-14197-00-00 |
from US $5.10 |
||
| replacement | |||||
|
20
|
20
904-45086-84-00 Hose (L340) |
904-45086-84-00 |
from US $5.10 |
||
|
21
|
21
98507-04008-00 Screw, Pan Head |
98507-04008-00 |
from US $1.07 |
||
|
22
|
22
4KB-14993-00-00 Plunger, Starter |
4KB-14993-00-00 |
US $112.30 |
||
|
23
|
23
2A2-14172-16-00 Pilot Jet, Air (1.6)1.6 USA |
2A2-14172-16-00 |
from US $12.60 |
||
|
24
|
24
2VA-14103-00-00 Throttle Screw Set |
2VA-14103-00-00 |
from US $28.76 |
||
|
25
|
25
4KB-14193-20-00 Pipe |
4KB-14193-20-00 |
from US $30.18 |
||
|
26
|
26
4XE-14937-00-00 Clip |
4XE-14937-00-00 |
US $16.67 |
||
|
27
|
27
4KB-14285-00-00 Washer |
4KB-14285-00-00 |
US $2.54 |
||
|
28
|
28
22U-14952-00-00 Washer |
22U-14952-00-00 |
from US $2.13 |
||
|
29
|
29
522-14161-00-00 Nut, Cable Adjusting |
522-14161-00-00 |
from US $3.68 |
||
|
30
|
30
4XE-14480-00-00 Cover Sub Assy |
4XE-14480-00-00 |
US $16.42 |
||
|
31
|
31
4KB-14147-00-00 O-Ring |
4KB-14147-00-00 |
from US $14.17 |
||
|
32
|
32
1UY-14565-00-00 Screw, Pan Head |
1UY-14565-00-00 |
from US $1.07 |
||
| replacement | |||||
|
32
|
32
98517-04012-00 Screw, Pan Head |
98517-04012-00 |
from US $1.07 |
||
|
33
|
33
1UY-14155-00-00 Guide, Cable |
1UY-14155-00-00 |
from US $9.49 |
||
|
34
|
34
24W-14193-00-00 Pipe |
24W-14193-00-00 |
from US $11.58 |
||
|
35
|
35
91A20-07010-00 Hose |
91A20-07010-00 |
from US $3.97 |
||
| replacement | |||||
|
35
|
35
91A21-07020-00 Hose |
91A21-07020-00 |
from US $3.97 |
||