Carburetor Diagram Yamaha BREEZE
- Model code
- YFA1E
- Engine Capacity
- 124
- Year
- 1993
- Sales region
- USA
- Power
- 8,6 hp
- Stroke (2-stroke or 4-stroke)
- 4 stroke
- 2WD/4WD/AWD
- 2WD
- Model
- Breeze
Difficulties in parts search?
Difficulties in parts search?
| Description | OEM Part # | Price | |||
|---|---|---|---|---|---|
|
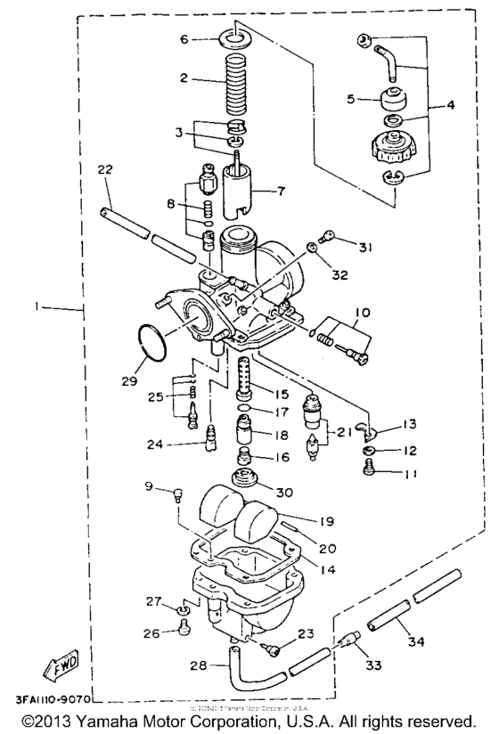
1
|
1
3FA-14101-01-00
Carburetor Assy 1
|
3FA-14101-01-00 |
— | ||
| replacement | |||||
|
1
|
1
3FA-14101-02-00
Carburetor Assy 1
|
3FA-14101-02-00 |
— | ||
|
2
|
2
21V-14131-00-00 Spring, Throttle Valve |
21V-14131-00-00 |
US $12.31 |
||
|
3
|
3
3FA-1490J-00-00 Needle Set |
3FA-1490J-00-00 |
from US $13.52 |
||
|
4
|
4
10X-14106-00-00 Cable Adjust Screw Set |
10X-14106-00-00 |
from US $27.34 |
||
|
5
|
5
3X3-14169-00-00 Cap |
3X3-14169-00-00 |
from US $13.60 |
||
|
6
|
6
4U5-14126-00-00 Gasket |
4U5-14126-00-00 |
from US $12.47 |
||
|
7
|
7
3FA-14112-25-00 Valve, Throttle 1 |
3FA-14112-25-00 |
from US $50.84 |
||
|
8
|
8
3FA-1410A-00-00 Starter Set |
3FA-1410A-00-00 |
from US $64.66 |
||
| replacement | |||||
|
8
|
8
21V-1410A-00-00 Starter Plunger Set |
21V-1410A-00-00 |
from US $64.66 |
||
|
9
|
9
18M-14144-09-00 Jet, Starter |
18M-14144-09-00 |
from US $9.14 |
||
|
10
|
10
18G-14103-00-00 Throttle Screw Set |
18G-14103-00-00 |
from US $14.31 |
||
|
11
|
11
98580-03008-00 Screw, Pan Head |
98580-03008-00 |
from US $1.21 |
||
|
12
|
12
92990-03100-00 Washer, Spring |
92990-03100-00 |
from US $1.21 |
||
|
13
|
13
21V-14146-00-00 Plate |
21V-14146-00-00 |
from US $6.09 |
||
|
14
|
14
24W-14184-00-00 Gasket, Float Chamber |
24W-14184-00-00 |
from US $4.96 |
||
|
15
|
15
21V-14141-26-00 Nozzle, Main |
21V-14141-26-00 |
from US $39.51 |
||
|
16
|
16
620-1423A-67-00 Jet, Main |
620-1423A-67-00 |
from US $11.95 |
||
|
17
|
17
583-14561-00-00 O-Ring |
583-14561-00-00 |
from US $2.66 |
||
|
18
|
18
3FA-14148-00-00 Pipe |
3FA-14148-00-00 |
from US $23.80 |
||
|
19
|
19
21V-14185-00-00 Float |
21V-14185-00-00 |
from US $34.85 |
||
|
20
|
20
127-14186-00-00 Pin, Float |
127-14186-00-00 |
from US $2.98 |
||
|
21
|
21
21V-14190-18-00 Needle Valve Assy |
21V-14190-18-00 |
from US $39.02 |
||
| replacement | |||||
|
21
|
21
5HH-14190-18-00 Needle Valve Assy |
5HH-14190-18-00 |
from US $35.38 |
||
|
22
|
22
3FA-14197-00-00 Pipe |
3FA-14197-00-00 |
from US $23.33 |
||
| replacement | |||||
|
22
|
22
26H-14197-01-00 Pipe |
26H-14197-01-00 |
from US $8.28 |
||
|
23
|
23
12R-14191-00-00 Plug, Drain |
12R-14191-00-00 |
from US $8.64 |
||
|
24
|
24
1NT-14142-12-00 Jet, Pilot (# 12.5)# 12.5 |
1NT-14142-12-00 |
from US $12.65 |
||
|
25
|
25
21V-14105-00-00 Pilot Screw Set |
21V-14105-00-00 |
from US $18.23 |
||
|
26
|
26
985-03040-14-00
Screw, Pan Head
|
985-03040-14-00 |
— | ||
| replacement | |||||
|
26
|
26
98580-04014-00 Screw, Pan Head |
98580-04014-00 |
from US $1.42 |
||
|
27
|
27
929-01041-00-00
Washer, Spring
|
929-01041-00-00 |
— | ||
| replacement | |||||
|
27
|
27
92990-04100-00 Washer, Spring |
92990-04100-00 |
from US $1.21 |
||
|
28
|
28
904-45084-E3-00
Hose (L1500)
|
904-45084-E3-00 |
— | ||
| replacement | |||||
|
28
|
28
90445-084J0-00 Pipe |
90445-084J0-00 |
from US $8.28 |
||
|
29
|
29
24W-14147-00-00 O-Ring |
24W-14147-00-00 |
from US $4.53 |
||
|
30
|
30
5V7-14153-00-00 Washer, Main Jet |
5V7-14153-00-00 |
from US $9.92 |
||
|
31
|
31
985-80060-08-00
Screw, Pan Head
|
985-80060-08-00 |
— | ||
| replacement | |||||
|
31
|
31
97885-06008-00 Screw, Pan Head |
97885-06008-00 |
from US $1.56 |
||
|
32
|
32
59V-14962-00-00 Washer |
59V-14962-00-00 |
from US $2.55 |
||
|
33
|
33
24W-14193-00-00 Pipe |
24W-14193-00-00 |
from US $11.58 |
||
|
34
|
34
91A20-07010-00 Hose |
91A20-07010-00 |
from US $3.97 |
||
| replacement | |||||
|
34
|
34
91A21-07020-00 Hose |
91A21-07020-00 |
from US $3.97 |
||