Front fender Diagram Yamaha BREEZE
- Model code
- YFA1F
- Engine Capacity
- 124
- Year
- 1994
- Sales region
- USA
- Power
- 8,6 hp
- Stroke (2-stroke or 4-stroke)
- 4 stroke
- 2WD/4WD/AWD
- 2WD
- Model
- Breeze
Difficulties in parts search?
Difficulties in parts search?
| Description | OEM Part # | Price | |||
|---|---|---|---|---|---|
|
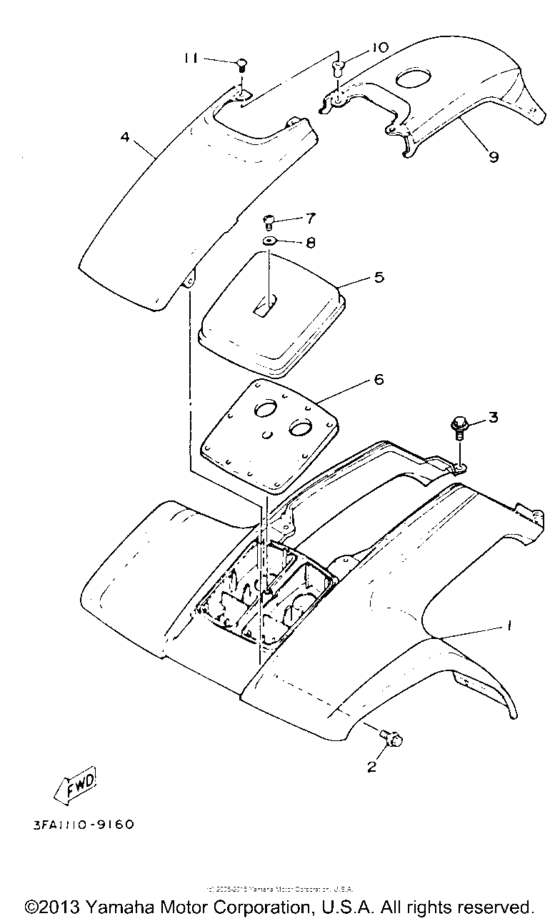
1
|
1
3FA-21511-10-00
Fender, Front
|
3FA-21511-10-00 |
— | ||
| replacements | |||||
|
1
|
1
3FA-W215D-11-00
Front Fender Comp
|
3FA-W215D-11-00 |
— | ||
|
1
|
1
3FA-W2151-10-00
New Genuine Part
|
3FA-W2151-10-00 |
— | ||
|
2
|
2
901-19060-56-00
Bolt, With Washer
|
901-19060-56-00 |
— | ||
| replacements | |||||
|
2
|
2
90119-06152-00 Bolt, With Washer |
90119-06152-00 |
from US $1.35 |
||
|
2
|
2
97017-06016-00 Bolt |
97017-06016-00 |
from US $1.21 |
||
|
3
|
3
90119-06063-00 Bolt, With Washer (10V) |
90119-06063-00 |
from US $1.70 |
||
|
4
|
4
3FA-23391-40-00
Panel, Front
|
3FA-23391-40-00 |
— | ||
|
5
|
5
3FA-14422-00-00 Cap, Cleaner Case 2 |
3FA-14422-00-00 |
from US $27.54 |
||
| replacement | |||||
|
5
|
5
3FA-14422-10-00 Cap, Cleaner Case 2 |
3FA-14422-10-00 |
from US $36.79 |
||
|
6
|
6
3FA-14461-00-00 Element, Air Cleaner 2 |
3FA-14461-00-00 |
from US $12.61 |
||
|
7
|
7
98511-05020-00 Screw, Pan Head(4Cu) |
98511-05020-00 |
from US $1.84 |
||
| replacement | |||||
|
7
|
7
98517-05020-00 Screw, Pan Head |
98517-05020-00 |
from US $1.34 |
||
|
8
|
8
929-01056-00-00
Washer
|
929-01056-00-00 |
— | ||
| replacements | |||||
|
8
|
8
92990-05600-00 Washer, Plate |
92990-05600-00 |
from US $1.07 |
||
|
8
|
8
92907-05600-00 Washer, Plate |
92907-05600-00 |
from US $1.07 |
||
|
9
|
9
3FA-2171A-40-00
Cover, Top
|
3FA-2171A-40-00 |
— | ||
|
10
|
10
90179-05525-00 Nut |
90179-05525-00 |
from US $7.37 |
||
|
11
|
11
90154-05052-00 Screw, Binding |
90154-05052-00 |
from US $1.70 |
||
| replacement | |||||
|
11
|
11
90154-05011-00 Screw, Binding |
90154-05011-00 |
from US $1.70 |
||