Starting motor Diagram Yamaha GRIZZLY 700 Grizzly 700 EPS Ducks Unlimited
- Model code
- 3B48
- Engine Capacity
- 700
- Year
- 2007
- Sales region
- USA
- Базовая модель
- YFM7FGPDUW
- Colour
- Pastel Deep Green(Max4)
- Power
- 47 hp
- Stroke (2-stroke or 4-stroke)
- 4 stroke
- 2WD/4WD/AWD
- 4WD
- Model
- Grizzly 700 EPS Hunter
Difficulties in parts search?
Difficulties in parts search?
| Description | OEM Part # | Price | |||
|---|---|---|---|---|---|
|
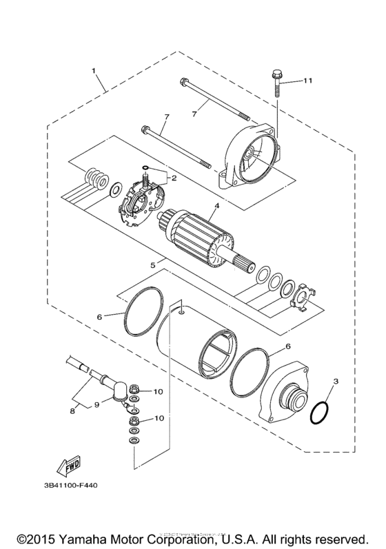
1
|
1
1S3-81890-00-00 Motor Assy |
1S3-81890-00-00 |
from US $302.27 |
||
|
2
|
2
3AJ-81801-00-00 Brush Set |
3AJ-81801-00-00 |
from US $59.55 |
||
|
3
|
3
1FK-81847-00-00
O-Ring
|
1FK-81847-00-00 |
— | ||
| replacement | |||||
|
3
|
3
932-10242-35-00 O-Ring |
932-10242-35-00 |
from US $2.36 |
||
|
4
|
4
4NK-81850-00-00 Armature Assy |
4NK-81850-00-00 |
from US $274.34 |
||
|
5
|
5
3KS-81809-00-00 Washer Kit |
3KS-81809-00-00 |
from US $6.89 |
||
|
6
|
6
11H-81844-00-00
Gasket
|
11H-81844-00-00 |
— | ||
| replacement | |||||
|
6
|
6
35C-81844-00-00 Gasket |
35C-81844-00-00 |
from US $20.97 |
||
|
7
|
7
3AJ-81826-00-00 Bolt |
3AJ-81826-00-00 |
from US $12.61 |
||
|
8
|
8
3B4-81815-00-00 Cord, Starter Motor |
3B4-81815-00-00 |
from US $64.39 |
||
|
9
|
9
4G0-81871-00-00 Cap |
4G0-81871-00-00 |
US $31.73 |
||
| replacement | |||||
|
9
|
9
5H0-81871-00-00
Cover Terminal
|
5H0-81871-00-00 |
— | ||
|
10
|
10
4XV-8182A-00-00 Nut |
4XV-8182A-00-00 |
from US $1.98 |
||
|
11
|
11
95022-06030-00 Bolt, Flange |
95022-06030-00 |
from US $1.42 |
||