Meter 1 Diagram Yamaha KODIAK 400 Kodiak 400 4WD
- Model code
- 4SHD
- Engine Capacity
- 401
- Year
- 1998
- Sales region
- France (010)
- Colour
- Aroma Green (AGE; 00L4)
- Stroke (2-stroke or 4-stroke)
- 4 stroke
- 2WD/4WD/AWD
- 4WD
- Model
- Kodiak 400 4WD
Difficulties in parts search?
Difficulties in parts search?
| Description | OEM Part # | Price | |||
|---|---|---|---|---|---|
|
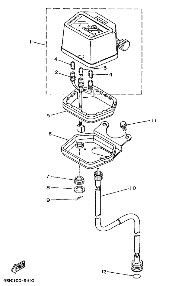
01
|
01
4SH-83570-00-00 Speedometer Assy |
4SH-83570-00-00 |
from US $332.64 |
||
|
02
|
02
4SH-83536-00-00 Socket, Meter |
4SH-83536-00-00 |
from US $38.13 |
||
|
03
|
03
4R0-83517-00-00 Bulb (12V-3.4W T10) |
4R0-83517-00-00 |
US $4.25 |
||
| replacements | |||||
|
03
|
03
4G1-84744-00-XX
Bulb (12V-3.4W T10)
|
4G1-84744-00-XX |
— | ||
|
03
|
03
4G1-84744-00-00 Bulb (12V-3.4W T10) |
4G1-84744-00-00 |
US $4.04 |
||
|
04
|
04
3GM-83517-00-00 Bulb (12V-1.7W) |
3GM-83517-00-00 |
from US $3.26 |
||
|
05
|
05
5Y0-83513-00-00 Damper |
5Y0-83513-00-00 |
from US $26.35 |
||
|
06
|
06
4GB-83519-00-00 Bracket, Meter |
4GB-83519-00-00 |
from US $43.45 |
||
|
07
|
07
1M1-83526-00-00
Damper 2
|
1M1-83526-00-00 |
— | ||
| replacement | |||||
|
07
|
07
1M1-83526-01-00 Damper 2 |
1M1-83526-01-00 |
from US $5.72 |
||
|
08
|
08
4X8-83524-00-00 Washer, Special |
4X8-83524-00-00 |
from US $2.27 |
||
|
09
|
09
437-83525-00-00 Clip |
437-83525-00-00 |
US $1.84 |
||
| replacement | |||||
|
09
|
09
90468-10050-00 Clip (156-83525-00) |
90468-10050-00 |
from US $1.84 |
||
|
10
|
10
4SH-83550-01-00 Speedometer Cable Assembly |
4SH-83550-01-00 |
US $58.20 |
||
|
11
|
11
958-07060-10-00
Bolt, Flange
|
958-07060-10-00 |
— | ||
| replacement | |||||
|
11
|
11
95817-06010-00 Bolt, Flange |
95817-06010-00 |
from US $1.07 |
||
|
12
|
12
932-10141-04-00
O-Ring
|
932-10141-04-00 |
— | ||
| replacement | |||||
|
12
|
12
93210-14579-00 O-Ring (26H) |
93210-14579-00 |
from US $1.28 |
||