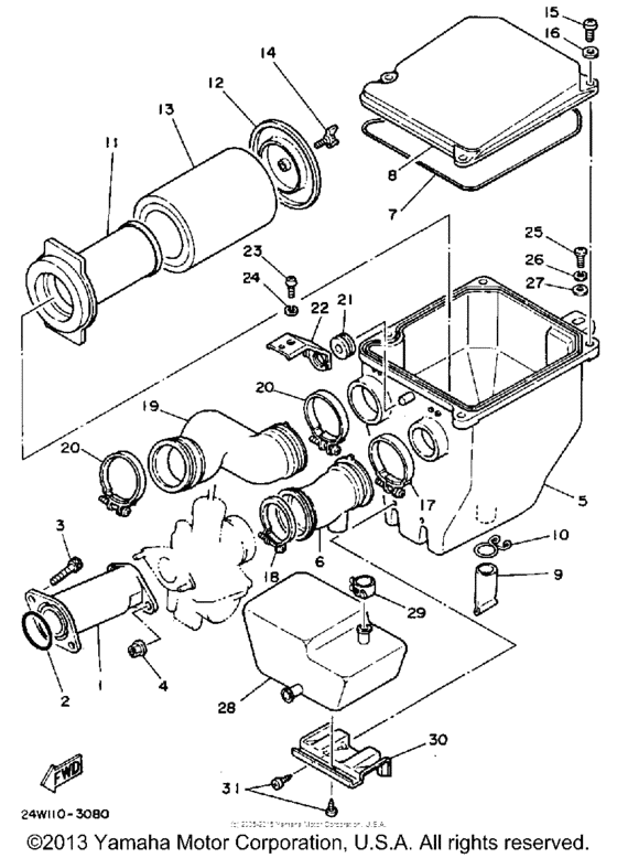
Air filter Diagram Yamaha TRI-MOTO Tri-Moto 200
- Model code
- YTM200L
- Engine Capacity
- 200
- Year
- 1984
- Sales region
- USA
- Stroke (2-stroke or 4-stroke)
- 4 stroke
- 2WD/4WD/AWD
- 2WD
- Model
- Tri-Moto 200
Difficulties in parts search?
Difficulties in parts search?
| Description | OEM Part # | Price | |||
|---|---|---|---|---|---|
|
1
|
1
24W-13586-02-00 Joint, Carburetor 1 |
24W-13586-02-00 |
from US $134.71 |
||
|
2
|
2
93210-35537-00 O-Ring |
93210-35537-00 |
from US $6.94 |
||
| replacement | |||||
|
2
|
2
93210-35803-00 O-Ring |
93210-35803-00 |
from US $1.70 |
||
|
3
|
3
913-16060-20-00
Bolt
|
913-16060-20-00 |
— | ||
| replacement | |||||
|
3
|
3
91317-06020-00 Bolt |
91317-06020-00 |
from US $1.07 |
||
|
4
|
4
957-01065-00-00
Nut, Flange(34M)
|
957-01065-00-00 |
— | ||
| replacement | |||||
|
4
|
4
95780-06500-00 Nut, Flange |
95780-06500-00 |
from US $1.13 |
||
|
5
|
5
21V-14411-00-00
Case, Air Cleaner 1
|
21V-14411-00-00 |
— | ||
|
6
|
6
24W-14453-00-00
Joint, Air Clnr 1
|
24W-14453-00-00 |
— | ||
|
7
|
7
1VJ-14462-00-00 Seal |
1VJ-14462-00-00 |
from US $7.62 |
||
|
8
|
8
21V-14412-00-00 Cap, Cleaner Case 1 |
21V-14412-00-00 |
from US $13.72 |
||
| replacement | |||||
|
8
|
8
21V-14412-01-00 Cap, Cleaner Case 1 |
21V-14412-01-00 |
from US $15.44 |
||
|
9
|
9
59V-14457-00-00 Seal |
59V-14457-00-00 |
from US $2.66 |
||
|
10
|
10
904-67220-80-00 Clip |
904-67220-80-00 |
from US $1.56 |
||
|
11
|
11
21V-14458-01-00 Guide, Element |
21V-14458-01-00 |
US $107.60 |
||
|
12
|
12
21V-14468-00-00
Plate, Element Ftng
|
21V-14468-00-00 |
— | ||
| replacement | |||||
|
12
|
12
999-99999-99-00
Not Available
|
999-99999-99-00 |
— | ||
|
13
|
13
21V-14451-00-00
Element, Air Cleaner (Std)
|
21V-14451-00-00 |
— | ||
| replacement | |||||
|
13
|
13
21V-14451-01-00 ELEMENT, AIR CLEANER |
21V-14451-01-00 |
US $22.46 |
||
|
13
|
13
21V-14450-90-00
Element Assembly Cleaner
|
21V-14450-90-00 |
— | ||
|
14
|
14
90122-05018-00 Bolt, Wing |
90122-05018-00 |
from US $2.83 |
||
| replacement | |||||
|
14
|
14
90122-05022-00 Bolt, Wing |
90122-05022-00 |
from US $2.83 |
||
|
15
|
15
985-80050-16-00
Screw, Pan Head
|
985-80050-16-00 |
— | ||
| replacement | |||||
|
15
|
15
97885-05016-00 Screw, Pan Head |
97885-05016-00 |
from US $3.12 |
||
|
16
|
16
929-01056-00-00
Washer
|
929-01056-00-00 |
— | ||
| replacements | |||||
|
16
|
16
92990-05600-00 Washer, Plate |
92990-05600-00 |
from US $1.07 |
||
|
16
|
16
92907-05600-00 Washer, Plate |
92907-05600-00 |
from US $1.07 |
||
|
17
|
17
90460-49058-00 Clamp, Hose |
90460-49058-00 |
from US $2.98 |
||
|
18
|
18
90460-46206-00 Hose Clamp Assy |
90460-46206-00 |
from US $6.66 |
||
| replacement | |||||
|
18
|
18
904-50470-02-00 Hose Clamp Assy |
904-50470-02-00 |
from US $6.66 |
||
|
19
|
19
21V-14437-01-00
Duct
|
21V-14437-01-00 |
— | ||
|
20
|
20
90460-49058-00 Clamp, Hose |
90460-49058-00 |
from US $2.98 |
||
|
21
|
21
90480-16233-00 Grommet (2N3) |
90480-16233-00 |
from US $1.98 |
||
|
22
|
22
21V-14499-00-00
Stay 2
|
21V-14499-00-00 |
— | ||
|
23
|
23
985-80060-12-00
Screw, Pan Head
|
985-80060-12-00 |
— | ||
| replacement | |||||
|
23
|
23
97885-06012-00 Screw, Pan Head |
97885-06012-00 |
from US $1.56 |
||
|
24
|
24
929-95061-00-00 Washer, Spring |
929-95061-00-00 |
from US $0.99 |
||
|
25
|
25
98580-06020-00 Screw, Pan Head |
98580-06020-00 |
from US $1.07 |
||
|
26
|
26
929-95061-00-00 Washer, Spring |
929-95061-00-00 |
from US $0.99 |
||
|
27
|
27
90201-06067-00 Washer, Plate |
90201-06067-00 |
from US $1.28 |
||
| replacement | |||||
|
27
|
27
90201-06380-00 Washer Plain |
90201-06380-00 |
from US $0.86 |
||
|
28
|
28
21V-13581-00-00
Chamber, Air
|
21V-13581-00-00 |
— | ||
|
29
|
29
90467-19051-00 Clip |
90467-19051-00 |
from US $1.35 |
||
|
30
|
30
21V-14493-00-00
Stay 1
YTM200L |
21V-14493-00-00 |
— | ||
|
31
|
31
97780-50612-00 Screw, Tapping |
97780-50612-00 |
from US $1.98 |
||