Shift rod ((DF115AZ E40)) Diagram Suzuki DF100A TL/X
- Year
- 2013
- Model
- DF100A
- Year
- 2013
- Engine
- 10003F-310001~
- Stroke (2-stroke or 4-stroke)
- 4 stroke
- Power
- 100
- Sales region
- General Export No.1/Costa Rica (P01/P40)
- Colour
- Shadow Black Metallic (0EP)
Difficulties in parts search?
Difficulties in parts search?
| Description | OEM Part # | Price | |||
|---|---|---|---|---|---|
|
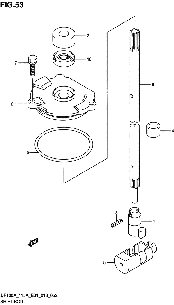
1
|
1
25131-92J00-000
YOKE,SHIFTER
|
25131-92J00-000 |
— | ||
| replacement | |||||
|
1
|
1
25131-92J01-000 Yoke,shifter |
25131-92J01-000 |
US $36.80 |
||
|
2
|
2
25141-92J00-000
Housing, shift rod guide
|
25141-92J00-000 |
— | ||
| replacement | |||||
|
2
|
2
25141-92J01-000 HOUSING,SHIFT ROD GUIDE |
25141-92J01-000 |
US $27.42 |
||
|
3
|
3
25222-92J00-000
COVER,SHIFT GUIDE HSG OIL SEAL
|
25222-92J00-000 |
— | ||
| replacement | |||||
|
3
|
3
25222-92J01-000 Cover,shift Guide Hsg Oil Seal |
25222-92J01-000 |
US $5.41 |
||
|
4
|
4
25232-90J00-000 MAGNETO,GEAR CASE |
25232-90J00-000 |
US $5.02 |
||
|
5
|
5
25321-92J20-000 SLIDER,SHIFT HORIZONTAL |
25321-92J20-000 |
US $72.13 |
||
|
6
|
6
25111-92J00-000 ROD,SHIFT(L)W/TRANSOM(L) |
25111-92J00-000 |
US $68.45 |
||
|
6
|
6
25111-92J10-000 ROD,SHIFT(X)W/TRANSOM(X) |
25111-92J10-000 |
US $70.66 |
||
|
7
|
7
29116-93J00-000 Bolt |
29116-93J00-000 |
US $1.60 |
||
|
8
|
8
09205-04014-000 PIN,SPRING(4X14) |
09205-04014-000 |
from US $1.91 |
||
|
9
|
9
09280-69001-000 O RING(D:3.1,ID:68.5)O ring (d:3.1,id:68.5) |
09280-69001-000 |
from US $1.49 |
||
|
10
|
10
09283-10011-000 SEAL,OIL(10X22X8)Seal, dust |
09283-10011-000 |
from US $4.80 |
||