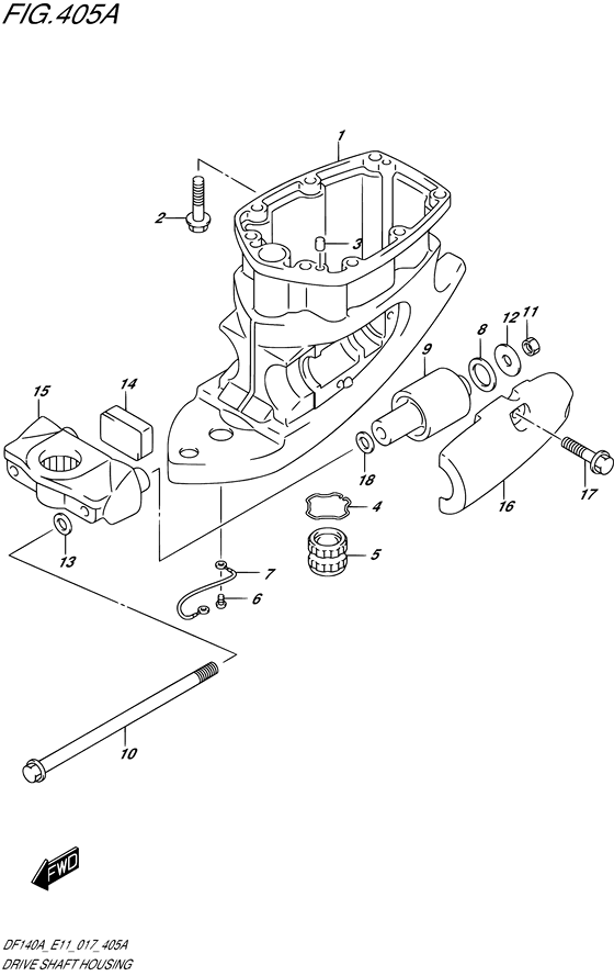
Drive shaft housing ((DF100AT E11)) Diagram Suzuki DF100A TL/X
- Year
- 2017
- Model
- DF100A
- Year
- 2017
- Engine
- 10003F-710001~
- Stroke (2-stroke or 4-stroke)
- 4 stroke
- Power
- 100
- Sales region
- General Export (P11)
- Colour
- Pearl Nebular Black (YAY)
Difficulties in parts search?
Difficulties in parts search?
| Description | OEM Part # | Price | |||
|---|---|---|---|---|---|
|
1
|
1
52111-90J02-YAY HOUSING,DRIVE SHAFT(L)(BLACK)W/TRANSOM(L) |
52111-90J02-YAY |
US $552.64 |
||
|
1
|
1
52111-90J12-YAY HOUSING,DRIVE SHAFT(X)(BLACK)W/TRANSOM(X) |
52111-90J12-YAY |
US $661.76 |
||
|
2
|
2
09116-10181-000 BOLT(10X44) |
09116-10181-000 |
US $46.40 |
||
|
3
|
3
09202-08006-000 PIN(8X12)Pin, knock |
09202-08006-000 |
from US $1.96 |
||
|
4
|
4
09387-45001-000 RINGCirclip W/TRANSOM(X) |
09387-45001-000 |
from US $1.82 |
||
|
5
|
5
57130-92J01-000 BUSH,DRIVE SHAFTW/TRANSOM(X) |
57130-92J01-000 |
US $57.01 |
||
|
6
|
6
09125-06063-000 SCREW(6X10) |
09125-06063-000 |
from US $1.28 |
||
|
7
|
7
36895-87D10-000 LEAD(L:310)Lead (swivel to hsg) |
36895-87D10-000 |
from US $8.98 |
||
|
8
|
8
54121-87D00-000
STOPPER
|
54121-87D00-000 |
— | ||
| replacement | |||||
|
8
|
8
54121-87D01-000 DAMPER,REVERSE STOPPER LOWER |
54121-87D01-000 |
US $2.43 |
||
|
9
|
9
54160-90J20-000 MOUNT,LWR |
54160-90J20-000 |
from US $62.32 |
||
|
10
|
10
54166-90J11-000 BOLT,LWR MOUNT |
54166-90J11-000 |
US $29.65 |
||
|
11
|
11
09159-12014-000 NUT |
09159-12014-000 |
from US $2.32 |
||
|
12
|
12
09160-12112-000 WASHER(12X40X3) |
09160-12112-000 |
from US $2.43 |
||
|
13
|
13
54114-90J01-000
WASHER,MT BOLT(12.5X22X3.0)
|
54114-90J01-000 |
— | ||
| replacement | |||||
|
13
|
13
54114-90J10-000 WASHER,UPPER MOUNT BOLT |
54114-90J10-000 |
US $8.83 |
||
|
14
|
14
54151-90J00-000 MOUNT,LWR THRUST |
54151-90J00-000 |
US $6.69 |
||
|
15
|
15
54211-90J01-YAY BRACKET,LOWER MOUNT |
54211-90J01-YAY |
from US $85.95 |
||
|
16
|
16
54221-90J02-YAY COVER,LOWER MOUNT |
54221-90J02-YAY |
US $68.82 |
||
|
17
|
17
09116-10181-000 BOLT(10X44) |
09116-10181-000 |
US $46.40 |
||
|
18
|
18
09160-12113-000 WASHER(12.5X30X2.5) |
09160-12113-000 |
from US $1.98 |
||