Opt:remote control ((DF115AST E03)) Diagram Suzuki DF100A TL/X

Year
2017
Model
DF100A
Year
2017
Engine
10003F-710001~
Stroke (2-stroke or 4-stroke)
4 stroke
Power
100
Sales region
General Export (P11)
Colour
Pearl Nebular Black (YAY)

Difficulties in parts search?

Parts list
Opt:remote control

Difficulties in parts search?

Opt:remote control
Description OEM Part # Price
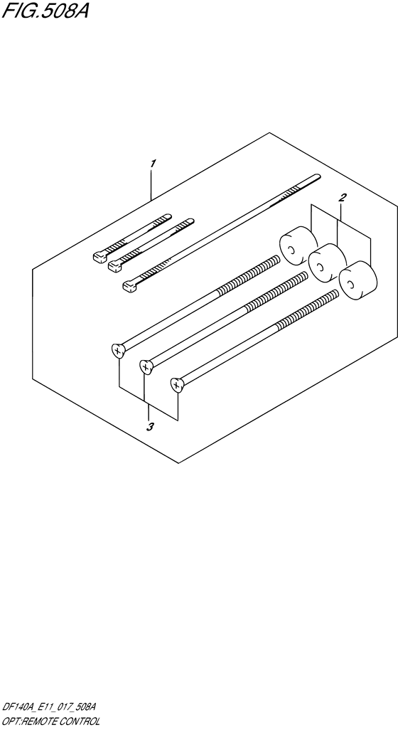
1
1
67140-95600-000
ATTACHMENT KIT,TWIN REMOCON

67140-95600-000

replacement
1
1

67140-95601-000

Attachment Kit,twin Remocon

67140-95601-000

US $40.80

2
2

67294-95600-000

SPACER

67294-95600-000

US $4.64

3
3

67296-95621-000

SCREW(L:165)

67296-95621-000

US $8.98

Opt:remote control ((DF115AST E03)) Diagram Suzuki DF100A TL/X Pearl Nebular Black (YAY) General Export (P11) 17007558-864639