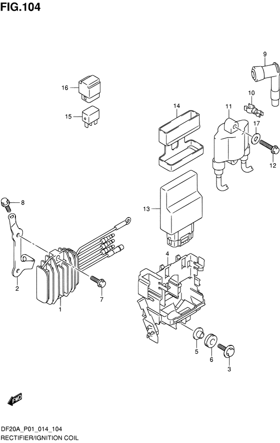
Rectifier/ignition coil ((DF20A P01)) Diagram Suzuki DF20A S/L; RS/L; T(H)S/L

Year
2014
Model
DF20A
Year
2014
Engine
02002F-410001~
Stroke (2-stroke or 4-stroke)
4 stroke
Power
20
Sales region
General Export No.1 (P01)
Colour
Shadow Black Metallic (0EP)

Difficulties in parts search?

Parts list
Rectifier/ignition coil

Difficulties in parts search?

Rectifier/ignition coil
Description OEM Part # Price
1
1
32800-89L00-000
RECTIFIER & REGULATOR ASSY

W/ELECTRIC STARTER

32800-89L00-000

replacement
1
1
32800-89L01-000
RECTIFIER & REGULATOR ASSY

W/ELECTRIC STARTER

32800-89L01-000

2
2

32815-89L00-000

BRACKET,RECTIFIER

W/ELECTRIC STARTER

32815-89L00-000

US $10.08

3
3

09116-06196-000

BOLT(6X20)

09116-06196-000

US $12.50

4
4
32890-89L00-000
HOLDER,ELECTRIC PARTS

32890-89L00-000

replacements
4
4
32890-89L02-000
HOLDER,ELECTRIC PARTS

32890-89L02-000

4
4
32890-89L03-000
HOLDER,ELECTRIC PARTS

32890-89L03-000

4
4

32890-89L10-000

Holder,electric Parts

32890-89L10-000

US $7.40

4
4

09320-09016-000

CUSHION

Cushion, holder

09320-09016-000

from US $0.97

4
4

09169-06062-000

WASHER

Washer

09169-06062-000

from US $1.12

4
4

09116-06517-000

BOLT(6X25)

09116-06517-000

from US $2.25

5
5

09169-06063-000

WASHER

Washer (6.3x17x6)

09169-06063-000

from US $1.38

6
6
09320-08051-000
CUSHION

09320-08051-000

replacements
6
6

09320-08066-000

CUSHION

09320-08066-000

from US $4.42

6
6

09320-08515-000

Cushion(8.4X18X6)

09320-08515-000

from US $3.84

7
7

01550-06207-000

BOLT

W/ELECTRIC STARTER

01550-06207-000

from US $0.80

8
8

01550-06167-000

BOLT

W/ELECTRIC STARTER

01550-06167-000

from US $0.68

9
9

33500-07H00-000

Cap,spark plug

33500-07H00-000

US $22.05

10
10

09408-00159-000

CLAMP

09408-00159-000

US $19.50

11
11
33410-89L00-000
Coil comp,ignition

33410-89L00-000

replacements
11
11
33410-89L10-000
COIL COMP,IGNITION

33410-89L10-000

11
11

33410-89L11-000

COIL COMP,IGNITION

33410-89L11-000

US $89.68

12
12

01550-06307-000

Bolt

01550-06307-000

from US $0.91

13
13
33920-89L21-000
Unit,engine control

W/ELECTRIC STARTER

33920-89L21-000

replacements
13
13
33920-89LA0-000
UNIT,ENGINE CONTROL

W/ELECTRIC STARTER

33920-89LA0-000

13
13

33920-89LJ0-000

UNIT,ENGINE CONTROL

W/ELECTRIC STARTER

33920-89LJ0-000

US $485.76

13
13
33920-89L31-000
Unit,engine control

W/MANUAL STARTER

33920-89L31-000

replacements
13
13
33920-89LB0-000
UNIT,ENGINE CONTROL

W/MANUAL STARTER

33920-89LB0-000

13
13
33920-89LK0-000
UNIT,ENGINE CONTROL

W/MANUAL STARTER

33920-89LK0-000

13
13

33930-89L30-000

UNIT,ENGINE CONTROL

W/MANUAL STARTER

33930-89L30-000

US $608.40

14
14

33925-89L00-000

CUSHION,ENGINE CONTROL UNIT

33925-89L00-000

US $4.75

15
15

38860-76F01-000

RELAY ASSY

Relay, starting motor

W/ELECTRIC STARTER

38860-76F01-000

from US $25.16

16
16

38915-90J00-000

HOLDER,RELAY

W/ELECTRIC STARTER

38915-90J00-000

from US $3.34

17
17

09160-06168-000

WASHER(6X14X1)

09160-06168-000

US $32.80

Rectifier/ignition coil ((DF20A P01)) Diagram Suzuki DF20A S/L; RS/L; T(H)S/L Shadow Black Metallic (0EP) General Export No.1 (P01) 14394386-806230