Water pump ((DF20AR P01)) Diagram Suzuki DF20A S/L; RS/L; T(H)S/L
- Year
- 2014
- Model
- DF20A
- Year
- 2014
- Engine
- 02002F-410001~
- Stroke (2-stroke or 4-stroke)
- 4 stroke
- Power
- 20
- Sales region
- General Export No.1 (P01)
- Colour
- Shadow Black Metallic (0EP)
Difficulties in parts search?
Difficulties in parts search?
| Description | OEM Part # | Price | |||
|---|---|---|---|---|---|
|
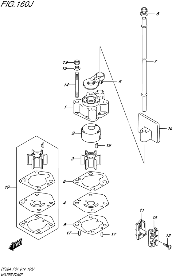
1
|
1
17411-94J00-000 CASE,WATER PUMP |
17411-94J00-000 |
US $18.25 |
||
|
2
|
2
17413-94J00-000 SLEEVE,WATER PUMP CASE |
17413-94J00-000 |
US $12.44 |
||
|
3
|
3
17461-939M0-000 IMPELLER,WATER PUMP |
17461-939M0-000 |
from US $29.05 |
||
|
4
|
4
17471-99J00-000
PANEL,PUMP CASE UNDER
|
17471-99J00-000 |
— | ||
| replacement | |||||
|
4
|
4
17471-99J20-000 Panel,Pump Case Under |
17471-99J20-000 |
US $6.40 |
||
|
5
|
5
17472-99J00-000 GASKET,PUMP CASE PANEL |
17472-99J00-000 |
US $4.48 |
||
|
6
|
6
17473-94J00-000 GASKET,WATER PUMP CASE |
17473-94J00-000 |
US $2.70 |
||
|
7
|
7
17561-99J00-000 TUBE,WATER(S)W/TRANSOM(S) |
17561-99J00-000 |
US $12.98 |
||
|
7
|
7
17561-99J10-000 TUBE,WATER(L)W/TRANSOM(L) |
17561-99J10-000 |
US $20.53 |
||
|
8
|
8
17563-94J00-000 GROMMET,WATER TUBE |
17563-94J00-000 |
from US $2.08 |
||
|
9
|
9
17564-99J00-000 BUSH,WATER PUMP CASE |
17564-99J00-000 |
from US $3.11 |
||
|
10
|
10
17631-99J20-000 FILTER,WATER PORT SIDE |
17631-99J20-000 |
US $3.50 |
||
|
11
|
11
17632-99J30-000 FILTER,WATER STBD SIDE |
17632-99J30-000 |
US $3.81 |
||
|
12
|
12
03142-04169-000
Screw
|
03142-04169-000 |
— | ||
| replacement | |||||
|
12
|
12
03141-0416A-000 SCREW |
03141-0416A-000 |
from US $0.80 |
||
|
13
|
13
29141-93J00-000 NUT |
29141-93J00-000 |
from US $1.60 |
||
|
14
|
14
09108-06141-000 BOLT,STUD |
09108-06141-000 |
US $2.43 |
||
|
15
|
15
09160-06082-000 WASHER(6.5X13X1.0) |
09160-06082-000 |
from US $0.96 |
||
|
16
|
16
09420-03005-000
Key
|
09420-03005-000 |
— | ||
| replacement | |||||
|
16
|
16
09420-03009-000 KEY |
09420-03009-000 |
US $7.68 |
||
|
17
|
17
09202-04008-000 PIN(4X9)Pin, knock |
09202-04008-000 |
US $11.40 |
||
|
18
|
18
17565-99J00-000 GUIDE,WATER TUBE |
17565-99J00-000 |
US $9.12 |
||
| replacement | |||||
|
18
|
18
17565-99J01-000 Guide,water Tube |
17565-99J01-000 |
US $9.12 |
||
|
19
|
19
17400-99J00-000
Kit,water pump repair
OPT |
17400-99J00-000 |
— | ||
| replacement | |||||
|
19
|
19
17400-99J20-000 Kit,Water Pump RepairOPT |
17400-99J20-000 |
from US $37.44 |
||