Gear case ((4 BLADE) (DF15ATH P03)) Diagram Suzuki DF20A S/L; RS/L; T(H)S/L

Year
2014
Model
DF20A
Year
2014
Engine
02002F-410001~
Stroke (2-stroke or 4-stroke)
4 stroke
Power
20
Sales region
U.S.A. (P03)
Colour
Shadow Black Metallic (0EP)

Difficulties in parts search?

Parts list
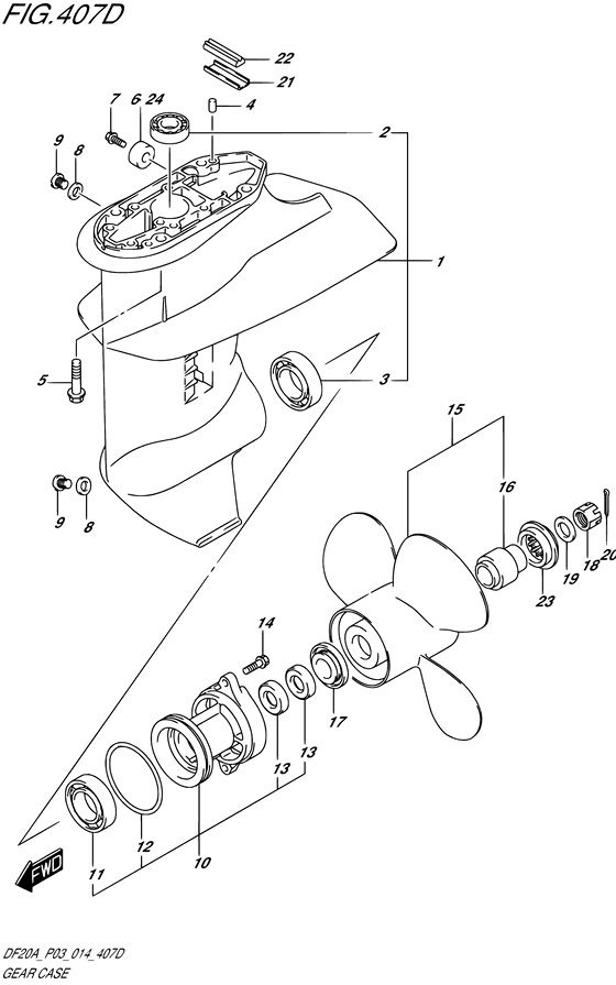
Gear case

Difficulties in parts search?

Gear case
Description OEM Part # Price
1
1

55100-99J40-0EP

CASE ASSY,GEAR

55100-99J40-0EP

US $542.69

2
2
09263-17L03-000
Bearing,17x24x27.5

09263-17L03-000

replacement
2
2

09263-17048-000

BEARING(17X24X27.5)

09263-17048-000

from US $7.90

3
3

09262-25003-000

BEARING(25X52X15)

Bearing (25x52x15)

09262-25003-000

from US $12.80

4
4

09202-06023-000

PIN(6X10)

09202-06023-000

US $21.70

5
5

09116-08151-000

BOLT(8X30)

09116-08151-000

US $4.96

6
6
55321-87J00-000
Anode,protection

55321-87J00-000

replacement
6
6

55321-87J01-000

ANODE,PROTECTION

55321-87J01-000

from US $7.45

7
7

09103-06281-000

BOLT(6X14)

Bolt, protection anode

09103-06281-000

from US $1.28

8
8

59178-97J00-000

GASKET,DRAIN PLUG

59178-97J00-000

from US $1.04

9
9

09248-08001-000

PLUG(8X7.5)

09248-08001-000

from US $0.96

10
10
56120-99J40-0EP
Housing,prop shaft brg

56120-99J40-0EP

replacement
10
10

56120-99J41-0EP

HOUSING,PROPELLER SHAFT BRG

56120-99J41-0EP

US $120.19

11
11

08110-60050-000

BEARING

Bearing

08110-60050-000

from US $9.73

12
12

09280-57002-000

O RING(D:3.5,ID:65.2)

O ring (d:3.5 id:56.5)

09280-57002-000

from US $1.87

13
13

09289-17L02-000

SEAL,OIL(17X30X6)

09289-17L02-000

from US $2.99

14
14

09116-06227-000

BOLT(6X20)

09116-06227-000

from US $1.62

15
15
58100-94JA1-019
PROPELLER (4X10X5)

58100-94JA1-019

replacement
15
15

58100-94JA2-019

PROPELLER COMP(4X10X5)

58100-94JA2-019

US $342.24

16
16

58120-94JA1-000

BUSH,PROPELLER

58120-94JA1-000

US $60.35

17
17

57632-94J00-000

STOPPER,PROPELLER BUSH

57632-94J00-000

from US $25.84

18
18

09141-12005-000

NUT

09141-12005-000

from US $5.58

19
19

09160-12066-000

WASHER(12.5X22X2.5)

Washer (12.5x22x2.5)

09160-12066-000

from US $1.22

20
20

09204-02004-000

PIN

Pin, cotter

09204-02004-000

from US $0.91

21
21

55331-99J10-000

CORE,EXHAUST SEAL

55331-99J10-000

US $3.50

22
22

55332-99J10-000

RUBBER,EXHAUST SEAL

55332-99J10-000

US $5.02

23
23

57633-93901-000

SPACER,PROPELLER NUT

57633-93901-000

US $20.24

24
24

55321-87J10-000

ANODE,MAGNESIUM

OPT

55321-87J10-000

US $18.88

replacement
24
24

55321-87J11-000

ANODE(MAGNESIUM)

OPT

55321-87J11-000

US $13.28

Gear case ((4 BLADE) (DF15ATH P03)) Diagram Suzuki DF20A S/L; RS/L; T(H)S/L Shadow Black Metallic (0EP) U.S.A. (P03) 16960333-864429