Starting motor ((DF30AQ P01)) Diagram Suzuki DF25A S/L; RS/L; TS/L; THS/L
- Year
- 2015
- Model
- DF25A
- Year
- 2015
- Engine
- 02504F-510001~
- Stroke (2-stroke or 4-stroke)
- 4 stroke
- Power
- 25
- Sales region
- General Export No.1 (P01)
- Colour
- Shadow Black Metallic (0EP)
Difficulties in parts search?
Difficulties in parts search?
| Description | OEM Part # | Price | |||
|---|---|---|---|---|---|
|
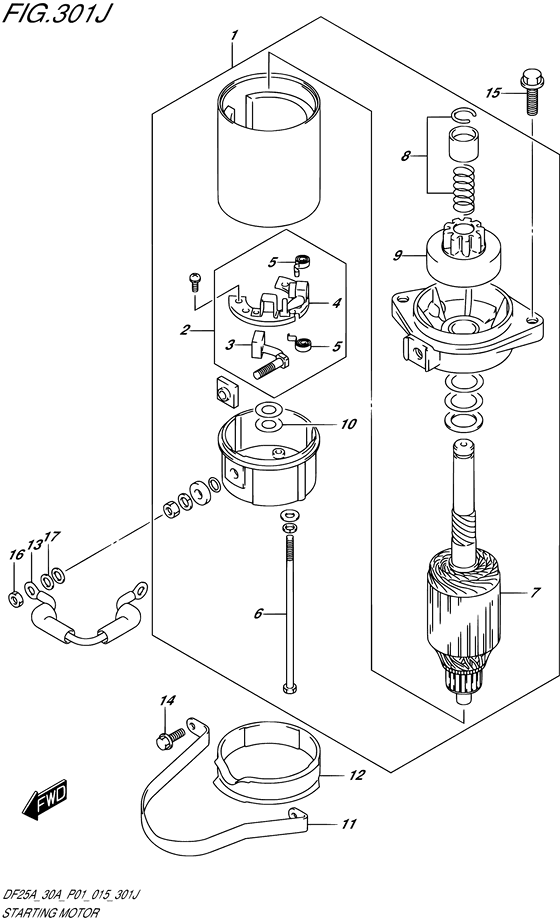
1
|
1
31100-94401-000
MOTOR ASSY,STARTING
|
31100-94401-000 |
— | ||
| replacement | |||||
|
1
|
1
31100-94402-000 MOTOR ASSY,STARTING |
31100-94402-000 |
US $658.24 |
||
|
2
|
2
31173-89J00-000 HOLDER ASSY,BRUSH |
31173-89J00-000 |
US $59.62 |
||
|
3
|
3
31131-96300-000 BRUSH(+) |
31131-96300-000 |
US $19.76 |
||
|
4
|
4
31132-96300-000 BRUSH(-) |
31132-96300-000 |
US $11.86 |
||
|
5
|
5
31135-89J00-000 SPRING |
31135-89J00-000 |
US $4.16 |
||
|
6
|
6
31281-93340-000 BOLT,THROUGHBolt, starter housing |
31281-93340-000 |
US $3.09 |
||
|
7
|
7
31310-96300-000 ARMATUREArmature, starter |
31310-96300-000 |
US $347.76 |
||
|
8
|
8
31312-96300-000 STOPPER SET,PINION |
31312-96300-000 |
US $11.55 |
||
|
9
|
9
31320-94400-000 PINION ASSY |
31320-94400-000 |
US $181.06 |
||
|
10
|
10
31360-96300-000 WASHER SETWasher kit |
31360-96300-000 |
US $9.64 |
||
|
11
|
11
31912-94L00-000 BAND,STARTER MOTOR |
31912-94L00-000 |
US $10.03 |
||
|
12
|
12
31918-94401-000
DAMPER,LWR
|
31918-94401-000 |
— | ||
| replacement | |||||
|
12
|
12
31918-94402-000 Damper,lower |
31918-94402-000 |
US $9.73 |
||
|
13
|
13
33820-89E01-000 CABLE,PLUS TERM TO RELAYCable assy, starting sub |
33820-89E01-000 |
US $10.64 |
||
|
14
|
14
01550-06167-000 BOLT |
01550-06167-000 |
from US $0.68 |
||
|
15
|
15
01550-08257-000 BOLT |
01550-08257-000 |
from US $0.95 |
||
|
16
|
16
08310-00067-000 NUT |
08310-00067-000 |
from US $0.76 |
||
|
17
|
17
08321-01067-000 WASHER,LOCK |
08321-01067-000 |
from US $0.76 |
||