Cylinder block Diagram Suzuki DF25A S/L; RS/L; TS/L; THS/L

Year
2016
Model
DF25A
Year
2016
Engine
02504F-610001~
Stroke (2-stroke or 4-stroke)
4 stroke
Power
25
Sales region
General Export No.1 (P01)
Colour
Shadow Black Metallic (0EP)

Difficulties in parts search?

Parts list
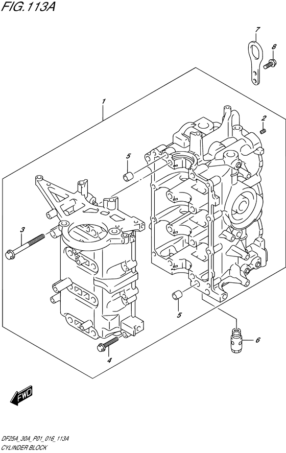
Cylinder block

Difficulties in parts search?

Cylinder block
Description OEM Part # Price
1
1
11301-94L00-000
BLOCK SET,CYLINDER

11301-94L00-000

replacement
1
1

11301-94L20-000

Block Set,cylinder

11301-94L20-000

US $1,355.36

2
2
11112-84400-000
PLUG,OIL VENTURI

11112-84400-000

3
3

09119-08L01-000

BOLT(8X77)

09119-08L01-000

US $36.40

4
4

01550-06357-000

BOLT

Bolt, throttle lever no.2

01550-06357-000

from US $0.91

5
5

04211-11129-000

PIN

04211-11129-000

from US $0.95

6
6

16440-11D00-000

REGULATOR,ENGINE OIL(6.5K)

Regulator, engine oil

16440-11D00-000

from US $27.97

7
7

11291-94L00-000

HOOK,ENGINE

11291-94L00-000

US $7.29

8
8

01550-08207-000

BOLT

01550-08207-000

from US $0.96

Cylinder block Diagram Suzuki DF25A S/L; RS/L; TS/L; THS/L Shadow Black Metallic (0EP) General Export No.1 (P01) 16999276-864600