Opt:drag link ((DF30AQ P01)) Diagram Suzuki DF25A S/L; RS/L; TS/L; THS/L

Year
2016
Model
DF25A
Year
2016
Engine
02504F-610001~
Stroke (2-stroke or 4-stroke)
4 stroke
Power
25
Sales region
General Export No.1 (P01)
Colour
Shadow Black Metallic (0EP)

Difficulties in parts search?

Parts list
Opt:drag link

Difficulties in parts search?

Opt:drag link
Description OEM Part # Price
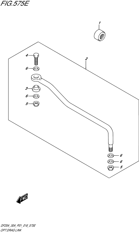
1
1

41161-94400-000

SEAL,STEERING CABLE

Seal, steering cable

41161-94400-000

US $8.64

2
2

67701-94L00-000

LINK ASSY,DRAG

67701-94L00-000

US $130.64

3
3

67721-94L00-000

SPACER

67721-94L00-000

US $8.46

4
4

67725-96J00-000

BOLT,DRAG LINK

67725-96J00-000

US $6.51

5
5

67726-99E00-000

NUT,LOCK

67726-99E00-000

US $3.84

6
6

67728-99E00-000

WASHER

67728-99E00-000

US $1.95

Opt:drag link ((DF30AQ P01)) Diagram Suzuki DF25A S/L; RS/L; TS/L; THS/L Shadow Black Metallic (0EP) General Export No.1 (P01) 16999357-864600