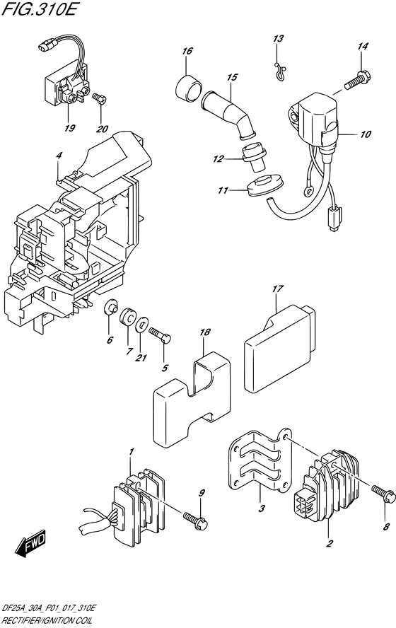
Rectifier/ignition coil ((DF30A P40)) Diagram Suzuki DF25A S/L; RS/L; TS/L; THS/L
- Year
- 2017
- Model
- DF25A
- Year
- 2017
- Engine
- 02504F-710001~
- Stroke (2-stroke or 4-stroke)
- 4 stroke
- Power
- 25
- Sales region
- General Export No.1 (P01)
- Colour
- Pearl Nebular Black (YAY)
Difficulties in parts search?
Difficulties in parts search?
| Description | OEM Part # | Price | |||
|---|---|---|---|---|---|
|
1
|
1
32800-94L00-000
RECTIFIER & REGULATOR ASSY
|
32800-94L00-000 |
— | ||
| replacement | |||||
|
1
|
1
32800-94L01-000 Rectifier & Regulator Assy |
32800-94L01-000 |
from US $85.84 |
||
|
2
|
2
32800-88L00-000
RECTIFIER & REGULATOR ASSY
W/ELECTRIC STARTER |
32800-88L00-000 |
— | ||
| replacement | |||||
|
2
|
2
32800-88L01-000 RECTIFIER & REGULATOR ASSY (W/EL. STARTER)W/ELECTRIC STARTER |
32800-88L01-000 |
US $148.96 |
||
|
3
|
3
32815-94L00-000 BRACKET,RECTIFIERW/ELECTRIC STARTER |
32815-94L00-000 |
US $22.80 |
||
| replacement | |||||
|
3
|
3
32815-94L01-000 Bracket,rectifierW/ELECTRIC STARTER |
32815-94L01-000 |
US $22.80 |
||
|
4
|
4
32890-94L00-000 HOLDER,ELECTRIC PARTS |
32890-94L00-000 |
US $15.90 |
||
|
5
|
5
01550-06207-000 BOLT |
01550-06207-000 |
from US $0.80 |
||
|
6
|
6
09169-06063-000 WASHERWasher (6.3x17x6) |
09169-06063-000 |
from US $1.38 |
||
|
7
|
7
09320-08051-000
CUSHION
|
09320-08051-000 |
— | ||
| replacements | |||||
|
7
|
7
09320-08066-000 CUSHION |
09320-08066-000 |
from US $4.42 |
||
|
7
|
7
09320-08515-000 Cushion(8.4X18X6) |
09320-08515-000 |
from US $3.84 |
||
|
8
|
8
01550-0620C-000 BOLTW/ELECTRIC STARTER |
01550-0620C-000 |
from US $0.99 |
||
|
9
|
9
01550-06257-000 BOLT |
01550-06257-000 |
from US $0.96 |
||
|
10
|
10
33410-94L00-000 COIL,IGNITION |
33410-94L00-000 |
US $58.88 |
||
|
11
|
11
33446-94L00-000 PROTECTOR,HIGH TENSION CORD |
33446-94L00-000 |
US $2.24 |
||
|
12
|
12
33542-16H00-000 SEAL,HIGH TENSION CORD |
33542-16H00-000 |
US $2.69 |
||
|
13
|
13
09408-00020-000 CLIPClamp, lead wire |
09408-00020-000 |
US $9.90 |
||
|
14
|
14
01550-06207-000 BOLT |
01550-06207-000 |
from US $0.80 |
||
|
15
|
15
33510-16H10-000 CAP ASSY,SPARK PLUG |
33510-16H10-000 |
from US $16.93 |
||
|
16
|
16
33541-16H00-000 SEAL,SPARK PLUG |
33541-16H00-000 |
US $4.48 |
||
|
17
|
17
33920-94L50-000
UNIT,ENGINE CONTROL
|
33920-94L50-000 |
— | ||
| replacement | |||||
|
17
|
17
33920-94L80-000 UNIT,ENGINE CONTROL |
33920-94L80-000 |
US $524.48 |
||
|
18
|
18
33925-94L00-000 CUSHION,ENGINE CONTROL UNIT |
33925-94L00-000 |
US $6.29 |
||
|
19
|
19
31800-94L00-000
RELAY ASSY,STARTER MOTOR
W/ELECTRIC STARTER |
31800-94L00-000 |
— | ||
| replacement | |||||
|
19
|
19
31800-94L01-000 Relay Assy,starter MotorW/ELECTRIC STARTER |
31800-94L01-000 |
US $61.09 |
||
|
20
|
20
09128-06013-000 SCREW(6X8)Screw W/ELECTRIC STARTER |
09128-06013-000 |
from US $1.94 |
||
|
21
|
21
08322-01067-000 WASHER |
08322-01067-000 |
from US $0.76 |
||