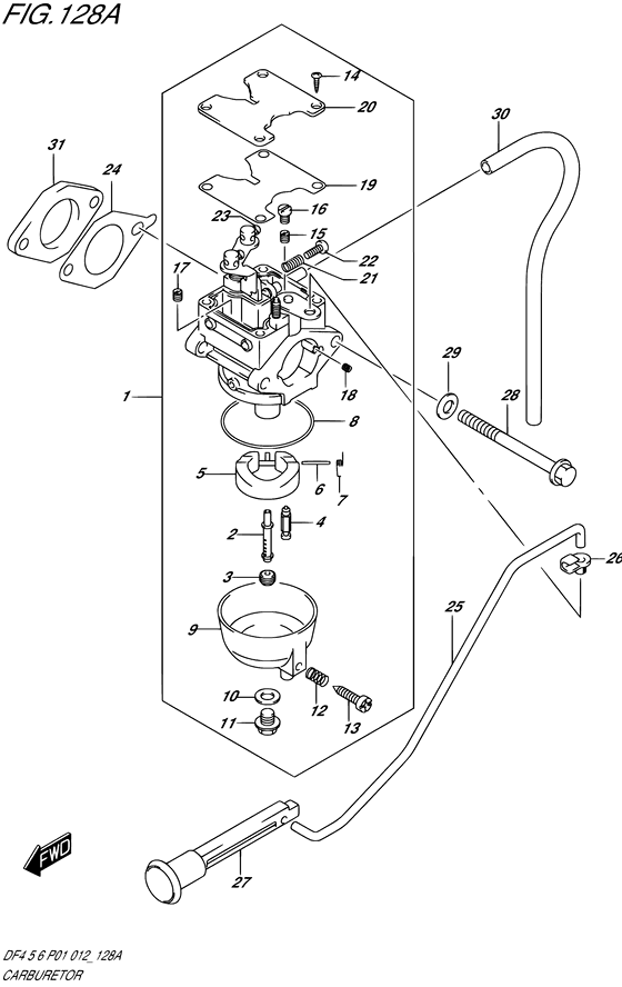
Carburetor ((DF4 P01)) Diagram Suzuki DF6 S/L
- Year
- 2012
- Model
- DF6
- Year
- 2012
- Engine
- 00602F-210001~
- Stroke (2-stroke or 4-stroke)
- 4 stroke
- Power
- 6
- Sales region
- General Export No.1 (P01)
- Colour
- Shadow Black Metallic (0EP)
Difficulties in parts search?
Difficulties in parts search?
| Description | OEM Part # | Price | |||
|---|---|---|---|---|---|
|
1
|
1
13200-91JQ0-000
CARBURETOR ASSY
|
13200-91JQ0-000 |
— | ||
|
2
|
2
13236-91J50-000 NOZZLE,MAIN |
13236-91J50-000 |
US $25.60 |
||
|
3
|
3
09491-50L01-000 JET,MAIN(50) |
09491-50L01-000 |
US $13.91 |
||
|
3
|
3
09491-52L01-000 JET,MAIN(52) |
09491-52L01-000 |
US $15.61 |
||
|
3
|
3
09491-54L01-000 JET,MAIN(54) |
09491-54L01-000 |
US $15.61 |
||
|
4
|
4
13371-91J20-000 VALVE,NEEDLE |
13371-91J20-000 |
US $22.98 |
||
|
5
|
5
13250-97J00-000 FLOAT |
13250-97J00-000 |
US $22.80 |
||
|
6
|
6
13254-97J00-000 PIN,FLOAT |
13254-97J00-000 |
from US $3.65 |
||
|
7
|
7
13268-97J30-000 SPRING |
13268-97J30-000 |
US $5.68 |
||
|
8
|
8
13251-97J00-000 GASKET |
13251-97J00-000 |
US $5.81 |
||
|
9
|
9
13245-97J00-000 CHAMBER,FLOAT |
13245-97J00-000 |
US $13.25 |
||
|
10
|
10
13249-97J00-000 GASKET |
13249-97J00-000 |
US $3.52 |
||
|
11
|
11
13247-97J00-000 SCREW |
13247-97J00-000 |
US $14.40 |
||
|
12
|
12
13268-97J10-000 SPRING |
13268-97J10-000 |
US $2.29 |
||
|
13
|
13
13616-97J00-000 SCREW |
13616-97J00-000 |
US $13.25 |
||
|
14
|
14
13267-97J00-000 SCREW |
13267-97J00-000 |
US $3.52 |
||
|
15
|
15
09492-32011-000 JET,PILOT(32) |
09492-32011-000 |
from US $8.46 |
||
|
15
|
15
09492-34004-000 JET,PILOT(34) |
09492-34004-000 |
from US $16.80 |
||
|
15
|
15
09492-36L01-000 JET,PILOT(36) |
09492-36L01-000 |
US $8.46 |
||
|
16
|
16
13267-97J10-000 SCREW |
13267-97J10-000 |
US $2.13 |
||
|
17
|
17
09493-22L01-000 JET,AIR MAIN(110) |
09493-22L01-000 |
US $12.16 |
||
|
18
|
18
09493-95L01-000 JET,SLOW AIR(95) |
09493-95L01-000 |
US $10.52 |
||
|
19
|
19
13249-97J10-000 GASKET |
13249-97J10-000 |
US $12.46 |
||
| replacement | |||||
|
19
|
19
13249-97J11-000 Gasket |
13249-97J11-000 |
US $16.72 |
||
|
20
|
20
13248-97J00-000 PLATE |
13248-97J00-000 |
US $19.76 |
||
|
21
|
21
13268-97J20-000 SPRING |
13268-97J20-000 |
US $2.29 |
||
|
22
|
22
13534-97J10-000 SCREW |
13534-97J10-000 |
US $4.86 |
||
|
23
|
23
13267-97J20-000 SCREW |
13267-97J20-000 |
US $1.29 |
||
|
24
|
24
13125-91J10-000 GASKET,CARBURETOR |
13125-91J10-000 |
US $1.60 |
||
|
25
|
25
13413-91JL0-000 ROD,CHOKE |
13413-91JL0-000 |
US $13.84 |
||
|
26
|
26
13436-91J00-000 CONNECTOR,CHOKE ROD |
13436-91J00-000 |
US $1.60 |
||
|
27
|
27
13631-91J00-000 KNOB,CHOKE |
13631-91J00-000 |
from US $3.19 |
||
|
28
|
28
01547-06857-000 BOLT |
01547-06857-000 |
from US $4.49 |
||
|
29
|
29
08322-01067-000 WASHER |
08322-01067-000 |
from US $0.76 |
||
|
30
|
30
09355-50105-600
HOSE(5X10X600)
L:600->230 |
09355-50105-600 |
— | ||
| replacements | |||||
|
30
|
30
44421-13ER0-000 HOSEL:600->230 |
44421-13ER0-000 |
US $13.58 |
||
|
30
|
30
09355-50002-600 Hose(5X10X600)L:600->230 |
09355-50002-600 |
US $7.75 |
||
|
31
|
31
13124-91JL0-000 INSULATOR,CARBURETOR |
13124-91JL0-000 |
US $8 |
||