Opt:water pressure gauge sub kit Diagram Suzuki DF90A T(H)L/X
- Year
- 2016
- Model
- DF90A
- Year
- 2016
- Engine
- 09003F-610001~
- Stroke (2-stroke or 4-stroke)
- 4 stroke
- Power
- 90
- Sales region
- U.S.A. (P03)
- Colour
- Shadow Black Metallic; Cool White (; 0EP; Y5S)
Difficulties in parts search?
Parts list
Difficulties in parts search?
| Description | OEM Part # | Price | |||
|---|---|---|---|---|---|
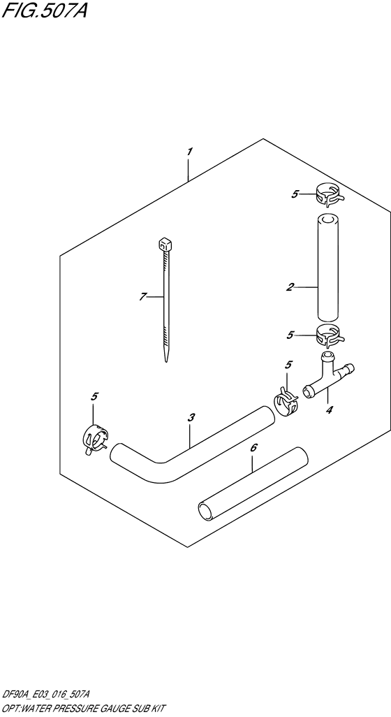
|
1
|
1
34660-90J02-000
KIT,WATER PRESS GAUGE SUB
|
34660-90J02-000 |
— | ||
| replacements | |||||
|
1
|
1
34660-90J03-000
Kit,water Press Gauge Sub
|
34660-90J03-000 |
— | ||
|
1
|
1
34660-90J04-000 Water Press Gauge Sub Kit |
34660-90J04-000 |
US $9.68 |
||
|
2
|
2
09352-50903-600
HOSE(5X9X600)
L:600->160 |
09352-50903-600 |
— | ||
| replacement | |||||
|
2
|
2
09352-50006-600 Hose(5X9X600)L:600->160 |
09352-50006-600 |
from US $4 |
||
|
3
|
3
09352-50903-600
HOSE(5X9X600)
L:600->210 |
09352-50903-600 |
— | ||
| replacement | |||||
|
3
|
3
09352-50006-600 Hose(5X9X600)L:600->210 |
09352-50006-600 |
from US $4 |
||
|
4
|
4
09367-06006-000 3 WAY |
09367-06006-000 |
from US $6.43 |
||
|
5
|
5
09401-08413-000 CLIP |
09401-08413-000 |
from US $1.60 |
||
|
6
|
6
18498-99EA0-000
PROTECTOR(L:80)
|
18498-99EA0-000 |
— | ||
| replacement | |||||
|
6
|
6
18498-99EA1-000 Protector(9.5X11.5X80) |
18498-99EA1-000 |
US $1.55 |
||
|
7
|
7
09407-25402-000 CLAMP(L:250)Clamp, tilt sw |
09407-25402-000 |
from US $2.24 |
||