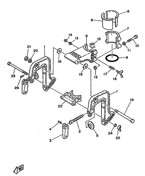
Bracket Diagram Yamaha 2 MHS
- Year
- 1986
- Model
- 2B
- Model code
- 6A1
- Year
- 1986
- Stroke (2-stroke or 4-stroke)
- 2 stroke
- Power
- 2
- Sales region
- Europe (General) (999)
- Colour
- Metallic Marine Blue (MMB; 00EJ)
Difficulties in parts search?
Difficulties in parts search?
| Description | OEM Part # | Price | |||
|---|---|---|---|---|---|
|
01
|
01
6A1-43111-01-EJ
Bracket, Clamp
|
6A1-43111-01-EJ |
— | ||
| replacement | |||||
|
01
|
01
6A1-43111-03-EJ
Bracket, Clamp
|
6A1-43111-03-EJ |
— | ||
|
02
|
02
6E0-43116-00-00 Screw, Transom Clamp |
6E0-43116-00-00 |
US $15.16 |
||
| replacement | |||||
|
02
|
02
6E0-43116-01-00 Screw, Transom Clamp |
6E0-43116-01-00 |
from US $15.16 |
||
|
03
|
03
6E0-43118-00-00 Handle, Transom Clp |
6E0-43118-00-00 |
US $12.18 |
||
| replacements | |||||
|
03
|
03
6L8-G3118-01-00 Handle Transom Clamp |
6L8-G3118-01-00 |
US $11.19 |
||
|
03
|
03
6E0-43118-01-00
Handle, Transom Clamp
|
6E0-43118-01-00 |
— | ||
|
03
|
03
6EE-G3118-00-00 Handle, Transom Clamp |
6EE-G3118-00-00 |
from US $6.89 |
||
|
04
|
04
90254-04M00-00 Pin, Spring Type |
90254-04M00-00 |
US $2.41 |
||
| replacement | |||||
|
04
|
04
90243-04M01-00 Pin |
90243-04M01-00 |
from US $2.41 |
||
|
05
|
05
648-43114-01-00 Pad, Transom Clamp |
648-43114-01-00 |
from US $5.40 |
||
|
06
|
06
6A1-43311-00-EJ
Bracket, Swivel
|
6A1-43311-00-EJ |
— | ||
| replacement | |||||
|
06
|
06
6A1-43311-01-EJ
Bracket, Swivel
|
6A1-43311-01-EJ |
— | ||
|
07
|
07
6A1-43312-00-EJ
Bracket, Swivel
|
6A1-43312-00-EJ |
— | ||
| replacement | |||||
|
07
|
07
999-99999-99-00
Not Available
|
999-99999-99-00 |
— | ||
|
08
|
08
646-42537-01-00 Bushing, Pivot Shaft |
646-42537-01-00 |
from US $12.04 |
||
|
09
|
09
932-10460-44-00 O-Ring |
932-10460-44-00 |
from US $2.55 |
||
|
10
|
10
973-95060-45-00
Bolt, Hexagon
|
973-95060-45-00 |
— | ||
| replacement | |||||
|
10
|
10
970-80060-45-00 Bolt |
970-80060-45-00 |
from US $4.56 |
||
|
11
|
11
929-90066-00-00 Washer, Plain (646) |
929-90066-00-00 |
from US $1.07 |
||
|
12
|
12
95380-06600-00 Nut, Hexagon |
95380-06600-00 |
from US $1.07 |
||
|
13
|
13
937-00060-04-00
Nipple, Grease
|
937-00060-04-00 |
— | ||
| replacement | |||||
|
13
|
13
93700-06M03-00 Nipple, Grease |
93700-06M03-00 |
from US $2.70 |
||
|
14
|
14
663-45119-00-00 Cap, Grease Nipple |
663-45119-00-00 |
US $3.68 |
||
|
15
|
15
646-42528-00-00 Plate, Friction |
646-42528-00-00 |
from US $7.23 |
||
|
16
|
16
90122-06004-00 Bolt, Wing |
90122-06004-00 |
from US $8.50 |
||
|
17
|
17
90501-12272-00 Spring, Compression |
90501-12272-00 |
from US $3.12 |
||
|
18
|
18
90101-08217-00 Bolt |
90101-08217-00 |
from US $9.78 |
||
|
19
|
19
90202-08022-00 Washer, Plate |
90202-08022-00 |
from US $3.26 |
||
|
20
|
20
92990-08100-00 Ybs67-8 Washer, Spring |
92990-08100-00 |
from US $1.36 |
||
|
21
|
21
953-80086-00-00
Nut, Hex
|
953-80086-00-00 |
— | ||
| replacements | |||||
|
21
|
21
997-80086-00-00 Nut, Hex |
997-80086-00-00 |
from US $1.59 |
||
|
21
|
21
988-80081-00-00 Ybs55-8 Nut (644) |
988-80081-00-00 |
from US $1.57 |
||
|
22
|
22
6A1-43351-00-00 Receiver, Thrust |
6A1-43351-00-00 |
from US $10.63 |
||
|
23
|
23
6A1-43371-00-00 Bolt, Receiver |
6A1-43371-00-00 |
from US $6.52 |
||
|
24
|
24
90201-06040-00 Washer, Plate |
90201-06040-00 |
from US $2.69 |
||
|
25
|
25
90175-06008-00 Nut, Wing |
90175-06008-00 |
from US $2.55 |
||
| replacement | |||||
|
25
|
25
90175-06015-00 Nut, Wing |
90175-06015-00 |
US $7.79 |
||
|
26
|
26
91690-20006-00 Pin, Spring |
91690-20006-00 |
from US $2.98 |
||