Crankshaft & Piston Diagram Yamaha 20 MHS/L
- Year
- 1993
- Model
- 20C
- Model code
- 6A9
- Year
- 1993
- Stroke (2-stroke or 4-stroke)
- 2 stroke
- Power
- 20
- Sales region
- Europe (General) (999)
- Colour
- Dark Bluish Gray Solid 1 (DBGS1; 001D)
Difficulties in parts search?
Difficulties in parts search?
| Description | OEM Part # | Price | |||
|---|---|---|---|---|---|
|
01
|
01
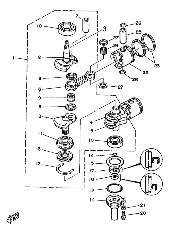
695-11400-00-00
Crankshaft Assembly
|
695-11400-00-00 |
— | ||
|
02
|
02
6G0-11412-10-00
Crank 1
|
6G0-11412-10-00 |
— | ||
|
03
|
03
6G0-11422-00-00
Crank 2
|
6G0-11422-00-00 |
— | ||
|
04
|
04
6G0-11432-00-00
Crank 3
|
6G0-11432-00-00 |
— | ||
|
05
|
05
695-11442-00-00
Crank 4
|
695-11442-00-00 |
— | ||
|
06
|
06
648-11651-04-00 Rod, Connecting |
648-11651-04-00 |
from US $114.10 |
||
|
07
|
07
648-11681-00-00 Pin, Crank 1 |
648-11681-00-00 |
from US $35.28 |
||
|
08
|
08
90209-22248-00 Washer, Special Shape |
90209-22248-00 |
from US $3.64 |
||
|
09
|
09
93310-522W0-00 BearingBearing, cylindrical |
93310-522W0-00 |
from US $22.16 |
||
|
10
|
10
93306-305U3-00 Bearing |
93306-305U3-00 |
from US $39.93 |
||
|
11
|
11
93390-00009-00 Bearing |
93390-00009-00 |
from US $80.41 |
||
|
12
|
12
93440-62057-00 Circlip, Outer |
93440-62057-00 |
from US $1.66 |
||
|
13
|
13
656-11515-00-00
Seal, Labyrinth 1
|
656-11515-00-00 |
— | ||
|
14
|
14
93210-16275-00 O-Ring |
93210-16275-00 |
from US $1.70 |
||
|
15
|
15
90201-50306-00 Washer, Plate |
90201-50306-00 |
from US $4.39 |
||
|
16
|
16
689-15396-01-5B Housing, Oil Seal |
689-15396-01-5B |
US $35.99 |
||
| replacement | |||||
|
16
|
16
689-15396-01-CA Housing, Oil Seal |
689-15396-01-CA |
from US $31.79 |
||
|
17
|
17
93101-25M35-00 Oil Seal |
93101-25M35-00 |
from US $7.28 |
||
|
18
|
18
931-0116M-36-00 Oil Seal |
931-0116M-36-00 |
from US $4.64 |
||
|
19
|
19
932-1057M-09-00 O-Ring |
932-1057M-09-00 |
from US $2.66 |
||
|
20
|
20
97395-06022-00 Boulon |
97395-06022-00 |
from US $2.27 |
||
| replacement | |||||
|
20
|
20
97095-06022-00 Bolt |
97095-06022-00 |
from US $2.27 |
||
|
21
|
21
929-90066-00-00 Washer, Plain (646) |
929-90066-00-00 |
from US $1.07 |
||
|
22
|
22
664-11631-80-97 Piston (Std) |
664-11631-80-97 |
US $94.37 |
||
| replacement | |||||
|
22
|
22
664-11631-80-96 Piston (Std) |
664-11631-80-96 |
US $94.37 |
||
|
22
|
22
664-11635-80-00 Piston (0.25Mm O/s)Piston (1st o.s.) Ap |
664-11635-80-00 |
US $95.08 |
||
|
22
|
22
664-11636-80-00 Piston (0.50Mm O/s)Ap |
664-11636-80-00 |
from US $94.95 |
||
|
23
|
23
664-11610-50-00
Piston Ring Set (0.50Mm O/s)
Ap |
664-11610-50-00 |
— | ||
|
23
|
23
664-11610-80-00 Piston Ring Set (Std)Piston ring set (std) |
664-11610-80-00 |
US $54.07 |
||
|
23
|
23
664-11610-40-00
Piston Ring Set (0.25Mm O/s)
Ap |
664-11610-40-00 |
— | ||
|
24
|
24
936-0220M-02-00 Pin, Dowel |
936-0220M-02-00 |
from US $1.66 |
||
|
25
|
25
648-11633-00-00 Pin, Piston |
648-11633-00-00 |
from US $7.94 |
||
|
26
|
26
93450-20026-00 Circlip |
93450-20026-00 |
from US $2.69 |
||
|
27
|
27
90201-18522-00 Washer, Plate |
90201-18522-00 |
from US $1.34 |
||