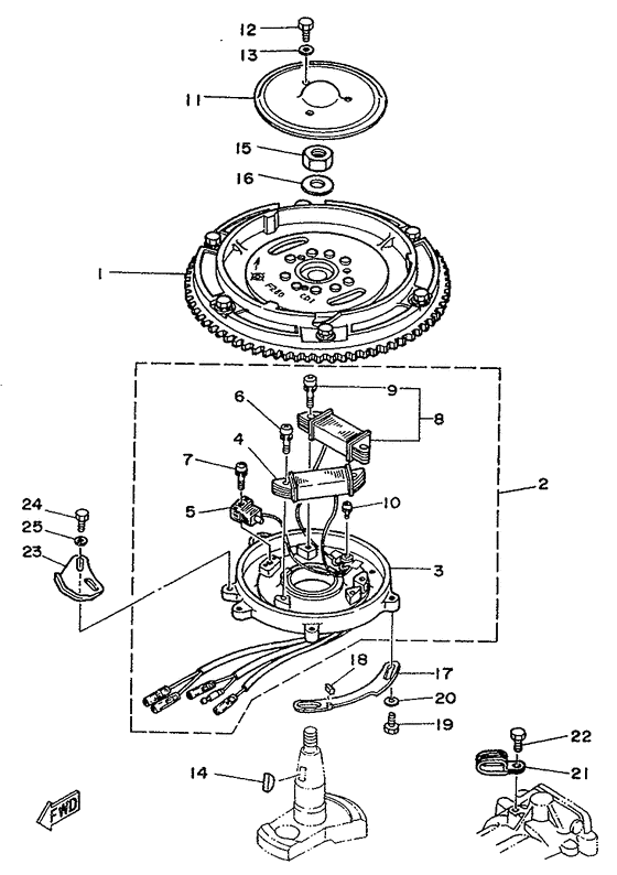
Magneto Diagram Yamaha 20 MHS/L
- Year
- 1990
- Model
- 20C
- Model code
- 6A9
- Year
- 1990
- Stroke (2-stroke or 4-stroke)
- 2 stroke
- Power
- 20
- Sales region
- Europe (General) (999)
- Colour
- Dark Bluish Gray Solid 1 (DBGS1; 001D)
Difficulties in parts search?
Difficulties in parts search?
| Description | OEM Part # | Price | |||
|---|---|---|---|---|---|
|
01
|
01
695-85550-40-00
Rotor Assembly
|
695-85550-40-00 |
— | ||
|
02
|
02
695-85560-A0-00
Base Assembly
|
695-85560-A0-00 |
— | ||
|
03
|
03
695-85561-70-00
Base, Magneto
|
695-85561-70-00 |
— | ||
|
04
|
04
695-85520-70-00 Coil, Charge |
695-85520-70-00 |
from US $227.61 |
||
|
05
|
05
695-85580-70-00
Coil, Pulser
|
695-85580-70-00 |
— | ||
|
06
|
06
90159-05039-00 Screw, W/washer |
90159-05039-00 |
from US $2.13 |
||
|
07
|
07
90159-05038-00
Screw, With Washer
|
90159-05038-00 |
— | ||
| replacement | |||||
|
07
|
07
98507-05016-00 Screw, Pan Head |
98507-05016-00 |
from US $1.07 |
||
|
08
|
08
685-81303-A0-00
Lighting Coil Assy
|
685-81303-A0-00 |
— | ||
|
09
|
09
90159-05040-00 Screw, With Washer |
90159-05040-00 |
from US $1.98 |
||
| replacement | |||||
|
09
|
09
98507-05025-00 Screw, Pan Head(4My) |
98507-05025-00 |
from US $1.42 |
||
|
10
|
10
90159-04035-00
Screw, With Washer
|
90159-04035-00 |
— | ||
|
11
|
11
648-81362-00-00 Cover, Hole |
648-81362-00-00 |
from US $13.52 |
||
|
12
|
12
970-13060-12-00
Bolt
|
970-13060-12-00 |
— | ||
| replacement | |||||
|
12
|
12
970-80060-12-00 Bolt |
970-80060-12-00 |
from US $1.98 |
||
|
13
|
13
929-90066-00-00 Washer, Plain (646) |
929-90066-00-00 |
from US $1.07 |
||
|
14
|
14
902-80050-13-00
Key, Woodruff
|
902-80050-13-00 |
— | ||
| replacement | |||||
|
14
|
14
90280-05001-00 Key, Woodruff |
90280-05001-00 |
from US $9.35 |
||
|
15
|
15
90170-12066-00 Nut |
90170-12066-00 |
from US $6.94 |
||
|
16
|
16
902-01124-72-00
Washer, Plate
|
902-01124-72-00 |
— | ||
| replacement | |||||
|
16
|
16
90201-126A7-00 Washer, Plate (4N0) |
90201-126A7-00 |
from US $1.70 |
||
|
17
|
17
6A9-41615-01-00 Stopper, Magneto BaseStopper, magneto base 1 |
6A9-41615-01-00 |
US $11.75 |
||
|
18
|
18
695-44194-00-00 Cap |
695-44194-00-00 |
from US $7.08 |
||
|
19
|
19
970-13060-12-00
Bolt
|
970-13060-12-00 |
— | ||
| replacement | |||||
|
19
|
19
970-80060-12-00 Bolt |
970-80060-12-00 |
from US $1.98 |
||
|
20
|
20
929-90066-00-00 Washer, Plain (646) |
929-90066-00-00 |
from US $1.07 |
||
|
21
|
21
90461-06M01-00 Clamp |
90461-06M01-00 |
from US $5.95 |
||
|
22
|
22
97313-06010-00 Bolt, Hexagon |
97313-06010-00 |
from US $1.15 |
||
| replacement | |||||
|
22
|
22
97085-06010-00 Bolt |
97085-06010-00 |
from US $1.28 |
||
|
23
|
23
6A9-41213-00-94 Cam, Accel |
6A9-41213-00-94 |
US $25.55 |
||
|
24
|
24
973-95050-12-00
Bolt (6G8)
|
973-95050-12-00 |
— | ||
| replacement | |||||
|
24
|
24
97095-05012-00 Bolt |
97095-05012-00 |
from US $1.55 |
||
|
25
|
25
92990-05600-00 Washer, Plate |
92990-05600-00 |
from US $1.07 |
||