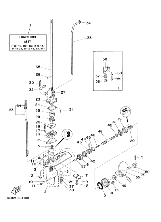
Lower casing. drive Diagram Yamaha 5 MHS/L
- Year
- 2003
- Model
- 5C
- Model code
- 6E3
- Year
- 2003
- Stroke (2-stroke or 4-stroke)
- 2 stroke
- Power
- 5
- Sales region
- Europe (General) (040 / 100)
- Colour
- Dark Bluish Gray Metallic 2 (DBNM2; 004D)
Difficulties in parts search?
Difficulties in parts search?
| Description | OEM Part # | Price | |||
|---|---|---|---|---|---|
|
01
|
01
6E0-45300-03-4D Lower Unit AssyS |
6E0-45300-03-4D |
US $943.80 |
||
|
01
|
01
6E0-45300-13-4D Lower Unit AssyL |
6E0-45300-13-4D |
US $996.60 |
||
| replacements | |||||
|
01
|
01
6E0-45300-13-8D LOWER UNIT ASSYL |
6E0-45300-13-8D |
US $996.60 |
||
|
01
|
01
6E0-45300-15-8D Lower Unit AssyL |
6E0-45300-15-8D |
US $1,267.42 |
||
|
02
|
02
6E0-45311-02-4D
Casing, Lower
|
6E0-45311-02-4D |
— | ||
| replacement | |||||
|
02
|
02
6E0-45311-02-8D CASING, LOWER |
6E0-45311-02-8D |
from US $299.50 |
||
|
03
|
03
6E0-45317-09-00 Bushing, Drive Shaft |
6E0-45317-09-00 |
from US $11.26 |
||
|
04
|
04
6E0-45316-09-00 Bushing, Drive Shaft |
6E0-45316-09-00 |
from US $11.92 |
||
|
05
|
05
93101-10M14-00 Oil Seal(6E0) |
93101-10M14-00 |
from US $4.30 |
||
| replacement | |||||
|
05
|
05
93101-10811-00 Oil Seal |
93101-10811-00 |
from US $1.98 |
||
|
06
|
06
933-06004-U0-00
Bearing
|
933-06004-U0-00 |
— | ||
| replacement | |||||
|
06
|
06
93306-00423-00 Bearing (7K2) |
93306-00423-00 |
from US $12.75 |
||
|
07
|
07
6L5-45251-03-00 Anode |
6L5-45251-03-00 |
from US $9.49 |
||
|
08
|
08
95895-06012-00 Bolt, Flange |
95895-06012-00 |
from US $1.28 |
||
|
09
|
09
92990-06300-00 Washer, Internal Tooth |
92990-06300-00 |
from US $1.84 |
||
|
10
|
10
904-30080-20-00 Gasket |
904-30080-20-00 |
from US $1.28 |
||
| replacement | |||||
|
10
|
10
90430-08003-00 Gasket |
90430-08003-00 |
from US $1.28 |
||
|
11
|
11
903-40080-02-00 Plug, Straight Screw |
903-40080-02-00 |
from US $3.12 |
||
|
12
|
12
90119-06M40-00 Bolt, With Washer |
90119-06M40-00 |
US $2.55 |
||
|
13
|
13
90387-06M14-00 Collar |
90387-06M14-00 |
from US $3.68 |
||
|
14
|
14
6E0-45321-01-5B Plate |
6E0-45321-01-5B |
US $19.55 |
||
| replacement | |||||
|
14
|
14
6E0-45321-01-CA Plate |
6E0-45321-01-CA |
from US $19.55 |
||
|
15
|
15
6E0-45315-A0-00 Packing,lower Casing |
6E0-45315-A0-00 |
from US $9.07 |
||
|
16
|
16
970-95060-25-00
Bolt
|
970-95060-25-00 |
— | ||
| replacement | |||||
|
16
|
16
90101-06M27-00 Bolt |
90101-06M27-00 |
from US $1.35 |
||
|
17
|
17
929-95066-00-00
Washer, Plate
|
929-95066-00-00 |
— | ||
| replacement | |||||
|
17
|
17
929-90066-00-00 Washer, Plain (646) |
929-90066-00-00 |
from US $1.07 |
||
|
18
|
18
6E0-45361-01-4D Cap, Lower Casing |
6E0-45361-01-4D |
US $55.40 |
||
| replacement | |||||
|
18
|
18
6E0-45361-01-8D CAP, LOWER CASING |
6E0-45361-01-8D |
from US $41.92 |
||
|
19
|
19
933-06004-U0-00
Bearing
|
933-06004-U0-00 |
— | ||
| replacement | |||||
|
19
|
19
93306-00423-00 Bearing (7K2) |
93306-00423-00 |
from US $12.75 |
||
|
20
|
20
93101-13M12-00 Oil Seal |
93101-13M12-00 |
from US $4.82 |
||
|
21
|
21
93210-48214-00 O-Ring |
93210-48214-00 |
from US $5.24 |
||
| replacement | |||||
|
21
|
21
93210-48800-00 O-Ring |
93210-48800-00 |
from US $1.28 |
||
|
22
|
22
95895-06016-00 Bolt, Flange |
95895-06016-00 |
US $1.07 |
||
| replacements | |||||
|
22
|
22
958-80060-16-00
Bolt, Flange
|
958-80060-16-00 |
— | ||
|
22
|
22
95D95-06016-00 Bolt, Flange Deep Re |
95D95-06016-00 |
from US $1.07 |
||
|
22
|
22
95814-06016-00 Bolt, Flange |
95814-06016-00 |
from US $1.35 |
||
|
23
|
23
6E0-44311-00-00 Housing, Water Pump |
6E0-44311-00-00 |
from US $7.28 |
||
|
24
|
24
6E0-44315-A0-00 Gasket,water Pump 1 |
6E0-44315-A0-00 |
from US $3.97 |
||
|
25
|
25
6E0-44322-02-00 Insert, Cartridge |
6E0-44322-02-00 |
from US $9.26 |
||
|
26
|
26
6E0-44323-00-00 Outer Plate, Cartridge |
6E0-44323-00-00 |
from US $7.37 |
||
|
27
|
27
6E0-44366-00-00 Damper, Water Seal 2 |
6E0-44366-00-00 |
from US $3.32 |
||
|
28
|
28
6E0-44352-00-00 Impeller |
6E0-44352-00-00 |
from US $13.90 |
||
|
29
|
29
93604-09066-00 Pin, Dowel |
93604-09066-00 |
from US $1.34 |
||
|
30
|
30
97095-06045-00 Bolt |
97095-06045-00 |
from US $3.04 |
||
| replacement | |||||
|
30
|
30
970-80060-45-00 Bolt |
970-80060-45-00 |
from US $4.56 |
||
|
31
|
31
93604-18080-00 Pin, Dowel |
93604-18080-00 |
from US $1.70 |
||
|
32
|
32
6E0-44328-00-00 Plate |
6E0-44328-00-00 |
from US $3.24 |
||
|
33
|
33
6E0-44361-00-00 Tube, Water 1S |
6E0-44361-00-00 |
from US $11.26 |
||
|
33
|
33
6E0-44361-10-00 Tube, Water 1L |
6E0-44361-10-00 |
from US $14.45 |
||
|
34
|
34
646-44365-00-00 Damper, Water Seal 1 |
646-44365-00-00 |
US $3.54 |
||
|
35
|
35
6E0-45511-01-00 Shaft, Drive (S)S |
6E0-45511-01-00 |
from US $201.71 |
||
|
35
|
35
6E0-45511-11-00 Shaft, Drive (L)L |
6E0-45511-11-00 |
from US $201.71 |
||
|
36
|
36
90467-08M01-00 Clip |
90467-08M01-00 |
from US $2.41 |
||
|
37
|
37
6E0-45551-00-00 Pinion |
6E0-45551-00-00 |
from US $26.12 |
||
|
38
|
38
99001-06600-00 Circlip |
99001-06600-00 |
from US $1.56 |
||
|
39
|
39
90201-11M49-00 Washer, Plate |
90201-11M49-00 |
from US $2.69 |
||
|
40
|
40
6E0-45560-00-00 Gear |
6E0-45560-00-00 |
from US $54.22 |
||
|
41
|
41
6E0-45570-00-00 Gear |
6E0-45570-00-00 |
from US $61.84 |
||
|
42
|
42
90201-13M50-00 Washer, Plate |
90201-13M50-00 |
from US $2.98 |
||
|
43
|
43
6E0-45631-00-00 Clutch, Dog |
6E0-45631-00-00 |
from US $54.30 |
||
|
44
|
44
90250-05046-00 Pin, Straight |
90250-05046-00 |
from US $3.68 |
||
|
45
|
45
654-45633-00-00 Ring, Cross Pin |
654-45633-00-00 |
from US $3.12 |
||
|
46
|
46
90501-10064-00 Spring, Compression |
90501-10064-00 |
from US $5.81 |
||
|
47
|
47
654-45635-00-00 Plunger, Shift |
654-45635-00-00 |
from US $11.05 |
||
|
48
|
48
6E0-45611-01-00 Shaft, Propeller |
6E0-45611-01-00 |
from US $116.14 |
||
|
49
|
49
6L5-45987-01-00 Spacer 1 |
6L5-45987-01-00 |
from US $26.84 |
||
|
50
|
50
6L5-45616-00-00 Nut, Propeller |
6L5-45616-00-00 |
from US $17.71 |
||
| replacement | |||||
|
50
|
50
6EE-G5616-00-00 Nut, Propeller |
6EE-G5616-00-00 |
from US $9.59 |
||
|
51
|
51
91490-25030-00 Pin. Cotter |
91490-25030-00 |
from US $1.34 |
||
|
52
|
52
90201-08M54-00 Washer, Plate |
90201-08M54-00 |
from US $2.32 |
||
|
53
|
53
6E0-44150-00-00 Shift Cam AssyS |
6E0-44150-00-00 |
from US $45.18 |
||
|
53
|
53
6E0-44150-10-00 Shift Cam AssyL |
6E0-44150-10-00 |
from US $45.18 |
||
|
54
|
54
6G1-44147-00-00 Boot, Shift Rod |
6G1-44147-00-00 |
from US $12.33 |
||
|
55
|
55
6E0-45941-01-EL Propeller (3X7-1/2"x8"-Ba)Ur |
6E0-45941-01-EL |
US $127.38 |
||
| replacement | |||||
|
55
|
55
6E0-45941-01-00 Propeller (3X7-1/2"x8"-Ba)Ur |
6E0-45941-01-00 |
from US $127.38 |
||
|
55
|
55
6E0-45943-01-EL Propeller (3X7-1/2"x7"-Ba)Ur |
6E0-45943-01-EL |
US $127.38 |
||
| replacement | |||||
|
55
|
55
6E0-45943-01-00 Propeller (3X7-1/2"x7"-Ba)Ur |
6E0-45943-01-00 |
from US $127.38 |
||
|
55
|
55
6E0-45949-00-EL Propeller (3X7-1/4"x6-1/2"-Ba)Ur |
6E0-45949-00-EL |
US $127.38 |
||
| replacement | |||||
|
55
|
55
6E0-45949-00-00 Propeller (3X7-1/4"x6-1/2"-Ba)Ur |
6E0-45949-00-00 |
from US $71.42 |
||
|
56
|
56
6E0-45331-00-5B Housing, BearingL |
6E0-45331-00-5B |
US $23.52 |
||
| replacement | |||||
|
56
|
56
6E0-45331-00-CA Housing, BearingL |
6E0-45331-00-CA |
from US $20.75 |
||
|
57
|
57
6E0-45318-01-00 Bushing, Drive ShaftL |
6E0-45318-01-00 |
from US $31.45 |
||
|
58
|
58
93420-22M03-00 CirclipL |
93420-22M03-00 |
from US $4.39 |
||
|
59
|
59
97880-05025-00 Screw, Pan HeadL |
97880-05025-00 |
US $1.35 |
||
| replacement | |||||
|
59
|
59
985-80055-25-00 Screw, Pan HeadL |
985-80055-25-00 |
from US $1.33 |
||
|
60
|
60
92990-05600-00 Washer, PlateL |
92990-05600-00 |
from US $1.07 |
||