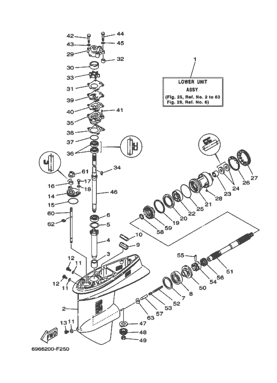
Lower casing & drive 2 Diagram Yamaha 55 EDS/L

Year
2010
Model
55B
Model code
6979
Year
2010
Stroke (2-stroke or 4-stroke)
2 stroke
Power
55
Sales region
Finland (120)
Colour
Dark Bluish Gray Metallic 2 (DBNM2; 004D)

Difficulties in parts search?

Parts list
Lower casing & drive 2

Difficulties in parts search?

Lower casing & drive 2

Nothing

Lower casing & drive 2 Diagram Yamaha 55 EDS/L Dark Bluish Gray Metallic 2 (DBNM2; 004D) Finland (120) 15835000-841539