Cdi magneto Diagram Yamaha 70 (E)TLR
- Year
- 1985
- Model
- 70
- Year
- 1985
- Stroke (2-stroke or 4-stroke)
- 2 stroke
- Power
- 70
- Sales region
- U.S.A.
Difficulties in parts search?
Difficulties in parts search?
| Description | OEM Part # | Price | |||
|---|---|---|---|---|---|
|
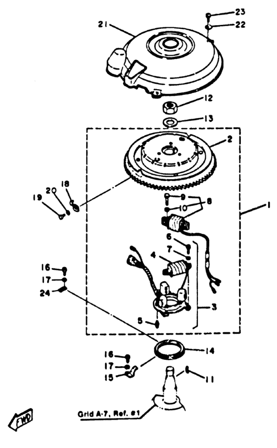
1
|
1
UNA-VAILA-BL-EI
Carburetor Assembly
|
UNA-VAILA-BL-EI |
— | ||
|
2
|
2
6K5-85550-A0-00 Rotor Assy |
6K5-85550-A0-00 |
US $814.44 |
||
| replacement | |||||
|
2
|
2
6K5-85550-A1-00 Rotor Assy |
6K5-85550-A1-00 |
from US $814.44 |
||
|
3
|
3
6H3-85510-A0-00 Stator Assembly |
6H3-85510-A0-00 |
US $595.32 |
||
| replacement | |||||
|
3
|
3
6H3-85510-A1-00 Stator Assy |
6H3-85510-A1-00 |
from US $571.62 |
||
|
4
|
4
6H3-85520-00-00 Coil, Charge |
6H3-85520-00-00 |
from US $179.61 |
||
|
5
|
5
663-85518-00-00 Joint, Ball |
663-85518-00-00 |
from US $8.64 |
||
|
6
|
6
985-01050-16-00
Screw, Pan Head
|
985-01050-16-00 |
— | ||
| replacements | |||||
|
6
|
6
98507-05016-00 Screw, Pan Head |
98507-05016-00 |
from US $1.07 |
||
|
6
|
6
97885-05016-00 Screw, Pan Head |
97885-05016-00 |
from US $3.12 |
||
|
7
|
7
92990-05100-00 Washer, Spring |
92990-05100-00 |
from US $1.21 |
||
|
8
|
8
6H3-81303-A0-00 Lighting Coil Assembly |
6H3-81303-A0-00 |
from US $214.15 |
||
|
9
|
9
97313-06030-00 Bolt |
97313-06030-00 |
from US $2.83 |
||
| replacement | |||||
|
9
|
9
97080-06030-00 Bolt |
97080-06030-00 |
from US $2.83 |
||
|
10
|
10
929-90066-00-00 Washer, Plain (646) |
929-90066-00-00 |
from US $1.07 |
||
|
11
|
11
90280-05049-00 Key, Woodruff |
90280-05049-00 |
from US $4.64 |
||
|
12
|
12
90170-20137-00 Nut |
90170-20137-00 |
from US $8.94 |
||
|
13
|
13
90201-21M18-00 Washer, Plate |
90201-21M18-00 |
from US $2.32 |
||
|
14
|
14
6H3-41611-00-00
Retainer, Magneto Base
|
6H3-41611-00-00 |
— | ||
|
15
|
15
6H3-41612-00-00 Retainer, Magneto Base |
6H3-41612-00-00 |
from US $5.53 |
||
|
16
|
16
985-80060-12-00
Screw, Pan Head
|
985-80060-12-00 |
— | ||
| replacement | |||||
|
16
|
16
97885-06012-00 Screw, Pan Head |
97885-06012-00 |
from US $1.56 |
||
|
17
|
17
929-90066-00-00 Washer, Plain (646) |
929-90066-00-00 |
from US $1.07 |
||
|
18
|
18
6E5-81332-00-00 Plate, Timing |
6E5-81332-00-00 |
from US $6.23 |
||
|
19
|
19
985-80060-10-00 Screw, Pan Head (92503-06010-00 |
985-80060-10-00 |
from US $1.42 |
||
|
20
|
20
929-90066-00-00 Washer, Plain (646) |
929-90066-00-00 |
from US $1.07 |
||
|
21
|
21
6H3-81337-01-00 Cover, Flywheel |
6H3-81337-01-00 |
from US $38.57 |
||
|
22
|
22
90209-06M04-00
Washer
|
90209-06M04-00 |
— | ||
|
23
|
23
985-03060-14-00
Screw, Pan Head
|
985-03060-14-00 |
— | ||
| replacement | |||||
|
23
|
23
98507-06014-00 Screw, Pan Head |
98507-06014-00 |
from US $1.07 |
||
|
24
|
24
6H3-41612-10-00 Retainer, Magneto Base |
6H3-41612-10-00 |
from US $5.53 |
||