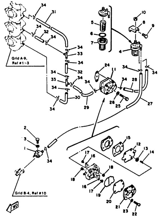
Fuel system Diagram Yamaha 70 (E)TLR
- Year
- 1985
- Model
- 70
- Year
- 1985
- Stroke (2-stroke or 4-stroke)
- 2 stroke
- Power
- 70
- Sales region
- U.S.A.
Difficulties in parts search?
Difficulties in parts search?
| Description | OEM Part # | Price | |||
|---|---|---|---|---|---|
|
1
|
1
6G1-24304-02-00 Fuel Pipe Joint Comp. 1 |
6G1-24304-02-00 |
US $29.47 |
||
| replacements | |||||
|
1
|
1
6G1-24304-10-00 Fuel Pipe Joint Comp. 1 |
6G1-24304-10-00 |
US $29.47 |
||
|
1
|
1
6G1-24304-11-00 FUEL PIPE JOINT COMP 1 |
6G1-24304-11-00 |
from US $30.10 |
||
|
2
|
2
97313-06025-00 Bolt |
97313-06025-00 |
US $1.35 |
||
| replacement | |||||
|
2
|
2
90101-06M27-00 Bolt |
90101-06M27-00 |
from US $1.35 |
||
|
3
|
3
929-90066-00-00 Washer, Plain (646) |
929-90066-00-00 |
from US $1.07 |
||
|
4
|
4
655-24560-01-00 Filter Assembly |
655-24560-01-00 |
US $42.69 |
||
| replacement | |||||
|
4
|
4
61N-24560-10-00 Filter Assy |
61N-24560-10-00 |
from US $24.80 |
||
|
5
|
5
6F5-24563-00-00 Element, Filter |
6F5-24563-00-00 |
from US $8.08 |
||
|
6
|
6
93210-37M25-00 O-Ring |
93210-37M25-00 |
from US $4.68 |
||
|
7
|
7
655-24521-01-00
Cup, Filter
|
655-24521-01-00 |
— | ||
| replacement | |||||
|
7
|
7
999-99999-99-00
Not Available
|
999-99999-99-00 |
— | ||
|
8
|
8
648-24566-01-00
Bracket, Filter
|
648-24566-01-00 |
— | ||
|
9
|
9
97313-06014-00 Bolt, Hexagon |
97313-06014-00 |
US $2.41 |
||
| replacements | |||||
|
9
|
9
97080-06014-00 Bolt |
97080-06014-00 |
from US $7.08 |
||
|
9
|
9
97095-06014-00 Bolt |
97095-06014-00 |
US $1.56 |
||
|
9
|
9
97D95-06014-00 Bolt, Hexagon Deep R |
97D95-06014-00 |
from US $1.07 |
||
|
9
|
9
97D95-06014-00 Bolt, Hexagon Deep R |
97D95-06014-00 |
from US $1.07 |
||
|
9
|
9
97D95-06014-00 Bolt, Hexagon Deep R |
97D95-06014-00 |
from US $1.07 |
||
|
10
|
10
95303-08600-00 Nut |
95303-08600-00 |
from US $1.42 |
||
| replacements | |||||
|
10
|
10
997-80086-00-00 Nut, Hex |
997-80086-00-00 |
from US $1.59 |
||
|
10
|
10
953-33086-00-00 Nut |
953-33086-00-00 |
from US $1.42 |
||
|
11
|
11
6A0-24410-05-00 Fuel Pump Assembly |
6A0-24410-05-00 |
US $131.67 |
||
| replacements | |||||
|
11
|
11
692-24410-00-00 Fuel Pump Assy |
692-24410-00-00 |
US $131.67 |
||
|
11
|
11
692-24410-01-00 FUEL PUMP ASSY |
692-24410-01-00 |
from US $64.80 |
||
|
12
|
12
648-24411-00-00 Diaphragm |
648-24411-00-00 |
from US $21.50 |
||
|
13
|
13
648-24424-00-00 Seat, Spring |
648-24424-00-00 |
from US $3.68 |
||
|
14
|
14
648-24423-00-00 Spring, Diaphragm |
648-24423-00-00 |
from US $3.68 |
||
|
15
|
15
648-24434-01-00 Gasket, Body |
648-24434-01-00 |
from US $4.30 |
||
|
16
|
16
6A0-24421-01-00 Valve,check |
6A0-24421-01-00 |
US $20.69 |
||
| replacement | |||||
|
16
|
16
62Y-24421-01-00 Valve, Check |
62Y-24421-01-00 |
from US $18.94 |
||
|
17
|
17
90147-03M00-00
Screw, Pan Head
|
90147-03M00-00 |
— | ||
|
18
|
18
98813-03100-00 Nut |
98813-03100-00 |
US $2.20 |
||
|
19
|
19
6A0-24435-00-00 Gasket, Body 2 |
6A0-24435-00-00 |
US $11.32 |
||
|
20
|
20
663-24411-00-00 Diaphragm |
663-24411-00-00 |
from US $8.94 |
||
|
21
|
21
6A0-24413-00-00 Body 2 |
6A0-24413-00-00 |
from US $23.69 |
||
| replacement | |||||
|
21
|
21
648-24413-01-00 Cover, Pump |
648-24413-01-00 |
from US $17.65 |
||
|
22
|
22
98503-05028-00 Screw, Pan Head |
98503-05028-00 |
US $2.27 |
||
| replacements | |||||
|
22
|
22
98580-05530-00 Screw, Pan Head |
98580-05530-00 |
from US $2.27 |
||
|
22
|
22
98517-05030-00 Screw, Pan Head |
98517-05030-00 |
from US $1.22 |
||
|
23
|
23
92990-05100-00 Washer, Spring |
92990-05100-00 |
from US $1.21 |
||
|
24
|
24
650-24431-00-00 Gasket, Fuel Pump 1 |
650-24431-00-00 |
US $2.98 |
||
| replacement | |||||
|
24
|
24
650-24431-A0-00 Gasket, Fuel Pump 1 |
650-24431-A0-00 |
from US $1.34 |
||
|
25
|
25
97313-06040-00 Bolt (682) |
97313-06040-00 |
from US $1.28 |
||
| replacement | |||||
|
25
|
25
97095-06040-00 Bolt |
97095-06040-00 |
from US $1.28 |
||
|
26
|
26
929-90066-00-00 Washer, Plain (646) |
929-90066-00-00 |
from US $1.07 |
||
|
27
|
27
90445-09M75-00 Hose (L370) |
90445-09M75-00 |
from US $6.52 |
||
| replacements | |||||
|
27
|
27
904-45090-F6-00 Hose (L1500) |
904-45090-F6-00 |
from US $6.30 |
||
|
27
|
27
904-45092-K1-00 Hose (L420) |
904-45092-K1-00 |
from US $4.96 |
||
|
28
|
28
90445-09072-00 Hose (L120) |
90445-09072-00 |
from US $6.52 |
||
| replacements | |||||
|
28
|
28
904-45090-F6-00 Hose (L1500) |
904-45090-F6-00 |
from US $6.30 |
||
|
28
|
28
904-45092-K1-00 Hose (L420) |
904-45092-K1-00 |
from US $4.96 |
||
|
29
|
29
90445-09072-00 Hose (L120) |
90445-09072-00 |
from US $6.52 |
||
| replacements | |||||
|
29
|
29
904-45090-F6-00 Hose (L1500) |
904-45090-F6-00 |
from US $6.30 |
||
|
29
|
29
904-45092-K1-00 Hose (L420) |
904-45092-K1-00 |
from US $4.96 |
||
|
30
|
30
6H3-24313-00-00 Pipe 3 |
6H3-24313-00-00 |
US $9.78 |
||
| replacement | |||||
|
30
|
30
6A4-24312-00-00 Pipe, Fuel 2 |
6A4-24312-00-00 |
from US $9.78 |
||
|
31
|
31
6H3-24314-00-00 Pipe 4 |
6H3-24314-00-00 |
from US $3.97 |
||
|
32
|
32
90445-09M22-00 Hose (L285) |
90445-09M22-00 |
from US $14.73 |
||
| replacements | |||||
|
32
|
32
90445-09M21-00 Hose (L445) |
90445-09M21-00 |
from US $14.73 |
||
|
32
|
32
90445-094K7-00 Hose (L180) |
90445-094K7-00 |
from US $4.11 |
||
|
33
|
33
688-24378-00-00 Pipe, Joint 3 |
688-24378-00-00 |
from US $6.94 |
||
|
34
|
34
90467-08004-00 Clip |
90467-08004-00 |
from US $1.70 |
||