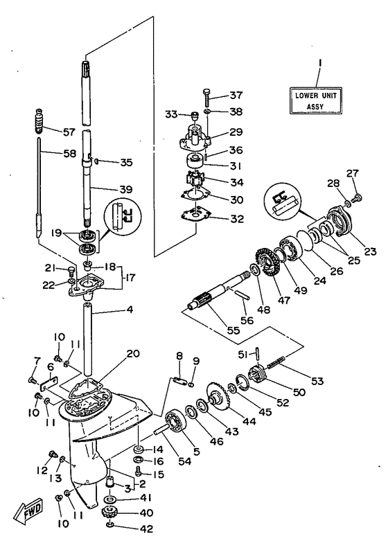
Boitier dhelice, transmissio Diagram Yamaha 8 MHS/L
- Year
- 1997
- Model
- E8D
- Model code
- 677
- Year
- 1997
- Stroke (2-stroke or 4-stroke)
- 2 stroke
- Power
- 8
- Sales region
- Europe (General) (999)
- Colour
- Dark Bluish Gray Metallic 2 (DBNM2; 004D)
Difficulties in parts search?
Difficulties in parts search?
| Description | OEM Part # | Price | |||
|---|---|---|---|---|---|
|
01
|
01
677-45300-11-4D Lower Unit Assy |
677-45300-11-4D |
US $1,333.20 |
||
|
02
|
02
655-45310-02-4D Lower Casing Assy |
655-45310-02-4D |
US $388.74 |
||
|
03
|
03
647-45316-09-00 Bushing, Drive Shaft |
647-45316-09-00 |
from US $14.14 |
||
|
04
|
04
90387-14108-00 Collar |
90387-14108-00 |
US $4.96 |
||
|
05
|
05
93306-00426-00 Bearing (5Y1) |
93306-00426-00 |
from US $12.33 |
||
| replacement | |||||
|
05
|
05
93306-00423-00 Bearing (7K2) |
93306-00423-00 |
from US $12.75 |
||
|
06
|
06
655-45214-02-4D Cover, Water Inlet 1 |
655-45214-02-4D |
US $22.81 |
||
|
07
|
07
98780-05016-00 Screw, Flat Head |
98780-05016-00 |
from US $2.13 |
||
|
08
|
08
626-45215-00-00 Cover, Water Inlet 2 |
626-45215-00-00 |
US $5.67 |
||
|
09
|
09
90334-10008-00 Plug, Straight |
90334-10008-00 |
US $3.54 |
||
|
10
|
10
903-4008M-04-00
Plug, Straight Screw
|
903-4008M-04-00 |
— | ||
| replacement | |||||
|
10
|
10
903-40080-02-00 Plug, Straight Screw |
903-40080-02-00 |
from US $3.12 |
||
|
11
|
11
904-30080-20-00 Gasket |
904-30080-20-00 |
from US $1.28 |
||
| replacement | |||||
|
11
|
11
90430-08003-00 Gasket |
90430-08003-00 |
from US $1.28 |
||
|
12
|
12
90149-06003-00 Screw |
90149-06003-00 |
US $4.39 |
||
|
13
|
13
90430-06M03-00 Gasket |
90430-06M03-00 |
from US $1.36 |
||
|
14
|
14
677-45251-00-00 Anode |
677-45251-00-00 |
from US $7.38 |
||
|
15
|
15
95895-06012-00 Bolt, Flange |
95895-06012-00 |
from US $1.28 |
||
|
16
|
16
92990-06300-00 Washer, Internal Tooth |
92990-06300-00 |
from US $1.84 |
||
|
17
|
17
647-45331-00-94 Housing, Bearing |
647-45331-00-94 |
from US $23.52 |
||
|
18
|
18
647-45316-09-00 Bushing, Drive Shaft |
647-45316-09-00 |
from US $14.14 |
||
|
19
|
19
93101-18050-00 Oil Seal |
93101-18050-00 |
from US $9.44 |
||
|
20
|
20
677-45315-00-00 Packing, Lower Casing |
677-45315-00-00 |
US $5.81 |
||
| replacement | |||||
|
20
|
20
677-45315-A1-00 Packing, Lower Casing |
677-45315-A1-00 |
from US $2.70 |
||
|
21
|
21
97095-06020-00 Bolt |
97095-06020-00 |
US $1.56 |
||
| replacement | |||||
|
21
|
21
970-80060-20-00 Bolt |
970-80060-20-00 |
from US $1.56 |
||
|
22
|
22
929-90066-00-00 Washer, Plain (646) |
929-90066-00-00 |
from US $1.07 |
||
|
23
|
23
655-45361-02-4D Cap, Lower Casing |
655-45361-02-4D |
US $55.95 |
||
|
24
|
24
933-06005-19-00 Bearing |
933-06005-19-00 |
from US $14.88 |
||
|
25
|
25
93101-15074-00 Oil Seal |
93101-15074-00 |
from US $7.42 |
||
|
26
|
26
93210-58677-00 O-Ring |
93210-58677-00 |
from US $2.70 |
||
|
27
|
27
97095-06020-00 Bolt |
97095-06020-00 |
US $1.56 |
||
| replacement | |||||
|
27
|
27
970-80060-20-00 Bolt |
970-80060-20-00 |
from US $1.56 |
||
|
28
|
28
929-90066-00-00 Washer, Plain (646) |
929-90066-00-00 |
from US $1.07 |
||
|
29
|
29
655-44311-03-00 Housing, Water Pump |
655-44311-03-00 |
US $20.54 |
||
|
30
|
30
655-44315-00-00
Gasket, Water Pump
|
655-44315-00-00 |
— | ||
| replacement | |||||
|
30
|
30
655-44315-A1-00 Gasket, Water Pump |
655-44315-A1-00 |
US $4.68 |
||
|
31
|
31
650-44322-01-00 Insert, Cartridge |
650-44322-01-00 |
US $16.29 |
||
|
31
|
31
655-44322-41-00 Insert, CartridgeUr chromate |
655-44322-41-00 |
US $45.73 |
||
|
32
|
32
655-44323-01-00 Outer Plate, CartridgeUr |
655-44323-01-00 |
from US $4.38 |
||
|
32
|
32
655-44323-41-00 Outer Plate, CartridgeUr chromate |
655-44323-41-00 |
US $30.46 |
||
|
33
|
33
647-44366-00-00
Damper, Water Seal 2
|
647-44366-00-00 |
— | ||
| replacement | |||||
|
33
|
33
647-44366-01-00 DAMPER WATER SEAL 2 |
647-44366-01-00 |
from US $1.70 |
||
|
34
|
34
662-44352-01-00 Impeller |
662-44352-01-00 |
from US $22.56 |
||
|
35
|
35
90280-03024-00 Key, Woodruff |
90280-03024-00 |
from US $5.40 |
||
|
36
|
36
93604-18080-00 Pin, Dowel |
93604-18080-00 |
from US $1.70 |
||
|
37
|
37
97095-06040-00 Bolt |
97095-06040-00 |
from US $1.28 |
||
|
38
|
38
929-90066-00-00 Washer, Plain (646) |
929-90066-00-00 |
from US $1.07 |
||
|
39
|
39
655-45501-10-00 Drive Shaft Comp |
655-45501-10-00 |
US $320.53 |
||
|
40
|
40
647-45551-00-00 Pinion (13T) |
647-45551-00-00 |
US $50.29 |
||
|
41
|
41
647-45533-00-08 Shim (T:0.8Mm)Ur |
647-45533-00-08 |
US $2.13 |
||
| replacement | |||||
|
41
|
41
647-45533-00-00 Shim (T:0.8Mm)Ur |
647-45533-00-00 |
US $2.13 |
||
|
41
|
41
647-45533-00-10 Shim (T:1.0Mm)Ur |
647-45533-00-10 |
from US $2.13 |
||
| replacement | |||||
|
41
|
41
647-45533-20-00 Shim (T:1.0Mm)Ur |
647-45533-20-00 |
from US $2.13 |
||
|
41
|
41
647-45533-00-12 Shim (T:1.2Mm)Ur |
647-45533-00-12 |
US $2.13 |
||
| replacement | |||||
|
41
|
41
647-45533-40-00 Shim (T:1.2Mm)Ur |
647-45533-40-00 |
US $2.13 |
||
|
41
|
41
647-45533-00-14 Shim (T:1.4Mm)Ur |
647-45533-00-14 |
US $2.13 |
||
| replacement | |||||
|
41
|
41
647-45533-60-00 Shim (T:1.4Mm)Ur |
647-45533-60-00 |
US $2.13 |
||
|
42
|
42
99080-07600-00 Clip |
99080-07600-00 |
from US $1.70 |
||
|
43
|
43
624-45567-00-03 Shim (T:0.3Mm)Ur |
624-45567-00-03 |
US $9.35 |
||
|
43
|
43
624-45567-00-05
Shim (T:0.5Mm)
Ur |
624-45567-00-05 |
— | ||
|
44
|
44
647-45560-00-00 Gear 1 (27T) |
647-45560-00-00 |
US $116.19 |
||
|
45
|
45
90201-13198-00 Washer, Plate |
90201-13198-00 |
from US $3.54 |
||
|
46
|
46
647-45567-00-00 Shim (T:0.10Mm) |
647-45567-00-00 |
from US $5.81 |
||
|
47
|
47
647-45570-01-00 Gear 2 (27T) |
647-45570-01-00 |
US $116.19 |
||
|
48
|
48
90201-15229-00 Washer, Plate |
90201-15229-00 |
US $3.54 |
||
|
49
|
49
626-45577-00-03 Shim (T:0.30Mm)Ur |
626-45577-00-03 |
US $4.53 |
||
| replacement | |||||
|
49
|
49
626-45577-20-00 Shim (T:0.30Mm)Ur |
626-45577-20-00 |
from US $2.36 |
||
|
49
|
49
626-45577-00-05 Shim (T:0.50Mm)Ur |
626-45577-00-05 |
US $4.53 |
||
| replacement | |||||
|
49
|
49
626-45577-40-00 Shim (T:0.50Mm)Ur |
626-45577-40-00 |
from US $4.53 |
||
|
49
|
49
626-45577-00-01 Shim (T:0.10Mm)Ur |
626-45577-00-01 |
US $4.53 |
||
| replacement | |||||
|
49
|
49
626-45577-00-00 Shim (T:0.10Mm)Ur |
626-45577-00-00 |
from US $4.53 |
||
|
50
|
50
655-45631-00-00 Clutch, Dog |
655-45631-00-00 |
US $54.30 |
||
|
51
|
51
93605-29098-00 Pin, Dowel |
93605-29098-00 |
US $4.39 |
||
|
52
|
52
93440-30040-00 Circlip |
93440-30040-00 |
US $2.55 |
||
|
53
|
53
90501-10064-00 Spring, Compression |
90501-10064-00 |
from US $5.81 |
||
|
54
|
54
654-45635-00-00 Plunger, Shift |
654-45635-00-00 |
from US $11.05 |
||
|
55
|
55
677-45611-01-00 Shaft, Propeller |
677-45611-01-00 |
US $186.52 |
||
|
56
|
56
90250-05036-00 Pin, Straight |
90250-05036-00 |
from US $2.02 |
||
|
57
|
57
6G1-44147-00-00 Boot, Shift Rod |
6G1-44147-00-00 |
from US $12.33 |
||
|
58
|
58
655-44150-10-00 Shift Cam Assy |
655-44150-10-00 |
US $52.50 |
||