Steering Diagram Yamaha F15 PS/LH
- Year
- 2003
- Model
- F15
- Year
- 2003
- Stroke (2-stroke or 4-stroke)
- 4 stroke
- Power
- 15
- Sales region
- U.S.A.
Difficulties in parts search?
Difficulties in parts search?
| Description | OEM Part # | Price | |||
|---|---|---|---|---|---|
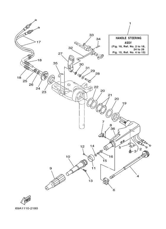
|
1
|
1
69A-W0084-00-4D Handle Steering Assy |
69A-W0084-00-4D |
US $269.64 |
||
| replacement | |||||
|
1
|
1
69A-W0084-01-4D Handle, Steering |
69A-W0084-01-4D |
from US $269.64 |
||
|
2
|
2
69A-42101-00-4D Handle, Steering |
69A-42101-00-4D |
from US $81.61 |
||
|
3
|
3
90109-06M86-00 Bolt |
90109-06M86-00 |
from US $2.52 |
||
|
4
|
4
65W-42138-00-00 Lever, Throttle |
65W-42138-00-00 |
from US $26.12 |
||
|
5
|
5
69A-42159-00-00 Stay |
69A-42159-00-00 |
from US $5.81 |
||
|
6
|
6
6G1-42126-00-00 Friction, Steering Handle Grip |
6G1-42126-00-00 |
from US $8.64 |
||
| replacement | |||||
|
6
|
6
6EE-G2126-00-00 Friction, Steering |
6EE-G2126-00-00 |
from US $2.98 |
||
|
7
|
7
65W-42125-00-00 Bolt, Friction Adjusting |
65W-42125-00-00 |
from US $10.63 |
||
|
8
|
8
91490-16010-00 Pin. Cotter |
91490-16010-00 |
from US $1.34 |
||
|
9
|
9
66M-42177-00-00 Rubber, Handle |
66M-42177-00-00 |
US $22.39 |
||
|
10
|
10
66M-42119-00-00 Grip, Steering Handle |
66M-42119-00-00 |
US $26.78 |
||
| replacement | |||||
|
10
|
10
66M-42119-01-00 Grip, Steering Handle |
66M-42119-01-00 |
from US $26.78 |
||
|
11
|
11
689-42137-20-00 Indicator, Throttle |
689-42137-20-00 |
from US $11.76 |
||
| replacement | |||||
|
11
|
11
689-42137-30-00
Indicator, Throttle
|
689-42137-30-00 |
— | ||
|
12
|
12
90269-02M09-00 Rivet |
90269-02M09-00 |
from US $1.98 |
||
|
13
|
13
901-4905M-13-00
Screw
|
901-4905M-13-00 |
— | ||
| replacement | |||||
|
13
|
13
901-52050-11-00 Screw, Countersunk |
901-52050-11-00 |
from US $1.34 |
||
|
14
|
14
92903-10600-00 Washer, Plate |
92903-10600-00 |
US $1.07 |
||
| replacement | |||||
|
14
|
14
929-90106-00-00 Washer, Plate |
929-90106-00-00 |
from US $1.07 |
||
|
15
|
15
90501-23215-00 Spring, Compression |
90501-23215-00 |
from US $3.40 |
||
|
16
|
16
90386-08032-00 Bush |
90386-08032-00 |
from US $2.13 |
||
|
17
|
17
66M-26311-00-00 Cable, Throttle 1 |
66M-26311-00-00 |
from US $21.39 |
||
|
18
|
18
90446-10M87-00 Hose (L75) |
90446-10M87-00 |
US $3.68 |
||
| replacement | |||||
|
18
|
18
90446-10M86-00 Hose (L140) |
90446-10M86-00 |
from US $3.68 |
||
|
19
|
19
90386-40MA0-00 Bush |
90386-40MA0-00 |
US $3.68 |
||
| replacement | |||||
|
19
|
19
66R-42171-00-00 Bushing |
66R-42171-00-00 |
from US $2.66 |
||
|
20
|
20
90201-43M00-00 Washer, Plate |
90201-43M00-00 |
from US $2.32 |
||
|
21
|
21
90206-43M22-00 Washer, Wave |
90206-43M22-00 |
from US $9.07 |
||
|
22
|
22
90202-43M57-00 Washer, Plate |
90202-43M57-00 |
from US $1.66 |
||
|
23
|
23
90386-40M99-00 Bush |
90386-40M99-00 |
from US $3.12 |
||
|
24
|
24
66M-42131-01-00 Cover, Handle Steering |
66M-42131-01-00 |
US $6.94 |
||
| replacement | |||||
|
24
|
24
65W-42131-01-00 Cover, Handle Steering |
65W-42131-01-00 |
from US $6.94 |
||
|
25
|
25
95780-10300-00 Nut, Flange |
95780-10300-00 |
from US $5.95 |
||
|
26
|
26
95380-10700-00 Nut |
95380-10700-00 |
from US $7.37 |
||
|
27
|
27
66M-44111-01-00 Handle, Gear Shift |
66M-44111-01-00 |
from US $35.28 |
||
|
28
|
28
970-95060-30-00
Bolt
|
970-95060-30-00 |
— | ||
| replacement | |||||
|
28
|
28
97080-06030-00 Bolt |
97080-06030-00 |
from US $2.83 |
||
|
29
|
29
929-95066-00-00
Washer, Plate
|
929-95066-00-00 |
— | ||
| replacement | |||||
|
29
|
29
929-90066-00-00 Washer, Plain (646) |
929-90066-00-00 |
from US $1.07 |
||
|
30
|
30
90206-10M04-00 Washer, Wave |
90206-10M04-00 |
from US $1.84 |
||
|
31
|
31
90387-06M78-00 Collar |
90387-06M78-00 |
US $5.44 |
||
|
32
|
32
66M-44124-00-00 Link, Shift Rod |
66M-44124-00-00 |
from US $11.19 |
||
|
33
|
33
92990-06200-00 Washer, Plain |
92990-06200-00 |
from US $1.07 |
||
|
34
|
34
90468-18008-00 Clip |
90468-18008-00 |
from US $1.70 |
||
|
35
|
35
6E0-44191-11-00 Indicator, Shift |
6E0-44191-11-00 |
US $4.68 |
||
| replacement | |||||
|
35
|
35
6X3-44191-00-00 Indicator, Shift |
6X3-44191-00-00 |
from US $4.68 |
||
|
36
|
36
6E0-83627-41-00 Label, Caution 7 |
6E0-83627-41-00 |
from US $6.66 |
||