Control Diagram Yamaha F15 E(H)PS/L
- Year
- 2007
- Model
- F15A
- Model code
- 69A
- Year
- 2007
- Stroke (2-stroke or 4-stroke)
- 4 stroke
- Power
- 15
- Sales region
- Europe (060)
- Colour
- Dark Bluish Gray Metallic 2 (DBNM2; 004D)
Difficulties in parts search?
Difficulties in parts search?
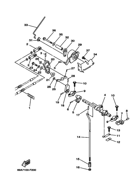
| Description | OEM Part # | Price | |||
|---|---|---|---|---|---|
|
2
|
2
663-48344-00-00
Cable End, Remote Control
|
663-48344-00-00 |
— | ||
| replacement | |||||
|
2
|
2
6FM-48344-00-00 CABLE END, REMOTE CONTROL |
6FM-48344-00-00 |
from US $2.69 |
||
|
3
|
3
90468-18008-00 Clip |
90468-18008-00 |
from US $1.70 |
||
|
4
|
4
65W-44121-00-00 Lever, Shift Rod |
65W-44121-00-00 |
from US $64.60 |
||
|
5
|
5
66M-44122-00-00 Bushing, Shift Rod Lever |
66M-44122-00-00 |
from US $5.53 |
||
|
6
|
6
90254-03M05-00 Pin, Spring |
90254-03M05-00 |
from US $2.55 |
||
|
7
|
7
65W-44173-00-00 Lever, Shift ControlFOR NEUTRAL SW. |
65W-44173-00-00 |
US $10.63 |
||
| replacement | |||||
|
7
|
7
65W-44173-01-00 Lever, Shift ControlFOR NEUTRAL SW. |
65W-44173-01-00 |
from US $9 |
||
|
8
|
8
90254-03M05-00 Pin, SpringFOR NEUTRAL SW. |
90254-03M05-00 |
from US $2.55 |
||
|
9
|
9
6F5-41662-00-00 Bracket 2 |
6F5-41662-00-00 |
from US $16.20 |
||
|
10
|
10
901-0906M-81-00 Bolt |
901-0906M-81-00 |
from US $2.52 |
||
|
11
|
11
65W-44116-00-00 Spring |
65W-44116-00-00 |
from US $4.39 |
||
|
12
|
12
66R-44114-00-00 Stopper |
66R-44114-00-00 |
from US $6.94 |
||
|
13
|
13
90109-06M86-00 Bolt |
90109-06M86-00 |
from US $2.52 |
||
|
14
|
14
66M-44143-10-00 Rod, ShiftL(22.4") |
66M-44143-10-00 |
from US $32.73 |
||
|
15
|
15
90170-06015-00 Nut |
90170-06015-00 |
US $9.78 |
||
| replacement | |||||
|
15
|
15
61N-44146-00-00 Connector, Shift Rod 2 |
61N-44146-00-00 |
from US $9.60 |
||
|
16
|
16
953-80067-00-00 Nut |
953-80067-00-00 |
from US $1.34 |
||
| replacement | |||||
|
16
|
16
9538R-06700-00 Nut |
9538R-06700-00 |
from US $1.42 |
||
|
17
|
17
90468-18008-00 Clip |
90468-18008-00 |
from US $1.70 |
||
|
18
|
18
65W-44142-00-00 Joint |
65W-44142-00-00 |
from US $11.76 |
||
|
19
|
19
90254-03M05-00 Pin, Spring |
90254-03M05-00 |
from US $2.55 |
||
|
20
|
20
65W-44125-00-00 Lever, Shift Rod |
65W-44125-00-00 |
from US $7.65 |
||
|
21
|
21
90387-06M29-00 Collar |
90387-06M29-00 |
from US $5.81 |
||
|
22
|
22
90201-06M31-00 Washer, Plate |
90201-06M31-00 |
from US $1.70 |
||
|
23
|
23
970-95060-25-00
Bolt
|
970-95060-25-00 |
— | ||
| replacement | |||||
|
23
|
23
90101-06M27-00 Bolt |
90101-06M27-00 |
from US $1.35 |
||
|
24
|
24
929-95066-00-00
Washer, Plate
|
929-95066-00-00 |
— | ||
| replacement | |||||
|
24
|
24
929-90066-00-00 Washer, Plain (646) |
929-90066-00-00 |
from US $1.07 |
||
|
25
|
25
66M-44192-00-00 Joint, Rod 1 |
66M-44192-00-00 |
from US $19.94 |
||
|
26
|
26
90201-05M06-00 Washer, Plate |
90201-05M06-00 |
from US $1.98 |
||
|
27
|
27
90468-10005-00 Clip |
90468-10005-00 |
from US $3.40 |
||
|
28
|
28
90468-18008-00 Clip |
90468-18008-00 |
from US $1.70 |
||
|
29
|
29
65W-41638-00-00 Pulley |
65W-41638-00-00 |
from US $16.81 |
||
|
30
|
30
65W-41283-00-00 Lever, Free Accel |
65W-41283-00-00 |
from US $2.69 |
||
|
31
|
31
661-41262-02-00 Joint, Choke Lever |
661-41262-02-00 |
from US $7.62 |
||
|
32
|
32
90387-06064-00
Collar
|
90387-06064-00 |
— | ||
|
33
|
33
66M-41211-00-00 Link, Accel |
66M-41211-00-00 |
from US $8.50 |
||
|
34
|
34
65W-14497-01-00
Stay, Throttle Wire
|
65W-14497-01-00 |
— | ||
|
35
|
35
90201-06M31-00 Washer, Plate |
90201-06M31-00 |
from US $1.70 |
||
|
36
|
36
97595-06555-00 Bolt, With Washer |
97595-06555-00 |
from US $4.11 |
||
| replacement | |||||
|
36
|
36
97E95-06555-00 Bolt, Hexagon W/w Deep Recess |
97E95-06555-00 |
from US $1.21 |
||
|
37
|
37
970-95060-10-00
Bolt
|
970-95060-10-00 |
— | ||
| replacement | |||||
|
37
|
37
97085-06010-00 Bolt |
97085-06010-00 |
from US $1.28 |
||