Repair kit 1 Diagram Yamaha F30 M(E/W/H/D/T)S/L/X
- Year
- 2001
- Model
- F30A
- Model code
- 69H
- Year
- 2001
- Stroke (2-stroke or 4-stroke)
- 4 stroke
- Power
- 30
- Sales region
- Europe (General) (340)
- Colour
- Dark Bluish Gray Metallic 2 (DBNM2; 004D)
Difficulties in parts search?
Difficulties in parts search?
| Description | OEM Part # | Price | |||
|---|---|---|---|---|---|
|
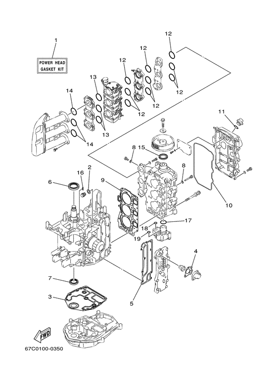
01
|
01
67C-W0001-00-00 Power Head Gasket Kit |
67C-W0001-00-00 |
US $370.60 |
||
| replacement | |||||
|
01
|
01
67C-W0001-01-00 Power Head Gasket Kit |
67C-W0001-01-00 |
from US $370.60 |
||
|
02
|
02
904-30141-15-00 Gasket |
904-30141-15-00 |
from US $1.90 |
||
|
03
|
03
67C-11351-00-00 Gasket, Cylinder |
67C-11351-00-00 |
US $20.12 |
||
| replacement | |||||
|
03
|
03
67C-11351-01-00 Gasket, Cylinder |
67C-11351-01-00 |
from US $20.12 |
||
|
04
|
04
62Y-12414-00-00 Gasket, Cover |
62Y-12414-00-00 |
from US $4.68 |
||
| replacement | |||||
|
04
|
04
62Y-12414-01-00 GASKET COVER |
62Y-12414-01-00 |
from US $4.68 |
||
|
05
|
05
67C-41114-00-00 Gasket, Exhaust Outer Cover |
67C-41114-00-00 |
US $22.95 |
||
| replacement | |||||
|
05
|
05
67C-41114-10-00 Gasket, Exhaust Outer Cover |
67C-41114-10-00 |
from US $22.95 |
||
|
06
|
06
931-0243M-42-00 Oil Seal |
931-0243M-42-00 |
from US $10.91 |
||
|
07
|
07
931-0235M-47-00 Oil Seal |
931-0235M-47-00 |
from US $14.17 |
||
|
08
|
08
904-30060-14-00 Gasket (Copper washer) |
904-30060-14-00 |
from US $1.28 |
||
|
09
|
09
67C-11181-01-00 Gasket, Cylinder Head 1 |
67C-11181-01-00 |
from US $92.57 |
||
|
10
|
10
67C-11356-00-00 Seal, Cylinder 2 |
67C-11356-00-00 |
from US $28.96 |
||
|
11
|
11
932-1024M-79-00
O-Ring
|
932-1024M-79-00 |
— | ||
| replacements | |||||
|
11
|
11
932-10242-35-00 O-Ring |
932-10242-35-00 |
from US $2.36 |
||
|
11
|
11
93210-24800-00 O-Ring |
93210-24800-00 |
from US $1.28 |
||
|
12
|
12
67C-14561-00-00 O-Ring |
67C-14561-00-00 |
from US $11.05 |
||
|
13
|
13
67C-14562-00-00 O-Ring |
67C-14562-00-00 |
from US $14.03 |
||
|
14
|
14
93210-34MJ6-00 O-Ring |
93210-34MJ6-00 |
from US $3.12 |
||
|
15
|
15
931-0237M-40-00 Oil Seal |
931-0237M-40-00 |
from US $8.22 |
||
|
16
|
16
90280-04M06-00 Key, Woodruff |
90280-04M06-00 |
from US $4.82 |
||
|
17
|
17
932-1033M-H2-00 O-Ring |
932-1033M-H2-00 |
from US $3.83 |
||
|
18
|
18
932-1012M-G9-00 O-Ring |
932-1012M-G9-00 |
from US $1.84 |
||
|
19
|
19
932-10145-15-00 O-Ring |
932-10145-15-00 |
from US $2.55 |
||