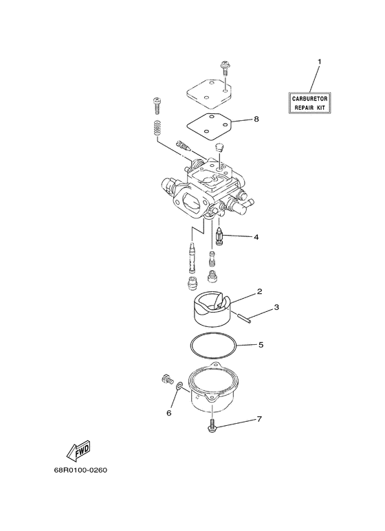
Repair kit 2 Diagram Yamaha F6 MHS/L
- Year
- 2001
- Model
- F6B
- Model code
- 69F
- Year
- 2001
- Stroke (2-stroke or 4-stroke)
- 4 stroke
- Power
- 6
- Sales region
- Europe (General) (020)
- Colour
- Dark Bluish Gray Metallic 2 (DBNM2; 004D)
Difficulties in parts search?
Difficulties in parts search?
| Description | OEM Part # | Price | |||
|---|---|---|---|---|---|
|
01
|
01
68T-W0093-00-00 Carburetor Repair Kit |
68T-W0093-00-00 |
from US $86.90 |
||
|
02
|
02
68T-14385-00-00 Float |
68T-14385-00-00 |
from US $37.17 |
||
|
03
|
03
67D-14386-00-00 Pin, Float |
67D-14386-00-00 |
from US $6.80 |
||
|
04
|
04
68T-14546-00-00 Valve, Needle |
68T-14546-00-00 |
from US $32.59 |
||
|
05
|
05
67D-14984-00-00 Gasket, Float Chamber |
67D-14984-00-00 |
from US $6.66 |
||
|
06
|
06
6J8-14959-00-00 Gasket |
6J8-14959-00-00 |
US $2.41 |
||
| replacement | |||||
|
06
|
06
6J8-14995-00-00 Gasket |
6J8-14995-00-00 |
from US $1.34 |
||
|
07
|
07
97980-04112-00 Screw, With Washer |
97980-04112-00 |
from US $2.13 |
||
| replacement | |||||
|
07
|
07
98580-04012-00 Screw, Pan Head (686) |
98580-04012-00 |
from US $1.28 |
||
|
08
|
08
67D-14536-00-00 Gasket |
67D-14536-00-00 |
from US $8.78 |
||