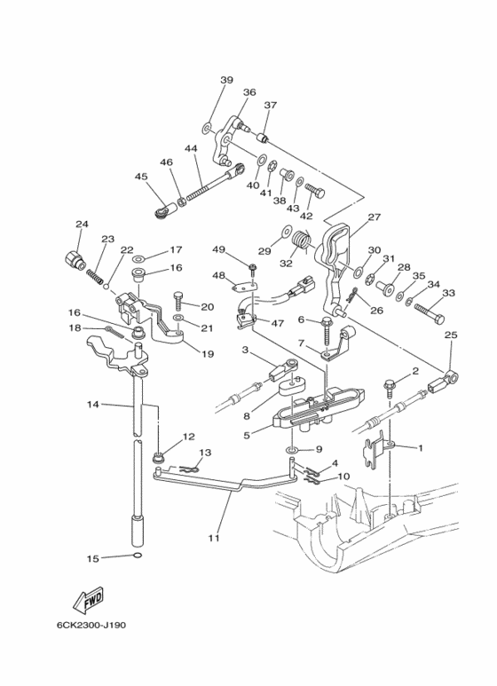
Control Diagram Yamaha F80 EDL
- Year
- 2010
- Model
- F80C
- Model code
- 6CK2
- Year
- 2010
- Stroke (2-stroke or 4-stroke)
- 4 stroke
- Power
- 80
- Sales region
- Finland (020)
- Colour
- Dark Bluish Gray 1 (DBN1; 008D)
Difficulties in parts search?
Difficulties in parts search?
| Description | OEM Part # | Price | |||
|---|---|---|---|---|---|
|
1
|
1
67F-48538-00-00 Clamp, Cable 1 |
67F-48538-00-00 |
from US $11.05 |
||
|
2
|
2
90109-06M86-00 Bolt |
90109-06M86-00 |
from US $2.52 |
||
|
3
|
3
663-48344-00-00
Cable End, Remote Control
|
663-48344-00-00 |
— | ||
| replacement | |||||
|
3
|
3
6FM-48344-00-00 CABLE END, REMOTE CONTROL |
6FM-48344-00-00 |
from US $2.69 |
||
|
4
|
4
90468-18008-00 Clip |
90468-18008-00 |
from US $1.70 |
||
|
5
|
5
6D8-44117-00-00 Bracket |
6D8-44117-00-00 |
US $32.44 |
||
| replacement | |||||
|
5
|
5
6D8-44117-00-94 Bracket |
6D8-44117-00-94 |
from US $32.44 |
||
|
6
|
6
97595-06550-00 Bolt, With Washer |
97595-06550-00 |
US $1.28 |
||
| replacement | |||||
|
6
|
6
97E-95065-50-00 BOLT HEXAGON WW DEEP RECESS |
97E-95065-50-00 |
from US $1.28 |
||
|
7
|
7
90462-10027-00 Clamp |
90462-10027-00 |
from US $9.78 |
||
|
8
|
8
68V-44122-01-00 Bushing, Shift Rod Lever |
68V-44122-01-00 |
from US $4.11 |
||
|
9
|
9
90202-07M07-00 Washer, Plate |
90202-07M07-00 |
from US $1.84 |
||
|
10
|
10
90468-18008-00 Clip |
90468-18008-00 |
from US $1.70 |
||
|
11
|
11
67F-44121-00-00 Lever, Shift Rod |
67F-44121-00-00 |
from US $37.58 |
||
|
12
|
12
90386-06M12-00 Bush |
90386-06M12-00 |
from US $2.69 |
||
|
13
|
13
90468-18008-00 Clip |
90468-18008-00 |
from US $1.70 |
||
|
14
|
14
60C-44120-10-00 Handle Gear Shift AssyL(20.3") |
60C-44120-10-00 |
US $205.86 |
||
|
15
|
15
932-10091-65-00
O-Ring
|
932-10091-65-00 |
— | ||
| replacements | |||||
|
15
|
15
93210-09811-00 O-Ring |
93210-09811-00 |
from US $1.28 |
||
|
15
|
15
93210-09350-00 O-Ring |
93210-09350-00 |
from US $1.35 |
||
|
16
|
16
90386-90M90-00 Bush |
90386-90M90-00 |
from US $2 |
||
|
17
|
17
90201-09M02-00 Washer, Plate |
90201-09M02-00 |
from US $2.55 |
||
|
18
|
18
91490-20015-00 Pin. Cotter |
91490-20015-00 |
from US $1.13 |
||
|
19
|
19
68V-44118-00-00 Bracket |
68V-44118-00-00 |
from US $38.96 |
||
|
20
|
20
97075-06025-00 Bolt |
97075-06025-00 |
US $1.35 |
||
| replacement | |||||
|
20
|
20
90101-06M27-00 Bolt |
90101-06M27-00 |
from US $1.35 |
||
|
21
|
21
929-95066-00-00
Washer, Plate
|
929-95066-00-00 |
— | ||
| replacement | |||||
|
21
|
21
929-90066-00-00 Washer, Plain (646) |
929-90066-00-00 |
from US $1.07 |
||
|
22
|
22
93501-04M02-00 Ball |
93501-04M02-00 |
from US $1.34 |
||
|
23
|
23
90501-12082-00 Spring, Compression |
90501-12082-00 |
from US $1.66 |
||
|
24
|
24
648-42715-00-00 Bushing |
648-42715-00-00 |
from US $6.62 |
||
|
25
|
25
663-48344-00-00
Cable End, Remote Control
|
663-48344-00-00 |
— | ||
| replacement | |||||
|
25
|
25
6FM-48344-00-00 CABLE END, REMOTE CONTROL |
6FM-48344-00-00 |
from US $2.69 |
||
|
26
|
26
90468-18008-00 Clip |
90468-18008-00 |
from US $1.70 |
||
|
27
|
27
6D8-42154-00-00 Lever, Throttle Control |
6D8-42154-00-00 |
from US $17.12 |
||
|
28
|
28
90387-06M21-00 Collar |
90387-06M21-00 |
from US $7.51 |
||
|
29
|
29
90201-06M62-00 Washer, Plate |
90201-06M62-00 |
from US $2.55 |
||
|
30
|
30
90201-10M02-00 Washer, Plate |
90201-10M02-00 |
from US $1.98 |
||
|
31
|
31
90206-10M04-00 Washer, Wave |
90206-10M04-00 |
from US $1.84 |
||
|
32
|
32
67F-44135-00-00 Spring |
67F-44135-00-00 |
from US $6.52 |
||
|
33
|
33
97095-06035-00 Bolt(6R8) |
97095-06035-00 |
from US $2.69 |
||
| replacement | |||||
|
33
|
33
97080-06035-00 Bolt(J52) |
97080-06035-00 |
from US $1.66 |
||
|
34
|
34
929-95061-00-00 Washer, Spring |
929-95061-00-00 |
from US $0.99 |
||
|
35
|
35
929-95066-00-00
Washer, Plate
|
929-95066-00-00 |
— | ||
| replacement | |||||
|
35
|
35
929-90066-00-00 Washer, Plain (646) |
929-90066-00-00 |
from US $1.07 |
||
|
36
|
36
6D8-42157-00-00 Lever, Throttle |
6D8-42157-00-00 |
from US $22.81 |
||
|
37
|
37
68V-42171-00-00 Bushing |
68V-42171-00-00 |
from US $5.24 |
||
|
38
|
38
90387-06013-00 Collar |
90387-06013-00 |
from US $4.68 |
||
|
39
|
39
90201-06M31-00 Washer, Plate |
90201-06M31-00 |
from US $1.70 |
||
|
40
|
40
90201-10M02-00 Washer, Plate |
90201-10M02-00 |
from US $1.98 |
||
|
41
|
41
90206-10M04-00 Washer, Wave |
90206-10M04-00 |
from US $1.84 |
||
|
42
|
42
970-95060-25-00
Bolt
|
970-95060-25-00 |
— | ||
| replacement | |||||
|
42
|
42
90101-06M27-00 Bolt |
90101-06M27-00 |
from US $1.35 |
||
|
43
|
43
929-95066-00-00
Washer, Plate
|
929-95066-00-00 |
— | ||
| replacement | |||||
|
43
|
43
929-90066-00-00 Washer, Plain (646) |
929-90066-00-00 |
from US $1.07 |
||
|
44
|
44
6D8-41237-00-00 Joint, Link |
6D8-41237-00-00 |
from US $8.93 |
||
|
45
|
45
682-41237-00-00 Joint, Link 2 |
682-41237-00-00 |
from US $1.66 |
||
|
46
|
46
95380-05600-00 Nut |
95380-05600-00 |
from US $1.42 |
||
|
47
|
47
60V-8259F-00-00 Switch Assy |
60V-8259F-00-00 |
US $36.89 |
||
|
48
|
48
61A-82588-01-00 Plate |
61A-82588-01-00 |
from US $3.68 |
||
|
49
|
49
97985-04116-00 Screw, With Washer |
97985-04116-00 |
from US $1.56 |
||