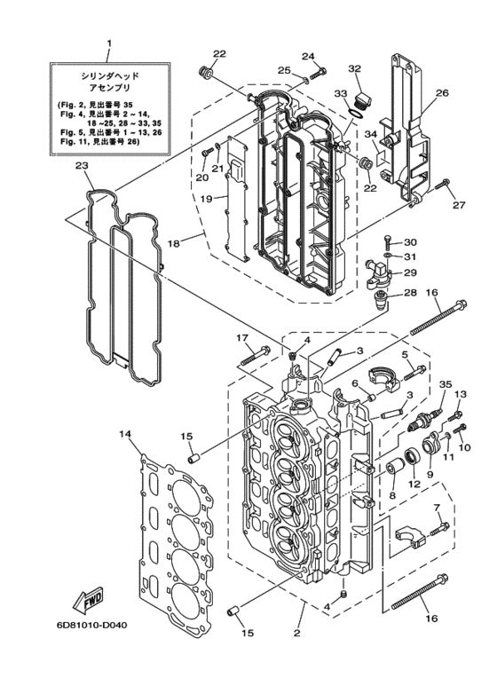
シリンダ & クランクケース 2 Diagram Yamaha F90 ETL/X
- Year
- 2005
- Model
- F90B
- Model code
- 6D8
- Year
- 2005
- Stroke (2-stroke or 4-stroke)
- 4 stroke
- Power
- 90
- Sales region
- Japan (070)
- Colour
- Dark Bluish Gray Metallic 2 (DBNM2; 004D)
Difficulties in parts search?
Difficulties in parts search?
| Description | OEM Part # | Price | |||
|---|---|---|---|---|---|
|
1
|
1
6D8-W009A-00-1S Cylinder Head Completeシリンダヘツドアセンブリ; |
6D8-W009A-00-1S |
US $3,669.60 |
||
| replacements | |||||
|
1
|
1
6D8-W009A-04-9S Cylinder Head Completeシリンダヘツドアセンブリ; |
6D8-W009A-04-9S |
US $3,669.60 |
||
|
1
|
1
6D8-W009A-05-9S Cylinder Head Completeシリンダヘツドアセンブリ; |
6D8-W009A-05-9S |
US $3,671.55 |
||
|
2
|
2
6D8-11110-00-94 Cylinder Head Assy |
6D8-11110-00-94 |
US $2,754.05 |
||
|
3
|
3
67F-11133-10-00 Guide, Valve 1.ガイド,バルブ 1; |
67F-11133-10-00 |
from US $17.28 |
||
|
4
|
4
903-44510-19-00
Plug, Taper Screw
.プラグ,テーパスクリユ; |
903-44510-19-00 |
— | ||
| replacement | |||||
|
4
|
4
903-44510-08-00 Plug, Taper Screw.プラグ,テーパスクリユ; |
903-44510-08-00 |
from US $1.62 |
||
|
5
|
5
90119-07235-00 Bolt/washer-Cam Caps.ボルト、ワツシヤーカム キヤツプス; |
90119-07235-00 |
from US $1.84 |
||
|
6
|
6
91809-08006-00 Pin, Dowel.スリーブガイドーダウエル; |
91809-08006-00 |
from US $1.84 |
||
|
7
|
7
K0F-A9904-20-00 Bolt, With Washer.ボルト,ウイズワツシヤ; |
K0F-A9904-20-00 |
from US $0.79 |
||
|
8
|
8
68V-11325-01-00 Anodeアノード; |
68V-11325-01-00 |
from US $12.75 |
||
|
9
|
9
69J-11327-00-94 Anode Cover Assy |
69J-11327-00-94 |
US $17.14 |
||
| replacements | |||||
|
9
|
9
69J-11301-10-00 Anode Cover Assy |
69J-11301-10-00 |
US $17.14 |
||
|
9
|
9
69J-11301-11-00 ANODE COVER ASSY |
69J-11301-11-00 |
from US $17.14 |
||
|
10
|
10
970-75060-20-00
Bolt
ボルト; |
970-75060-20-00 |
— | ||
| replacement | |||||
|
10
|
10
970-80060-20-00 Boltボルト; |
970-80060-20-00 |
from US $1.56 |
||
|
11
|
11
929-95066-00-00
Washer, Plate
|
929-95066-00-00 |
— | ||
| replacement | |||||
|
11
|
11
929-90066-00-00 Washer, Plain (646) |
929-90066-00-00 |
from US $1.07 |
||
|
12
|
12
67F-11328-00-00
Grommet, Anode
|
67F-11328-00-00 |
— | ||
| replacement | |||||
|
12
|
12
67F-11328-01-00 GROMMET ANODE |
67F-11328-01-00 |
from US $2.27 |
||
|
13
|
13
97575-08540-00 Bolt, With Washer |
97575-08540-00 |
US $5.10 |
||
| replacement | |||||
|
13
|
13
97E75-08540-00 Bolt, Hexagon W/w Deep Recess |
97E75-08540-00 |
from US $2.41 |
||
|
14
|
14
67F-11181-02-00
Gasket, Cylinder Head 1
|
67F-11181-02-00 |
— | ||
| replacement | |||||
|
14
|
14
67F-11181-03-00 Gasket, Cylinder Head 1 |
67F-11181-03-00 |
from US $100.86 |
||
|
15
|
15
90387-10M08-00 Collarカラー; |
90387-10M08-00 |
from US $1.56 |
||
| replacement | |||||
|
15
|
15
99530-14016-00 Pin, Dowelカラー; |
99530-14016-00 |
from US $1.56 |
||
|
16
|
16
90105-10M89-00 Bolt, Flangeボルト,フランジ; |
90105-10M89-00 |
US $9.49 |
||
|
17
|
17
90119-08M91-00 Bolt, With Washer |
90119-08M91-00 |
from US $4.25 |
||
|
18
|
18
6D8-11191-00-1S Cover, Cylinder Head 1カバー,シリンダヘツド 1; |
6D8-11191-00-1S |
US $310.86 |
||
| replacement | |||||
|
18
|
18
6D8-11191-01-9S Cover, Cylinder Head 1カバー,シリンダヘツド 1; |
6D8-11191-01-9S |
from US $310.86 |
||
|
19
|
19
67F-11168-00-00 Cover, Breather.カバー,ブリーザ; |
67F-11168-00-00 |
from US $20.69 |
||
|
20
|
20
98507-04008-00 Screw, Pan Head.スクリユ,パンヘツド; |
98507-04008-00 |
from US $1.07 |
||
|
21
|
21
92907-04600-00 Washer(Jf2).ワツシヤ; |
92907-04600-00 |
from US $1.07 |
||
|
22
|
22
90480-12072-00 Grommet |
90480-12072-00 |
from US $1.84 |
||
|
23
|
23
6D8-11356-00-00 Seal, Cylinder 2シール,シリンダ 2; |
6D8-11356-00-00 |
US $24.37 |
||
| replacement | |||||
|
23
|
23
6D8-11356-01-00 Seal, Cylinder 2シール,シリンダ 2; |
6D8-11356-01-00 |
from US $24.37 |
||
|
24
|
24
970-95060-30-00
Bolt
ボルト; |
970-95060-30-00 |
— | ||
| replacement | |||||
|
24
|
24
97080-06030-00 Boltボルト; |
97080-06030-00 |
from US $2.83 |
||
|
25
|
25
929-95066-00-00
Washer, Plate
|
929-95066-00-00 |
— | ||
| replacement | |||||
|
25
|
25
929-90066-00-00 Washer, Plain (646) |
929-90066-00-00 |
from US $1.07 |
||
|
26
|
26
67F-11192-01-00 Cover, Cylinder Head 2カバー,シリンダヘツド 2; |
67F-11192-01-00 |
US $27.20 |
||
| replacement | |||||
|
26
|
26
67F-11192-02-00 Cover, Cylinder Head 2カバー,シリンダヘツド 2; |
67F-11192-02-00 |
US $26.62 |
||
|
27
|
27
90159-06M29-00 Screw, With Washer |
90159-06M29-00 |
from US $2.13 |
||
|
28
|
28
67F-12411-01-00 Thermostatサーモスタツト; |
67F-12411-01-00 |
from US $54.88 |
||
|
29
|
29
68V-12413-00-1S Cover, Thermostatカバー,サーモスタツト; |
68V-12413-00-1S |
US $34.71 |
||
| replacement | |||||
|
29
|
29
68V-12413-00-9S Cover, Thermostatカバー,サーモスタツト; |
68V-12413-00-9S |
from US $24.50 |
||
|
30
|
30
970-95060-25-00
Bolt
ボルト; |
970-95060-25-00 |
— | ||
| replacement | |||||
|
30
|
30
90101-06M27-00 Boltボルト; |
90101-06M27-00 |
from US $1.35 |
||
|
31
|
31
929-95066-00-00
Washer, Plate
|
929-95066-00-00 |
— | ||
| replacement | |||||
|
31
|
31
929-90066-00-00 Washer, Plain (646) |
929-90066-00-00 |
from US $1.07 |
||
|
32
|
32
6G8-15363-00-00 Plug, Oilプラグ,オイル; |
6G8-15363-00-00 |
from US $4.64 |
||
|
33
|
33
932-1024M-79-00
O-Ring
O−リング; |
932-1024M-79-00 |
— | ||
| replacements | |||||
|
33
|
33
932-10242-35-00 O-RingO−リング; |
932-10242-35-00 |
from US $2.32 |
||
|
33
|
33
93210-24800-00 O-RingO−リング; |
93210-24800-00 |
from US $1.28 |
||
|
34
|
34
6D8-83626-00-00 Mark 6 |
6D8-83626-00-00 |
from US $4.68 |
||
|
35
|
35
94709-00391-00 Plug, Spark (Ngk Lfr5A-11)プラグ,スパーク ; NGK LFR5A−11 |
94709-00391-00 |
US $9.21 |
||