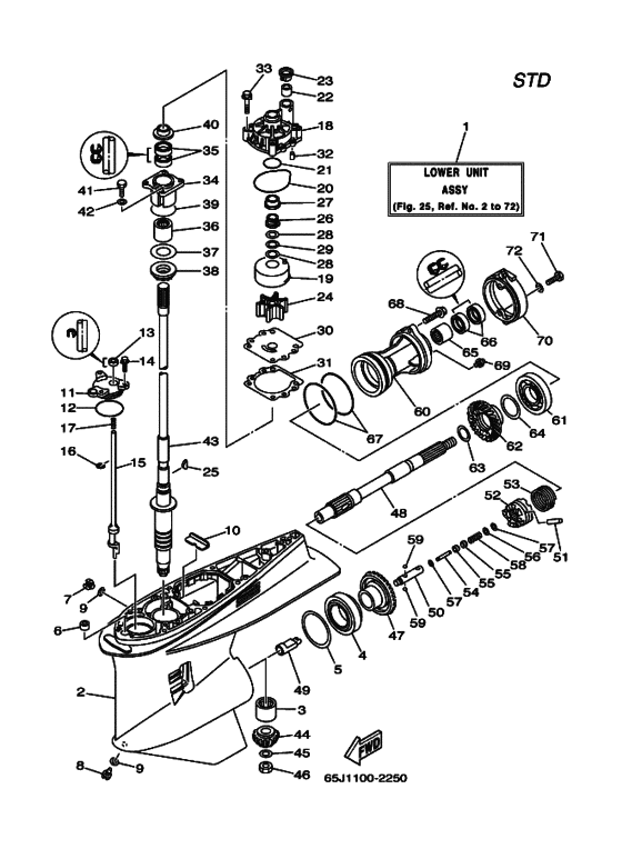
Lower casing & drive 1 Diagram Yamaha L250 ETOX

Year
2002
Model
L250B
Model code
65M
Year
2002
Stroke (2-stroke or 4-stroke)
2 stroke
Power
250
Sales region
Europe (050)
Colour
Dark Bluish Gray Metallic 2 (DBNM2; 004D)

Difficulties in parts search?

Parts list
Lower casing & drive 1

Difficulties in parts search?

Lower casing & drive 1

Nothing

Lower casing & drive 1 Diagram Yamaha L250 ETOX Dark Bluish Gray Metallic 2 (DBNM2; 004D) Europe (050) 13140359-762429