Tool 2 Diagram Honda CB500 CB500
- Model code
- CB500K1 A
- Sales region
- USA
- Frame
- CB5002000001 -
- Engine Capacity
- 500
Difficulties in parts search?
Difficulties in parts search?
| Description | OEM Part # | Price | |||
|---|---|---|---|---|---|
|
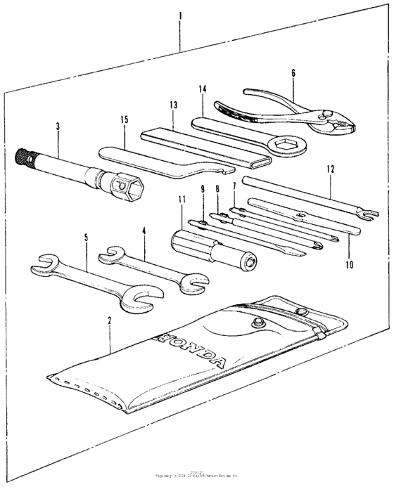
1
|
1
89010-390-000
Tool assy
Use from Frame SN 2034712 |
89010-390-000 |
— | ||
|
2
|
2
89101-ME5-670
Bag, tool
Use from Frame SN 2034712 |
89101-ME5-670 |
— | ||
|
3
|
3
89216-323-000
Wrench,plug
Use from Frame SN 2034712 |
89216-323-000 |
— | ||
|
4
|
4
99001-10120 SpannerUse from Frame SN 2034712 |
99001-10120 |
from US $3.55 |
||
|
5
|
5
99001-14170 Spanner14X17 Use from Frame SN 2034712 |
99001-14170 |
from US $4.59 |
||
|
6
|
6
99002-13500
Pliers
Use from Frame SN 2034712 |
99002-13500 |
— | ||
| replacement | |||||
|
6
|
6
89210-GBJ-J10 Pliers, 135 (kowa)Use from Frame SN 2034712 |
89210-GBJ-J10 |
from US $8.88 |
||
|
7
|
7
99003-10000 Driver1PLUS SCREW(NO.2) Use from Frame SN 2034712 |
99003-10000 |
from US $1.41 |
||
|
8
|
8
9900320000 Driver 2, plus screw (no.3)Use from Frame SN 2034712 |
9900320000 |
from US $1.55 |
||
|
9
|
9
99003-30000 Driver 3MINUS SCREW (NO.2) Use from Frame SN 2034712 |
99003-30000 |
from US $1.41 |
||
|
10
|
10
9900340000 LeverUse from Frame SN 2034712 |
9900340000 |
from US $0.98 |
||
|
11
|
11
99003-50000 GripSCREW DRIVER Use from Frame SN 2034712 |
99003-50000 |
from US $1.70 |
||
|
12
|
12
9900502000 Bar b, handleUse from Frame SN 2034712 |
9900502000 |
from US $2.96 |
||
|
13
|
13
99006-12000 Handle (12mm)Use from Frame SN 2034712 |
99006-12000 |
from US $4.29 |
||
|
14
|
14
99006-26000
Eye,wrench,26
Use from Frame SN 2034712 |
99006-26000 |
— | ||
|
15
|
15
99007-45000 Spanner,pin,45mmUse from Frame SN 2034712 |
99007-45000 |
from US $4.51 |
||