Gearshift fork + drum Diagram Honda CB750
- Model code
- CB750K1 A
- Sales region
- USA
- Frame
- CB7501044650 -
- Engine Capacity
- 750
Difficulties in parts search?
Difficulties in parts search?
| Description | OEM Part # | Price | |||
|---|---|---|---|---|---|
|
1
|
1
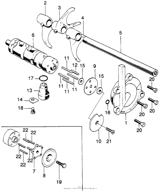
23150-300-010
Holder,shaft
|
23150-300-010 |
— | ||
|
2
|
2
24211-300-020
Fork,right shift
|
24211-300-020 |
— | ||
|
3
|
3
24212-300-030 Fork,center gear |
24212-300-030 |
US $68.29 |
||
|
4
|
4
24213-300-020
Fork,left shift
|
24213-300-020 |
— | ||
|
5
|
5
24261-300-030
Shaft,shift fork
|
24261-300-030 |
— | ||
|
6
|
6
24301-300-040
Drum,gear shift
|
24301-300-040 |
— | ||
|
9
|
9
24438-300-000
Plate,spacer
|
24438-300-000 |
— | ||
|
10
|
10
24441-300-010
Plate,stopper
Use up to Engine SN 1044967 |
24441-300-010 |
— | ||
|
10
|
10
24441-300-020
Plate,stopper
Use from Engine SN 1044968 |
24441-300-020 |
— | ||
|
11
|
11
24443-300-000
Roller,4x23,8
|
24443-300-000 |
— | ||
|
12
|
12
96220-40208 Roller (4x20.8) |
96220-40208 |
from US $0.37 |
||
|
13
|
13
35752-300-020 Switch,neutral |
35752-300-020 |
from US $57.39 |
||
|
14
|
14
35754-300-020
Stopper,switch
|
35754-300-020 |
— | ||
|
15
|
15
90436-300-000
Washer,20mm
|
90436-300-000 |
— | ||
|
16
|
16
91301-426-010 O-ring,4.9x2.5 |
91301-426-010 |
from US $3.77 |
||
|
17
|
17
91307-KF0-003 O-ring (18x3) |
91307-KF0-003 |
from US $1.42 |
||
|
17
|
17
91307-035-000 O-ring (18x3) |
91307-035-000 |
from US $4 |
||
|
18
|
18
92101-06016-0A BoltHEX., 6X16 |
92101-06016-0A |
from US $0.44 |
||
|
20
|
20
93600-060-200-A ScrewFLAT, 6X20 |
93600-060-200-A |
from US $0.44 |
||
|
21
|
21
93600-060-250-A ScrewFLAT, 6X25 |
93600-060-250-A |
US $0.52 |