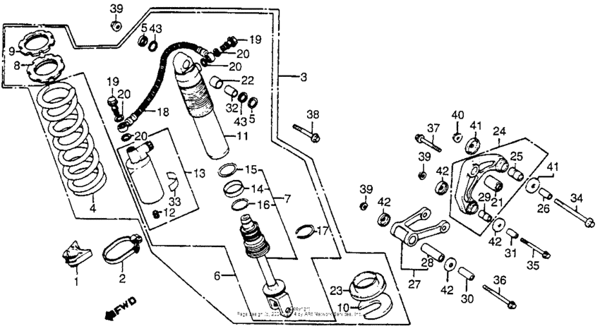
Rear shock absorber 83 Diagram Honda CR250
- Year
- 1983
- Model code
- CR250R A
- Sales region
- USA
- Frame
- JH2ME030*DC500016 - JH2ME030*DC505429
- Engine Capacity
- 250
Difficulties in parts search?
Difficulties in parts search?
| Description | OEM Part # | Price | |||
|---|---|---|---|---|---|
|
1
|
1
50250-KA3-710
Rub.,sub tank mtg
|
50250-KA3-710 |
— | ||
|
2
|
2
50252-KA3-830
Band,sub tank
|
50252-KA3-830 |
— | ||
|
3
|
3
52400-KA4-682
Shock absorber assy
Use up to Frame SN DC505536 |
52400-KA4-682 |
— | ||
|
4
|
4
52401-KA4-681
Spg.,rr.cushion
|
52401-KA4-681 |
— | ||
|
4
|
4
52401-KA4-711
Spring,rr.cushion
(Optional). |
52401-KA4-711 |
— | ||
|
4
|
4
52402-KA4-681
Spg.,rr.cushion
(Optional). |
52402-KA4-681 |
— | ||
|
5
|
5
52406-KB7-003 Cap, dust seal |
52406-KB7-003 |
from US $4.40 |
||
|
6
|
6
52410-KA4-682
Damper comp,rr
Use up to Frame SN DC505536 |
52410-KA4-682 |
— | ||
|
7
|
7
52421-KA4-681
Rod comp.,piston
|
52421-KA4-681 |
— | ||
|
8
|
8
52422-MA0-003 Adjuster, spring |
52422-MA0-003 |
from US $15.78 |
||
|
9
|
9
52423-KA3-711
Nut, adjuster
|
52423-KA3-711 |
— | ||
|
10
|
10
52424-KA3-711
Stopper, spring seat
|
52424-KA3-711 |
— | ||
|
11
|
11
52425-KA4-711
Case, shock absorber
|
52425-KA4-711 |
— | ||
|
12
|
12
52425-381-771 Cap, air valve |
52425-381-771 |
from US $4.59 |
||
|
13
|
13
52430-KA3-711
Sub tank assy
|
52430-KA3-711 |
— | ||
|
14
|
14
52431-MA0-771 Ring, piston |
52431-MA0-771 |
from US $12.88 |
||
|
15
|
15
52432-MA0-771
O-ring,2-0x34.5
|
52432-MA0-771 |
— | ||
|
16
|
16
52434-KA3-681 O-ring (3.5x33.7) |
52434-KA3-681 |
from US $4.88 |
||
|
17
|
17
52435-MA0-771 Ring, stopper |
52435-MA0-771 |
from US $3.26 |
||
|
18
|
18
52440-KA3-712
Hose comp.,joint
Use up to Frame SN DC505536 |
52440-KA3-712 |
— | ||
|
19
|
19
52441-KA3-711
Bolt, oil (10x22)
|
52441-KA3-711 |
— | ||
|
20
|
20
52442-KA3-711 Washer (10mm) |
52442-KA3-711 |
from US $1.22 |
||
|
21
|
21
52451-MA0-000 Bush, shock (lower) |
52451-MA0-000 |
from US $7.84 |
||
|
22
|
22
52452-KB7-003 Bush, shock (upper) |
52452-KB7-003 |
from US $13.35 |
||
|
23
|
23
52459-KA3-711
Seat c, spring
|
52459-KA3-711 |
— | ||
|
24
|
24
52460-KA3-710
Arm assy.,cushion
|
52460-KA3-710 |
— | ||
|
25
|
25
52462-MA0-013
Bush, damper arm
|
52462-MA0-013 |
— | ||
|
26
|
26
52463-MA0-010
Collar
|
52463-MA0-010 |
— | ||
|
27
|
27
52470-KA4-710
Rod,cush.conn.
|
52470-KA4-710 |
— | ||
|
28
|
28
52472-KA3-711 Bush |
52472-KA3-711 |
US $29.53 |
||
|
29
|
29
52472-MA0-013 Bush |
52472-MA0-013 |
from US $14.01 |
||
|
30
|
30
52473-KA3-710
Collar
|
52473-KA3-710 |
— | ||
|
31
|
31
52473-MA0-020 Collar |
52473-MA0-020 |
from US $7.84 |
||
|
32
|
32
52486-KB7-003 Colr, shock (upper) |
52486-KB7-003 |
from US $9.03 |
||
|
33
|
33
87516-MA0-003
Label, rr.
|
87516-MA0-003 |
— | ||
|
34
|
34
90128-KA4-003
Bolt, flange, 12x105
|
90128-KA4-003 |
— | ||
|
35
|
35
90129-KA3-710
Bolt,flange,10x76
|
90129-KA3-710 |
— | ||
|
36
|
36
90130-KA3-710 Bolt,flange,10x98 |
90130-KA3-710 |
US $12.43 |
||
| replacement | |||||
|
36
|
36
90130-KA3-730 Bolt, flange (10x98) |
90130-KA3-730 |
from US $13.05 |
||
|
37
|
37
90153-MA0-003
Bolt,flange,10x48
|
90153-MA0-003 |
— | ||
|
38
|
38
90153-965-000 Bolt (10x58) |
90153-965-000 |
from US $5.33 |
||
|
39
|
39
90304-GA6-003 Nut, axle, 10mm |
90304-GA6-003 |
from US $2.96 |
||
|
40
|
40
90306-181-761 Nut, flange (12mm) |
90306-181-761 |
from US $3.70 |
||
|
41
|
41
91262-KR8-750 Seal,cushion arm |
91262-KR8-750 |
from US $7.80 |
||
|
42
|
42
91262-KA3-712 Seal |
91262-KA3-712 |
from US $8.89 |
||
|
43
|
43
91351-KB7-003 Dust seal b |
91351-KB7-003 |
from US $2.59 |
||