Seat 85-86 Diagram Honda CR250
- Year
- 1986
- Model code
- CR250R A
- Sales region
- USA
- Frame
- JH2ME030*GC800021 - JH2ME030*GC808068
- Engine Capacity
- 250
Difficulties in parts search?
Parts list
Difficulties in parts search?
| Description | OEM Part # | Price | |||
|---|---|---|---|---|---|
|
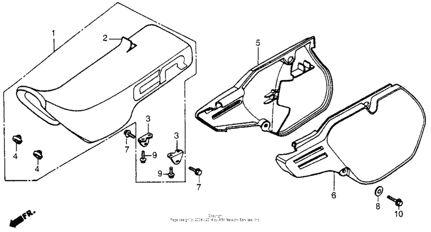
1
|
1
77100-KS6-000
Seat comp.(h=83)
(Optional). |
77100-KS6-000 |
— | ||
|
1
|
1
77100-KS6-670
Seat comp
(Optional). |
77100-KS6-670 |
— | ||
|
1
|
1
77100-KA3-850
Seat
|
77100-KA3-850 |
— | ||
|
2
|
2
77101-KA3-830
Leather comp.,sea
(Optional). |
77101-KA3-830 |
— | ||
|
2
|
2
77101-KA3-840
Leather comp.,sea
(Optional). |
77101-KA3-840 |
— | ||
|
2
|
2
77101-KA3-850
Leather comp.,sea
|
77101-KA3-850 |
— | ||
|
3
|
3
77105-KA3-830
Stay, rr. seat
|
77105-KA3-830 |
— | ||
|
4
|
4
77110-KA3-730 Rubber |
77110-KA3-730 |
from US $2.07 |
||
|
5
|
5
83520-KS6-000ZA
Sub*r-119/type-1*
|
83520-KS6-000ZA |
— | ||
|
6
|
6
83620-KS6-000ZA
Sub*r-119/type-1*
|
83620-KS6-000ZA |
— | ||
|
7
|
7
96300-0802000 Bolt, flange (8x20) |
96300-0802000 |
from US $0.74 |
||
|
8
|
8
90506-KA3-710
Washer, side cover
|
90506-KA3-710 |
— | ||
|
9
|
9
95701-060-160-8 BoltFLANGE, 6X16 |
95701-060-160-8 |
from US $0.38 |
||
|
10
|
10
96001-060-140-0 BoltFLANGE, 6X14 |
96001-060-140-0 |
from US $0.59 |