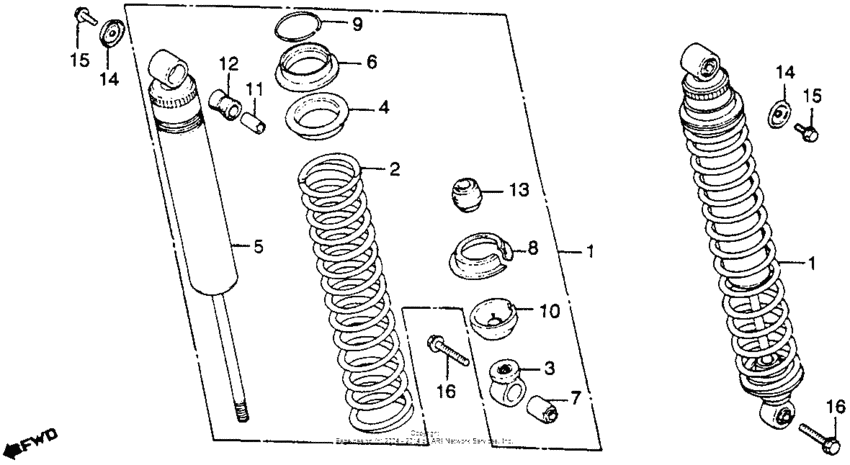
Rear shock absorber Diagram Honda XR250
- Year
- 1979
- Model code
- XR250 A
- Sales region
- USA
- Frame
- ME015000032 -
- Engine Capacity
- 250
Difficulties in parts search?
Parts list
Difficulties in parts search?
| Description | OEM Part # | Price | |||
|---|---|---|---|---|---|
|
1
|
1
52400-434-013
Cushion assy.,rr.
|
52400-434-013 |
— | ||
|
2
|
2
52401-434-003
Spg,rr,cushion
|
52401-434-003 |
— | ||
|
3
|
3
52403-360-700
Joint comp.,upper
|
52403-360-700 |
— | ||
|
4
|
4
52407-381-771
Guide,springlower
|
52407-381-771 |
— | ||
|
5
|
5
52410-434-013
Damper comp.,rr.
|
52410-434-013 |
— | ||
|
6
|
6
52422-400-681
Adjuster, spring
|
52422-400-681 |
— | ||
|
7
|
7
52451-357-000 Bush,rear damper |
52451-357-000 |
US $11.25 |
||
|
8
|
8
52459-400-681
Seat, spring stopper
|
52459-400-681 |
— | ||
|
9
|
9
52460-400-681
C-ring, stopper
|
52460-400-681 |
— | ||
|
10
|
10
52483-430-000
Seat
|
52483-430-000 |
— | ||
|
11
|
11
52486-056-000 Collar, rr. |
52486-056-000 |
from US $2.15 |
||
|
12
|
12
52489-399-601 Bush, rubber (upper) |
52489-399-601 |
from US $3.85 |
||
|
13
|
13
52517-400-681
Rubber, stopper
|
52517-400-681 |
— | ||
|
14
|
14
90502-429-770
Washer, rr. shock
|
90502-429-770 |
— | ||
|
15
|
15
95701-060-120-0 BoltFLANGE, 6X12 |
95701-060-120-0 |
from US $0.52 |
||
|
16
|
16
95701-1003500 Bolt, flange, 10x35 |
95701-1003500 |
from US $0.81 |