Step Diagram Kawasaki KE100
- Year
- 1988
- Colour
- Polar White (F1)
- Model code
- KE100-B07
- Sales region
- USA
- Engine Capacity
- 100
- Model
- KE100
Difficulties in parts search?
Parts list
Difficulties in parts search?
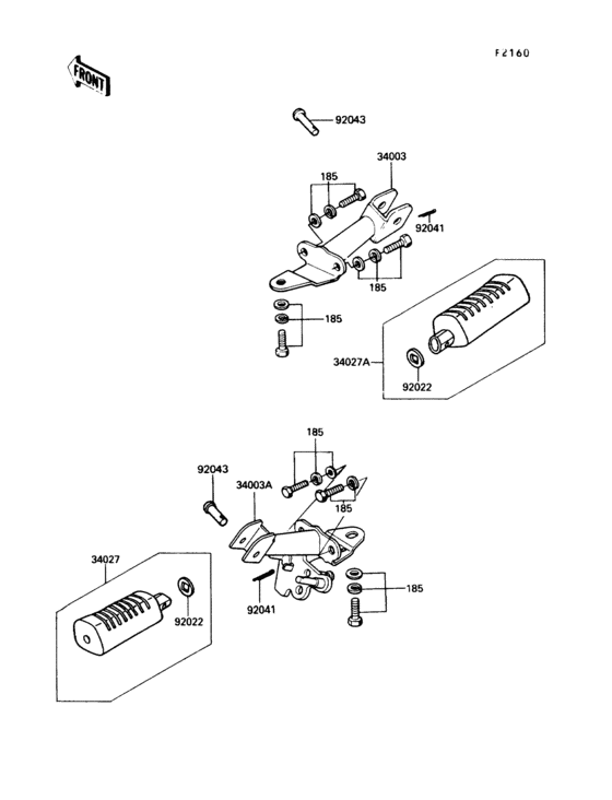
| Description | OEM Part # | Price | |||
|---|---|---|---|---|---|
|
185
|
185
185J0818
BOLT-UPSET-WSP-SMALL
|
185J0818 |
— | ||
| replacement | |||||
|
185
|
185
185BB0818 BOLT-UPSET-WSP-SMALL |
185BB0818 |
US $1.24 |
||
|
34003
|
34003
34003050 HOLDER,FOTREST BAR,RH |
34003050 |
US $72.99 |
||
|
34003A
|
34003A
34003-1073 HOLDER-STEP |
34003-1073 |
US $126.50 |
||
|
34027
|
34027
34027-1114
STEP-ASSY,FR,LH
|
34027-1114 |
— | ||
|
34027A
|
34027A
34027-1115 STEP-ASSY,FR,RH |
34027-1115 |
US $45.31 |
||
|
92022
|
92022
92022-1314 WASHER,STEP FITTING |
92022-1314 |
from US $3.33 |
||
|
92041
|
92041
92041-1051 COTTER |
92041-1051 |
from US $3.01 |
||
|
92043
|
92043
92043-080 PIN-FOOTREST BAR FIT |
92043-080 |
from US $3.33 |
||