Number plate Diagram Kawasaki KX80 KX80 Big Wheel
- Year
- 1987
- Model code
- KX80-J2
- Sales region
- USA
- Engine Capacity
- 80
- Model
- KX80 Big Wheel
Difficulties in parts search?
Parts list
Difficulties in parts search?
| Description | OEM Part # | Price | |||
|---|---|---|---|---|---|
|
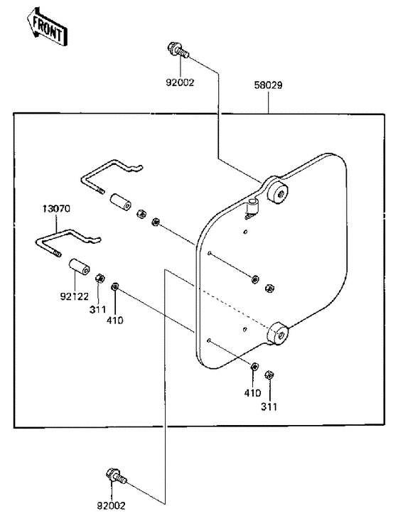
311
|
311
311B0300 NUT-HEX |
311B0300 |
from US $0.16 |
||
| replacement | |||||
|
311
|
311
311AA0300 NUT-HEX |
311AA0300 |
from US $0.73 |
||
|
410
|
410
410B0300 W-PLAIN-SWasher-plain-small, 3mm; |
410B0300 |
from US $0.79 |
||
| replacement | |||||
|
410
|
410
410AA0300 W-PLAIN-SWasher-plain-small, 3mm; |
410AA0300 |
from US $0.78 |
||
|
13070
|
13070
13070-1031 GUIDE,CABLEGuide,cable; |
13070-1031 |
US $10.45 |
||
|
58029
|
58029
58029-5011-6W
PLATE-NUMBER,L.GREEN
Plate-number,l.green; |
58029-5011-6W |
— | ||
|
92002
|
92002
92150-1340
BOLT,6X14
Bolt,6x14; |
92150-1340 |
— | ||
| replacement | |||||
|
92002
|
92002
92150-1505 BOLTBolt,6x14; |
92150-1505 |
from US $3.01 |
||
|
92122
|
92122
92122-1011 ROLLER,CABLE GUIDERoller,cable guide; |
92122-1011 |
US $6.81 |
||