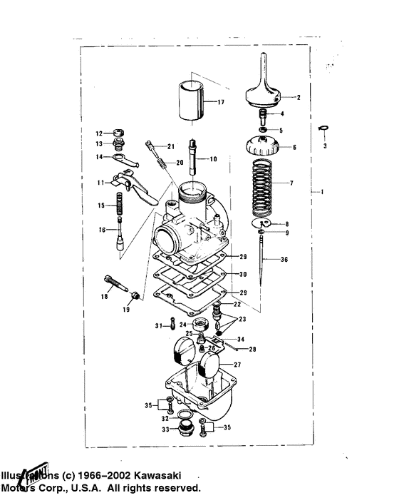
Carburetor ('73 f11m) Diagram Kawasaki Model "F" F11
- Year
- 1973
- Model code
- F11M
- Sales region
- USA
- Engine Capacity
- 250
- Model
- F11M
Difficulties in parts search?
Difficulties in parts search?
| Description | OEM Part # | Price | |||
|---|---|---|---|---|---|
|
1
|
1
16001-176 CARBURETOR ASSY |
16001-176 |
US $174.47 |
||
|
2
|
2
16036-011 CAP,CABLE ADJUSTERCap,cable adjuster; |
16036-011 |
US $12.01 |
||
|
3
|
3
92036-018 CIRCLIPCirclip; |
92036-018 |
from US $2.53 |
||
|
4
|
4
16002-011 CABLE ADJUSTERCable adjuster; |
16002-011 |
from US $9.98 |
||
|
5
|
5
16006-006 SPRING THROTTLE VALVE |
16006-006 |
US $2.93 |
||
|
6
|
6
16004-022 CAP-MIXING CHAMBER |
16004-022 |
US $9.86 |
||
|
7
|
7
16006-016
SPRING-THROTTLE VALVE
Spring-throttle valv; |
16006-016 |
— | ||
|
8
|
8
16007-022 SEAT-SPRING-CARB |
16007-022 |
US $11.63 |
||
|
9
|
9
16008-010 CIRCLIPCirclip; |
16008-010 |
from US $6.65 |
||
|
10
|
10
16017-067 NEEDLE JET O-6 |
16017-067 |
US $18.72 |
||
|
11
|
11
1606300
New Genuine Part
|
1606300 |
— | ||
|
12
|
12
16036-012 CAP,STARTER PLUNGERCap,starter plunger; |
16036-012 |
from US $7.78 |
||
| replacement | |||||
|
12
|
12
16039-015 CAP,RUBBER,STARTER PLCap,starter plunger; |
16039-015 |
from US $4.75 |
||
|
13
|
13
16012-016 CAP,PLUNGERCap,plunger; |
16012-016 |
from US $7.52 |
||
|
14
|
14
16013-009 SPRING,STATER LEVERSpring,stater lever; |
16013-009 |
US $5.26 |
||
|
15
|
15
16013-008 SPRING,STARTER PLUNGESpring,starter plug; |
16013-008 |
from US $4.82 |
||
|
16
|
16
16016-011
PLUNGER
|
16016-011 |
— | ||
|
17
|
17
16025-056 VALVE,TROTTLE CA2.5Valve,trottle ca2.5; |
16025-056 |
US $37.26 |
||
|
18
|
18
16021-022 SCREW,THROTTLE ADJUSTScrew,throttle adjust; |
16021-022 |
US $18.36 |
||
|
19
|
19
16003-009 NUT,CABLE ADJUST LOCKNut,cable adjust lock; |
16003-009 |
US $3.69 |
||
|
20
|
20
16022-007 SPRING,PILOT AIR SCRESpring-thr stop screw; |
16022-007 |
from US $5.44 |
||
|
21
|
21
16014-006
SCREW
|
16014-006 |
— | ||
|
22
|
22
16029-004 WASHER FLOAT VLV SEATWasher float valve seat; |
16029-004 |
from US $3.17 |
||
|
23
|
23
16030-020
FLOAT VALVE ASSY
|
16030-020 |
— | ||
|
24
|
24
16065-024 RING |
16065-024 |
US $32.40 |
||
|
25
|
25
16065-025 HOLDER,MAIN JETHolder,main jet; |
16065-025 |
US $34.34 |
||
|
26
|
26
92063-057 JET-MAIN,#A130Std, option, option, option, option |
92063-057 |
US $12.28 |
||
| replacement | |||||
|
26
|
26
92063-1103 JET-MAIN,#A130Std, option, option, option, option |
92063-1103 |
from US $8.71 |
||
|
27
|
27
16031-1062 FLOAT |
16031-1062 |
US $46.15 |
||
|
28
|
28
16032-003
PIN,FLOAT
Float pin; |
16032-003 |
— | ||
| replacement | |||||
|
28
|
28
16032-008 PIN,FLOATFloat pin; |
16032-008 |
from US $4.20 |
||
|
29
|
29
16019-022 GASKET |
16019-022 |
US $5.06 |
||
|
30
|
30
16038-010 PLATE |
16038-010 |
US $34.04 |
||
|
31
|
31
92064-027 PILOT JET #30 ISO |
92064-027 |
US $13.05 |
||
|
32
|
32
16034-003 WASHER-MAIN JET COVER |
16034-003 |
US $3.11 |
||
|
33
|
33
16049-004 COVER,MAIN SETCover,main set; |
16049-004 |
US $22.07 |
||
|
34
|
34
16055-004 ARM,FLOATArm,float; |
16055-004 |
US $18.32 |
||
|
35
|
35
16033-017
Screw
Screw, float chamber; |
16033-017 |
— | ||
|
36
|
36
16009-058 JET NEEDLE 6FL14 |
16009-058 |
US $8.21 |
||