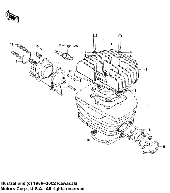
Cylinder head/cylinder ('73 f11m) Diagram Kawasaki Model "F" F11
- Year
- 1973
- Model code
- F11M
- Sales region
- USA
- Engine Capacity
- 250
- Model
- F11M
Difficulties in parts search?
Difficulties in parts search?
| Description | OEM Part # | Price | |||
|---|---|---|---|---|---|
|
1
|
1
92015-051 NUT,10MMNut,10mm; |
92015-051 |
US $13.23 |
||
|
2
|
2
461F1400 WASHER SPRING 14MM |
461F1400 |
US $0.60 |
||
|
3
|
3
410B1400 WASHER PLAIN 14MMWasher plain 14mm; |
410B1400 |
from US $1.27 |
||
| replacement | |||||
|
3
|
3
410AA1400 WASHER-PLAIN-SMALL,14Washer plain 14mm; |
410AA1400 |
from US $0.95 |
||
|
4
|
4
92001-1182
BOLT,10X45
Bolt,10x45; |
92001-1182 |
— | ||
|
5
|
5
461F0800
WASHER-SPRING,8MM
Washer spring 8mm; |
461F0800 |
— | ||
| replacement | |||||
|
5
|
5
461DA0800 WASHER-SPRING,8MMWasher spring 8mm; |
461DA0800 |
from US $0.48 |
||
|
6
|
6
410B0800 WASHER-PLAIN-SMALL,8MWasher plain 8mm; |
410B0800 |
US $0.79 |
||
| replacement | |||||
|
6
|
6
410AA0800 WASHER-PLAIN-SMALL,8MWasher plain 8mm; |
410AA0800 |
from US $0.63 |
||
|
7
|
7
11001-077-21 CYLINDER HEAD,F.BLACKCylinder head,f.blac; |
11001-077-21 |
US $165.44 |
||
|
8
|
8
11004-050 GASKET-CYLINDER HEAD |
11004-050 |
US $15.97 |
||
|
9
|
9
11005-101-21 CYLINDER,F.BLACKCylinder,f.black; |
11005-101-21 |
US $519.19 |
||
|
10
|
10
11009-029 GASKET-CYLINDER BASE |
11009-029 |
US $6.25 |
||
| replacement | |||||
|
10
|
10
11060-1381 GASKET,CYLINDER BASE |
11060-1381 |
US $6.59 |
||
|
11
|
11
172G0820
STUD,8X20
Stud 8x20; |
172G0820 |
— | ||
| replacement | |||||
|
11
|
11
172BA0820 STUD,8X20Stud 8x20; |
172BA0820 |
from US $1.40 |
||
|
12
|
12
172G0812
STUD,8X12
Stud,8x12; |
172G0812 |
— | ||
|
13
|
13
18062-004 HOLDER-EXHAUST PIPE |
18062-004 |
US $72.81 |
||
|
14
|
14
56019-102
New Genuine Part
|
56019-102 |
— | ||
|
15
|
15
318B0800
NUT-HEX-SMALL
Nut 8mm; |
318B0800 |
— | ||
| replacement | |||||
|
15
|
15
318AA0800 NUT-HEX-SMALLNut 8mm; |
318AA0800 |
from US $0.92 |
||
|
16
|
16
18071-003 SPRING-CONNECTORSpring-connector; |
18071-003 |
from US $9.35 |
||
|
17
|
17
18050-004
GASKET-EXHAUST PIPE
|
18050-004 |
— | ||
|
18
|
18
16065-012 HOLDER,CARBURETORHolder,carburetor; |
16065-012 |
US $15.17 |
||
|
19
|
19
92037-061 CLAMP-INLET PIPE |
92037-061 |
from US $8.09 |
||
|
20
|
20
220B0535 SCREW-PAN-CROS |
220B0535 |
US $1.11 |
||
| replacement | |||||
|
20
|
20
220AA0535 SCREW-PAN-CROS |
220AA0535 |
from US $0.95 |
||
|
21
|
21
461F0800
WASHER-SPRING,8MM
Washer spring 8mm; |
461F0800 |
— | ||
| replacement | |||||
|
21
|
21
461DA0800 WASHER-SPRING,8MMWasher spring 8mm; |
461DA0800 |
from US $0.48 |
||
|
22
|
22
311B0800
Nut,8mm
Nut,8mm; |
311B0800 |
— | ||
| replacements | |||||
|
22
|
22
317AA0800 NUT-HEX-SMALLNut,8mm; |
317AA0800 |
from US $0.94 |
||
|
22
|
22
311AA0800 NUT-HEX-SMALLNut,8mm; |
311AA0800 |
US $0.40 |
||