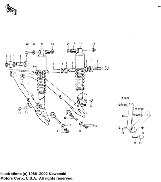
Swing arm/shock absorbers ('73 f11m) Diagram Kawasaki Model "F" F11
- Year
- 1973
- Model code
- F11M
- Sales region
- USA
- Engine Capacity
- 250
- Model
- F11M
Difficulties in parts search?
Difficulties in parts search?
| Description | OEM Part # | Price | |||
|---|---|---|---|---|---|
|
1
|
1
33001-054
Swinging arm
|
33001-054 |
— | ||
|
2
|
2
33032-035 SHAFT-SWING ARM PIVOTShaft-swing arm pivot; |
33032-035 |
US $12.53 |
||
|
3
|
3
33035005 CAP-SWINGING ARM |
33035005 |
from US $6.16 |
||
|
4
|
4
671B2530 0 RING,30MM"0" ring,30mm; |
671B2530 |
from US $3.17 |
||
|
5
|
5
33034-016 SLEEVE-SWINGING ARM |
33034-016 |
US $15.95 |
||
|
6
|
6
33033009
BUSHING-SWING ARM
|
33033009 |
— | ||
|
7
|
7
33034-018 SLEEVE-SWING ARM,LONGSleeve-swing arm,lon; |
33034-018 |
US $6.12 |
||
|
8
|
8
670B2016 O RING,16MM"0" ring,16mm; |
670B2016 |
from US $1.70 |
||
|
9
|
9
92019-017 NUT,12MMNut,12mm; |
92019-017 |
US $3.40 |
||
|
10
|
10
33040-050
ADJUSTER-CHAIN
|
33040-050 |
— | ||
|
11
|
11
33041002 PLATE-CHAIN ADJUSTERPlate, chain adjuster; |
33041002 |
US $15.84 |
||
|
12
|
12
312B0600 NUT-HEXNut 6mm; |
312B0600 |
US $0.95 |
||
| replacement | |||||
|
12
|
12
312AA0600 NUT-HEXNut 6mm; |
312AA0600 |
from US $0.94 |
||
|
13
|
13
55020-010
New Genuine Part
|
55020-010 |
— | ||
|
14
|
14
92122-002 ROLLAR |
92122-002 |
US $8.30 |
||
|
15
|
15
92027-192 COLLAR |
92027-192 |
US $1.12 |
||
|
16
|
16
110R0635 BOLT 6X35Bolt 6x35; |
110R0635 |
from US $1.58 |
||
|
17
|
17
92019-008 NUT |
92019-008 |
from US $2.53 |
||
|
18
|
18
112G0612
BOLT-UPSET,6X12
Bolt-upset,6x12; |
112G0612 |
— | ||
| replacement | |||||
|
18
|
18
112BA0612 BOLT-UP SETBolt-upset,6x12; |
112BA0612 |
from US $1.25 |
||
|
19
|
19
410B0600
WASHER-PLAIN-SMALL
Washer plain 6mm; |
410B0600 |
— | ||
| replacement | |||||
|
19
|
19
410AA0600 WASHER-PLAIN-SMALLWasher plain 6mm; |
410AA0600 |
from US $0.79 |
||
|
20
|
20
461F0600
WASHER-SPRING,6MM
Washer spring 6mm; |
461F0600 |
— | ||
| replacement | |||||
|
20
|
20
461DA0600 WASHER-SPRING,6MMWasher spring 6mm; |
461DA0600 |
from US $0.55 |
||
|
21
|
21
45014-086 SHOCK ABSBR RR |
45014-086 |
US $392.65 |
||
|
22
|
22
92019-016
NUT,10MM
Nut,10mm; |
92019-016 |
— | ||
|
23
|
23
92022-044 WASHER-PL-10.5X26X2.3Washer-pl-10.5x26x2.; |
92022-044 |
from US $3.20 |
||
|
24
|
24
410B1200 WASHER PLAIN 12MMWasher plain 12mm; |
410B1200 |
from US $0.95 |
||
| replacement | |||||
|
24
|
24
410AA1200 WASHER-PLAIN-SMALL,12Washer plain 12mm; |
410AA1200 |
from US $0.95 |
||