Gear change drum/shift fork(s) Diagram Kawasaki VN1500 Vulcan 88

Year
1993
Model code
VN1500-A7
Sales region
Canada
Engine Capacity
1500
Frame
JKAVNAA1 PA013001 - PA020000
Model
Vulcan 1500/ VN-15

Difficulties in parts search?

Parts list
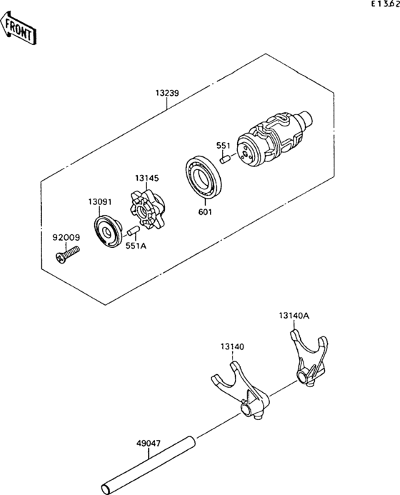
Gear change drum/shift fork(s)

Difficulties in parts search?

Gear change drum/shift fork(s)
Description OEM Part # Price
551
551

551A0408

PIN,DOWEL,4X8

551A0408

from US $1.17

551A
551A

551A0412

PIN-DOWEL

551A0412

from US $2.09

601
601

601A6005

BEARING-BALL

601A6005

from US $10.93

13091
13091

13091-1104

HOLDER,CHANGE DRUM PIN

13091-1104

from US $17.58

13140
13140

13140-1155

FORK-SHIFT,INPUT,2ND

13140-1155

US $82.28

13140A
13140A
13140-1258
FORK-SHIFT,OUTPUT,3RD

13140-1258

13145
13145
13145-1062
CAM-CHANGE DRUM

13145-1062

13239
13239
13239-1141
DRUM-ASSY-CHANGE

13239-1141

49047
49047

49047-1062

ROD-SHIFT

49047-1062

from US $20.75

92009
92009

92009-1599

SCREW

92009-1599

from US $2.53

Gear change drum/shift fork(s) Diagram Kawasaki VN1500 Vulcan 88 Canada 14300004-804764