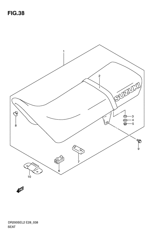
Seat Diagram Suzuki DR200 DR200SE
- Year
- 2012
- Model code
- DR200SEL2(E28) L2
- Sales region
- Canada
- Engine Capacity
- 200
- Model
- DR200SE
Difficulties in parts search?
Difficulties in parts search?
| Description | OEM Part # | Price | |||
|---|---|---|---|---|---|
|
1
|
1
45100-42AP0-FCB SEAT ASSY |
45100-42AP0-FCB |
from US $408.32 |
||
|
2
|
2
45180-42AA0-P21
BAND,SEAT(BLACK)
Band, seat (black); |
45180-42AA0-P21 |
— | ||
|
3
|
3
09169-06071-000 WASHERWasher, rr side Washer; |
09169-06071-000 |
from US $0.96 |
||
|
4
|
4
08212-06201-000 WASHERWasher, shifting rod guide |
08212-06201-000 |
from US $0.76 |
||
|
5
|
5
08316-2006A-000 NUT |
08316-2006A-000 |
from US $0.76 |
||
|
6
|
6
45149-31300-000 CUSHION,SEAT(40X20X15) |
45149-31300-000 |
from US $4.56 |
||
|
7
|
7
45149-43500-000 CUSHION,SEAT |
45149-43500-000 |
from US $4.80 |
||
|
8
|
8
09329-10001-000 CUSHIONCushion; |
09329-10001-000 |
from US $1.82 |
||
|
9
|
9
01550-0812B-000 BoltPlug, drain |
01550-0812B-000 |
from US $0.96 |
||
|
10
|
10
45119-42A00-000 PLATE,SEAT FR HOOKPlate, seat front hook |
45119-42A00-000 |
from US $3.24 |